TOP
|
特許
|
意匠
|
商標
特許ウォッチ
Twitter
他の特許を見る
公開番号
2025173445
公報種別
公開特許公報(A)
公開日
2025-11-27
出願番号
2024090301
出願日
2024-05-14
発明の名称
排水口に取り付ける排水装置のリリース排水機構。
出願人
株式会社日本ピット
代理人
主分類
E03C
1/23 20060101AFI20251119BHJP(上水;下水)
要約
【課題】食品工場における排水装置での排水溜りを無くして雑菌の繁殖防止、臭気の発生防止、汚れの付着防止を図り、定期的な洗浄を合理的に短時間にして省力化を有利に可能にし、又排水桝等の設置有効深さを小さく、排水本管勾配を含めた設備深さを大幅に浅くして設備コストの低減を図るリリース排水機構を提供する。
【解決手段】上部にグレーチング蓋101を載置し、その下方に網籠102を設け、その下方の空間の底部にリリース排水機構200を接続し、前記リリース排水機構200に排水管300を連結し、前記リリース排水機構200は、上端部の着脱部にネジ機構とつかみ部のユニット202を設け、前記ユニット202の下方に筒状排出管203を接続し、前記筒状排出管203の下部の排水口に導入排水重量で開口作動するカウンターウエイト付設のリリース弁205を配設したことを特徴とするリリース排水機構。
【選択図】図1
特許請求の範囲
【請求項1】
上部にグレーチング蓋(101)を載置し、その下方に網籠(102)を設け、その下方の空間の底部にリリース排水機構(200)を接続し、前記リリース排水機構(200)に排水管(300)を連結し、前記リリース排水機構(200)は、上端部の着脱部にネジ機構とつかみ部のユニット(202)を設け、前記ユニット(202)の下方に筒状排出管(203)を接続し、前記筒状排出管(203)の下部の排水口(208)に導入排水重量で開口作動するカウンターウエイト(206)付設のリリース弁(205)を配設したことを特徴とする排水装置のリリース排水機構。
続きを表示(約 160 文字)
【請求項2】
前記排水装置は、排水桝100又は床排水口500又は排水パン600であることを特徴とする請求項1に記載の排水装置のリリース排水機構。
【請求項3】
前記リリース排水機構(200)の内面に有機混入物の付着防止塗料(207)を塗布したことを特徴とする請求項1に記載のリリース排水機構。
発明の詳細な説明
【技術分野】
【0001】
本発明は、排水桝又は床排水口又は排水パン等の排水装置において、排水口近傍に、排水溜り及び含有有機物などが付着残留しないようにして悪臭の発生を抑制するリリース排水機構に関するものである。
続きを表示(約 2,300 文字)
【背景技術】
【0002】
従来の排水桝をはじめとする排水口の仕様は、上端部に通水用のグレーチング蓋を載置し、その下方に網籠を設け、下部に空間を設け、その底部に水封機構を介して排水管に連結したものである。
ところで従来、例えば排水桝における前記水封機構は、排水の一部がある水位以上になったところで排水管に排出するため、食品工場における排水桝等は、この水封機構における排水溜りでの雑菌の繁殖、臭気の発生、汚れの付着が著しい。このため定期的に洗浄するが洗浄には多くの時間と労力を要している。又設置有効深さが大きく、排水本管勾配を含めた設備深さが増大し設備コスト増となる。
【発明の開示】
【】
【発明を解決しようとする課題】
【0003】
本発明は、食品工場における排水桝又は床排水口又は排水パン等の排水装置での排水溜りを無くして雑菌の繁殖防止、臭気の発生防止、汚れの付着防止を図り、定期的な洗浄を合理的に短時間にして省力化を有利に可能にし、又排水桝等の設置有効深さを小さく、排水本管勾配を含めた設備深さを浅くして設備コストの低減を図るリリース排水機構を提供するものである。
【課題を解決する為の手段】
【0004】
前述の課題を解決する本校案の技術的特徴は次の(1)~(3)に記載の通りである。
(1)、排水装置の上部にグレーチング蓋(101)を載置し、その下方に網籠(102)を設け、その下方の空間の底部にリリース排水機構(200)を接続し、前記リリース排水機構(200)に排水管(300)を連結し、前記リリース排水機構(200)は、上端部の着脱部にネジ機構とつかみ部のユニット(202)を設け、前記ユニット(202)の下方に筒状排出管(203)を接続し、前記筒状排出管(203)の下部の排水口(208)に導入排水重量で開口作動するカウンターウエイト(206)付設のリリース弁(205)を配設したことを特徴とする排水装置のリリース排水機構。
(2)、前記排水装置は排水桝又は床排水口又は排水パンであることを特徴とする前記(1)に記載の排水装置のリリース排水機構。
(3)、前記リリース排水機構(200)の内面に有機混入物の付着防止塗料(207)を塗布したことを特徴とする前記(1)に記載の排水装置のリリース排水機構。
【発明の効果】
【0005】
本発明の前記排水装置における、前記リリース排水機構は、前記特徴のリリース弁付きの筒状排出管により、排水桝の設置有効深さを小さくし、排水本管勾配を含めた設備深さを浅くして設備コストの低減を図り、また食品工場における排水桝での排水溜りを無くして雑菌の繁殖防止、臭気の発生防止、汚れの付着防止を図り、定期的な洗浄を合理的に短時間にして省力化を有利に可能にする。
【図面の簡単な説明】
【0006】
排水装置として排水桝にリリース排水機構を適用した実施例1であり全体構成を示す縦断面説明図ある。
図1の排水桝におけるリリース排水機構200のリリース弁205の閉止状態を示す縦断面説明図である。
図2におけるリリース弁205の開口状態を示す縦断面説明図である。
図2に示すリリース弁205を底側から見た底面説明図である。
排水装置として床排水口500に前記リリース排水機構を適用した実施例2を示す簡略断面図である。
排水装置として排水パン600に前記リリース排水機構を適用した実施例3を示す簡略斜視図である。
【発明の実施するための形態】
【0007】
本発明を実施する為の形態について図1~図5に示す実施例と共に説明をする。本例は排水装置として排水桝にリリース排水機構を適用した例である。
【 実施例】
【0008】
実施例1は排水装置として排水桝100にリリース排水機構を適用した例である。
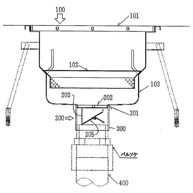
図1~図4において、排水桝100は、グレーチング蓋101と、排水中の夾雑物を網目部で収集する網籠102とその下部に空間を持つ桝本体103と、リリース排水機構200とからなる。
前記グレーチング蓋101と網籠102は上方に着脱可能に載置してある。
【0009】
リリース排水機構200は、桝本体103の底部開口部に排出管300を接続し、排出管300内に筒状排出管204を螺合接続し、この筒状排出管204の上部螺合部にはネジ加工と回転用のつかみ棒からなる螺合ユニット202を設え、筒状排出管204の下部の斜め切りの排水口208には菅内導入排水重量で開口作動するリリース弁205を配設してある。
リリース弁205は、筒状排出管204内に導入された排水重量で開口作動するためのカウンターウエイト206を付設してある。
また排出管300の下端部は排水集合管400に連結してある。
【0010】
カウンターウエイト206の重量Cwとリリース弁205の重量Bwとの重量関係は、リリース弁205の閉時はCw>Bwにして、リリース弁205の開時はCw<Bw+αにする。つまり筒状排出管204内に排水がない場合は常にリリース弁205を閉止状態にし、少しの排水量αが流入するとリリース弁205を開状態にして残留水を排出し、排水の残留を抑制する。
(【0011】以降は省略されています)
この特許をJ-PlatPat(特許庁公式サイト)で参照する
関連特許
丸一株式会社
排水配管部材
23日前
TOTO株式会社
トイレ装置
2か月前
株式会社田中設備
蓋体
1か月前
個人
ドクター中まミズつクル
2か月前
一文機工株式会社
トイレ装置
28日前
TOTO株式会社
排水システム
2か月前
TOTO株式会社
排水システム
2か月前
株式会社KVK
水栓
1か月前
TOTO株式会社
便座装置
3か月前
ミサワホーム株式会社
外構
2か月前
タイガースポリマー株式会社
側溝
3か月前
株式会社KVK
水栓
3か月前
株式会社KVK
水栓
3か月前
株式会社KVK
水栓
3か月前
TOTO株式会社
トイレ装置
3か月前
TOTO株式会社
トイレ装置
3か月前
TOTO株式会社
トイレ装置
3か月前
管清工業株式会社
管路内調査装置
7日前
ホーコス株式会社
床置型グリース阻集器
3か月前
管清工業株式会社
管路内調査装置
7日前
TOTO株式会社
浴室床
4か月前
TOTO株式会社
洗面器及び洗面台
3か月前
TOTO株式会社
洗面器及び洗面台
3か月前
クリナップ株式会社
キッチン
2か月前
三興建設株式会社
下水道バイパス装置
4か月前
株式会社Deto
吐水器
1か月前
共立製薬株式会社
小便器用排水システム
22日前
TOTO株式会社
排水管継手
4か月前
TOTO株式会社
排水管継手
4か月前
株式会社LIXIL
便器装置
3か月前
株式会社LIXIL
便器装置
2か月前
株式会社ファイン工業
透水性蓋の製造方法
7日前
飛島建設株式会社
仮設壁の構築方法
2か月前
TOTO株式会社
トイレシステム
4か月前
株式会社タカギ
水栓
2か月前
株式会社タカギ
水栓
2か月前
続きを見る
他の特許を見る