TOP
|
特許
|
意匠
|
商標
特許ウォッチ
Twitter
他の特許を見る
10個以上の画像は省略されています。
公開番号
2025173283
公報種別
公開特許公報(A)
公開日
2025-11-27
出願番号
2024078794
出願日
2024-05-14
発明の名称
包装装置及びプログラム
出願人
株式会社寺岡精工
代理人
弁理士法人英知国際特許商標事務所
主分類
B65B
31/00 20060101AFI20251119BHJP(運搬;包装;貯蔵;薄板状または線条材料の取扱い)
要約
【課題】
包装される食品ごとに最適な種類のガスを確実に使用することのできる包装装置を提供することを目的とする。
【解決手段】
トレイ内に不活性化ガス混合物を封入してガス置換包装を行う包装装置であって、封入するガスを変更可能なガス変更手段と、制御部とを、備え、前記制御部は、商品情報を記憶する商品情報記憶手段に、商品と封入されるガスの種類とを対応付けて設定記憶させることを特徴とする包装装置。
【選択図】 図34
特許請求の範囲
【請求項1】
トレイ内にガスを封入してガス置換包装を行う包装装置であって、
封入するガスを変更可能なガス変更手段と、制御部とを、備え、
前記制御部は、商品情報を記憶する商品情報記憶手段に、商品と封入されるガスの種類とを対応付けて設定記憶させる
ことを特徴とする包装装置。
続きを表示(約 620 文字)
【請求項2】
前記制御部は、所定のタイミングで商品に対応付けて設定記憶されたガスの種類を表示手段に表示させる
ことを特徴とする請求項1に記載の包装装置。
【請求項3】
前記制御部は、所定のタイミングで商品に対応付けて設定記憶されたガスの種類を音声として出力させる
ことを特徴とする請求項1に記載の包装装置。
【請求項4】
前記制御部は、商品と封入されるガスの種類とを対応付けて設定記憶する際に、当該ガスの種類を音声として出力させる
ことを特徴とする請求項1に記載の包装装置。
【請求項5】
複数種類のガスを切替えるガス切替手段を備え、
前記制御部は、包装を行う商品に応じて、商品に対応付けて設定記憶されたガスが使用可能となるように、前記ガス切替手段を切り替え制御する
ことを特徴とする請求項2または3に記載の包装装置。
【請求項6】
封入するガスを変更可能なガス変更手段を備え、トレイ内にガスを封入してガス置換包装を行う包装装置のコンピュータに、
商品と封入されるガスの種類とを対応付けて商品情報を記憶する商品情報記憶手段に設定記憶させる商品情報記憶ステップと、
所定のタイミングで商品に対応付けて設定記憶されたガスの種類を出力手段に出力させるガス種類出力ステップ
を実行させることを特徴とするプログラム。
発明の詳細な説明
【技術分野】
【0001】
本発明は被包装物を載せたトレイにフィルムを被せ、該フィルムを前記トレイの縁部に熱溶着する包装装置及びプログラムに関する。
続きを表示(約 3,400 文字)
【背景技術】
【0002】
従来の包装装置として、被包装物である食品を、計量はかりに載せ、次いでこれを、コンベア上に供給されるトレイ内に搬送し、トレイ内に不活性化ガス混合物を封入した状態で、トレイ上のフィルムの蓋にヒートシールするよう作動する装置、いわゆるガス置換包装装置がある(例えば、特許文献1参照)。
【先行技術文献】
【特許文献】
【0003】
特表2013-515654号公報
【発明の概要】
【発明が解決しようとする課題】
【0004】
ガス置換包装は、被包装物の賞味期限を延長するために行われるものであり、空気を不活性化ガスに置換することにより行われる。不活性化ガスは、窒素、二酸化炭素、酸素の3種類の気体比率が調整された上で混合されたものである。酸素は、賞味期限を延長する上では不利であるが、酸素無しでは、食品の種類によって、黒ずみが生じてしまうため、敢えて、酸素が混入されることがある。一方で、酸素無しでも黒ずみが生じない食品もある。本来的には、食品に応じて、気体比率が細やかに調整されることが望ましい。
しかし、特許文献1に記載の包装装置は、1種類の不活性化ガス混合物を封入した状態で包装を行なうものであって、包装される食品ごとに最適な種類のガスを用いることには目が向けられていない。ここで、複数種類のガスを利用できるように、例えば、複数のガスボンベを用意しておき、適宜切り替えて使用することが考えられる。しかし、商品と封入するガスの対応付けを誤って切替えてしまうと、賞味期限延長包装が適切に行われない虞があった。
【0005】
本発明は、このような問題に対処することを課題とするものであり、包装される食品ごとに最適な種類のガスを確実に使用することのできる包装装置を提供することを目的とするものである。
【課題を解決するための手段】
【0006】
本発明の包装装置は、少なくとも以下の構成を具備するものである。
トレイ内にガスを封入してガス置換包装を行う包装装置であって、封入するガスを変更可能なガス変更手段と、制御部とを、備え、前記制御部は、商品情報を記憶する商品情報記憶手段に、商品と封入されるガスの種類とを対応付けて設定記憶させることを特徴とする包装装置である。
ここで、封入するガスを変更可能とは、予め用意された複数種類の気体混合ガスを封入した複数のガスボンベを単純に切り替える態様と、異なる種類の気体をそれぞれ封入した複数のガスボンベを混合弁にて制御して混合割合を変更する態様と、両者を含めた上位の概念で変更可能であることを指す。
また、本発明のプログラムは、少なくとも以下の構成を具備するものである。
封入するガスを変更可能なガス変更手段を備え、トレイ内にガスを封入してガス置換包装を行う包装装置のコンピュータに、商品と封入されるガスの種類とを対応付けて商品情報を記憶する商品情報記憶手段に設定記憶させる商品情報記憶ステップと、所定のタイミングで商品に対応付けて設定記憶されたガスの種類を出力手段に出力させるガス種類出力ステップを実行させることを特徴とするプログラムである。
ここで「出力手段」とは、表示部やスピーカ等の報知手段を指し、また、「出力させる」とは表示制御や音声出力制御を行うことを意味する。
【発明の効果】
【0007】
本発明によれば、包装される食品ごとに最適な種類のガスを確実に使用することのできる包装装置を提供することができる。
【図面の簡単な説明】
【0008】
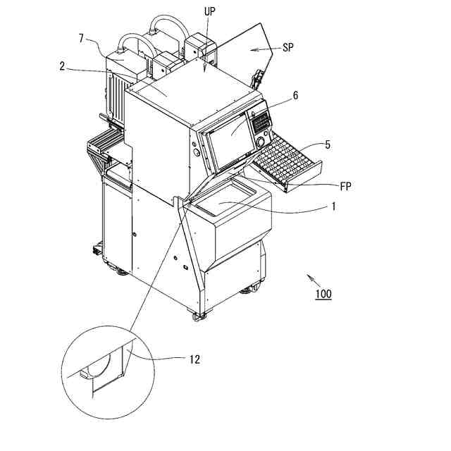
本発明の実施形態に係る包装装置の外観を示す右斜視図である。
本発明の実施形態に係る包装装置の外観を示す左斜視図である。
本発明の実施形態に係る包装装置の外観を示す上面図である。
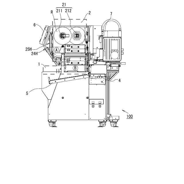
本発明の実施形態に係る包装装置の右側面図である。
計量手段と包装手段の(機枠の一部を外した)右側面図である。
計量手段と包装手段の(機枠の一部を外した)右斜視図である。
上抜型及び上抜型フォルダを説明する正断面図であって、図7(a)は上抜型非装填時の上抜型フォルダを、図7(b)は上抜型単体を、図7(c)は上抜型フォルダに上抜型が装填されている様子を、それぞれ示している。
上抜型を示す図であって、図8(a)は上面図、図8(b)は正面図、図8(c)は底面図、図8(d)は上方斜視図、図8(e)は下方斜視図である。
上抜型から、運搬時把持部分を外した状態を描いた図であって、図9(a)は上面図、図9(b)は正面図、図9(c)は底面図、図9(d)は上方斜視図、図9(e)は下方斜視図である。
上抜型から、運搬時把持部分を外し、さらに、金属板及び周囲底板を省いて描いた図であって、図10(a)は上面図、図10(b)は正面図、図10(c)は底面図、図10(d)は上方斜視図、図10(e)は下方斜視図である。
上抜型フォルダに上抜型が装填されている様子を示す図であって、図11(a)は上面図、図11(b)は正面図、図11(c)は底面図、図11(d)は上方斜視図、図11(e)は右側面図、図11(f)は熱伝達部材を示す概念図である。
上抜型フォルダに上抜型が装填されていない様子を示す図であって、図12(a)は上面図、図12(b)は正面図、図12(c)は底面図、図12(d)は上方斜視図、図12(e)は右側面図、図12(f)は図12(d)のD部分拡大図である。
下抜型を説明する図であって、図13(a)は上面図を、図13(b)は側断面図を、それぞれ示している。
下抜型フォルダに下抜型を取り付け取外しする様子を示す斜視図である。
上抜型及び下抜型の別例を説明する図である。
装填状態判定の作用機序を説明する図である。
抜型に対する各種処理の流れを示すフロー図である。
表示画面のレイアウト例を示す図である。
表示画面のレイアウト例を示す図である。
表示画面のレイアウト例を示す図である。
表示画面のレイアウト例を示す図である。
表示画面のレイアウト例を示す図である。
下抜型の側断面図の一部拡大図である。
上抜型に対して、下抜型が押し上げられる際の状態の変化を示す側断面図である。
抜型収容手段に上抜型及び下抜型が収容される様子を示す右斜視図である。
抜型収容手段に上抜型及び下抜型が収容される様子を示す右側面図である。
本発明の実施形態に係る包装装置のガス供給形態のシステム構成図である。
表示画面のレイアウト例を示す図である。
表示画面のレイアウト例を示す図である。
表示画面のレイアウト例を示す図である。
ラベル表示の例を示す図である。
表示画面のレイアウト例を示す図である。
表示画面のレイアウト例を示す図である。
表示画面のレイアウト例を示す図である。
【発明を実施するための形態】
【0009】
以下、本発明に係る包装装置の実施の形態の一例を図面に基づいて説明するが、以下の図面は説明を目的に作成されたもので、分かりやすくするため、説明に不要な部材を意図的に図示していない場合がある。また、説明のため部材を意図的に大きくまたは小さく図示している場合があり、正確な縮尺を示す図面ではない。なお、以下の説明で、異なる図における同一符号は同一機能の部位を示しており、各図における重複説明は適宜省略する。
【0010】
(全体構成)
図1~図4は、本発明の実施形態に係る包装装置の外観を示すものであって、図1は右斜視図であり、図2は左斜視図であり、図3は上面図であり、図4は右側面図である。図5及び6は、特に、計量手段と包装手段について示すものであって、図5は(機枠の一部を外した)右側面図であって、図6は(機枠の一部を外した)右斜視図である。
(【0011】以降は省略されています)
この特許をJ-PlatPat(特許庁公式サイト)で参照する
関連特許
株式会社寺岡精工
包装装置
今日
株式会社寺岡精工
商品登録システム
1か月前
株式会社寺岡精工
販売データ処理装置
1か月前
株式会社寺岡精工
ペットボトル回収装置
20日前
株式会社寺岡精工
包装装置及びプログラム
今日
株式会社寺岡精工
販売データ処理装置、およびプログラム
1か月前
株式会社寺岡精工
注文システム及びコンピュータプログラム
1か月前
株式会社寺岡精工
受付管理システム及びコンピュータプログラム
15日前
株式会社寺岡精工
プログラム、携帯端末、システム、サーバ及び報知方法
1か月前
株式会社寺岡精工
計量装置、計量システム、及びコンピュータプログラム
21日前
株式会社寺岡精工
販売データ処理装置、モード制御方法、およびプログラム
21日前
株式会社寺岡精工
取引状況監視装置
1か月前
株式会社寺岡精工
電子棚札管理システム
20日前
株式会社寺岡精工
商品販売データ処理装置
1か月前
株式会社寺岡精工
プログラム、情報処理装置、システム、サーバ及び商品投入取出認識方法
28日前
株式会社寺岡精工
計量装置、計量システム、プログラム
1か月前
株式会社寺岡精工
販売データ処理装置、およびプログラム
28日前
株式会社寺岡精工
商品販売データ処理装置、及びプログラム
9日前
株式会社寺岡精工
POSシステム、精算装置、及びプログラム
1か月前
株式会社寺岡精工
商品販売データ処理装置、およびプログラム
28日前
株式会社寺岡精工
商品販売データ処理装置、およびプログラム
20日前
株式会社寺岡精工
包装機及び包装機のイベント監視プログラム
13日前
株式会社寺岡精工
商品販売データ処理装置、及び、プログラム
28日前
株式会社寺岡精工
商品販売データ処理システム、端末装置及びプログラム
20日前
株式会社寺岡精工
商品データ処理装置、商品データ処理システム、商品データ処理装置用プログラム、及び商品データ処理システム用プログラム
1か月前
個人
収容箱
4か月前
個人
束ね具
16日前
個人
コンベア
6か月前
個人
容器
10か月前
個人
段ボール箱
8か月前
個人
ゴミ収集器
8か月前
個人
段ボール箱
7か月前
個人
テープ引出機
16日前
個人
土嚢運搬器具
9か月前
個人
バンド
3か月前
個人
宅配システム
8か月前
続きを見る
他の特許を見る