TOP
|
特許
|
意匠
|
商標
特許ウォッチ
Twitter
他の特許を見る
10個以上の画像は省略されています。
公開番号
2025173284
公報種別
公開特許公報(A)
公開日
2025-11-27
出願番号
2024078796
出願日
2024-05-14
発明の名称
包装装置
出願人
株式会社寺岡精工
代理人
弁理士法人英知国際特許商標事務所
主分類
B65B
59/04 20060101AFI20251119BHJP(運搬;包装;貯蔵;薄板状または線条材料の取扱い)
要約
【課題】
フィルムと干渉することなく、容易に抜型交換を行うことのできる包装装置を提供することを目的とする。
【解決手段】
複数サイズの容器にフィルムをシールするために、複数の抜型を交換可能な包装装置であって、前記複数の抜型を装着可能とする装着手段と、前記容器の包装を行うフィルムを保持するフィルム保持手段と、前記容器のシール時に余ったフィルムを巻き取る余剰フィルム巻取手段と、前記抜型の交換を指示する交換指示手段と、各種制御を実行する制御部と、を備え、前記フィルム保持手段と前記余剰フィルム巻取手段は、前記装着手段の上方かつ近傍に配置され、前記フィルムは、前記装着手段の下方かつ近傍に吊架され、前記制御部は、前記フィルムと前記装着手段とを離間させる制御を行うことを特徴とする包装装置。
【選択図】 図5
特許請求の範囲
【請求項1】
複数サイズの容器にフィルムをシールするために、複数の抜型を交換可能な包装装置であって、
前記複数の抜型を装着可能とする装着手段と、前記容器の包装を行うフィルムを保持するフィルム保持手段と、前記容器のシール時に余ったフィルムを巻き取る余剰フィルム巻取手段と、抜型の交換を指示する交換指示手段と、各種制御を実行する制御部と、を備え、
前記フィルム保持手段と前記余剰フィルム巻取手段は、前記装着手段の上方かつ近傍に配置され、
前記フィルムは、前記装着手段の下方かつ近傍に吊架され、
前記制御部は、前記フィルムと前記装着手段とを離間させる制御を行う
ことを特徴とする包装装置。
続きを表示(約 690 文字)
【請求項2】
前記制御部による前記フィルムと前記装着手段との離間は、前記フィルム保持手段または前記余剰フィルム巻取手段の一方又は両方を回転させることによって実現される
ことを特徴とする請求項1に記載の包装装置。
【請求項3】
前記制御部による前記フィルムと前記装着手段との離間は、ダンサーローラを移動させることによって実現される
ことを特徴とする請求項1に記載の包装装置。
【請求項4】
抜型の交換が完了した旨を確認のため入力する確認入力手段を備え、
前記制御部は、前記確認入力手段が操作された場合に、離間させた前記フィルムと前記装着手段とを近接させる
ことを特徴とする請求項1~3の何れか一項に記載の包装装置。
【請求項5】
複数サイズの容器にフィルムをシールするために、複数の抜型を交換可能な包装装置であって、
前記複数の抜型を装着可能とする装着手段と、前記容器の包装を行うフィルムを保持するフィルム保持手段と、前記容器のシール時に余ったフィルムを巻き取る余剰フィルム巻取手段と、抜型の交換を指示する交換指示手段と、各種制御を実行する制御部と、を備え、
前記フィルム保持手段と前記余剰フィルム巻取手段は、前記装着手段の上方かつ近傍に配置され、
前記フィルムは、前記装着手段の下方かつ近傍に吊架され、
前記制御部は、前記交換指示手段が操作された場合に、前記フィルム保持手段及び/又は前記余剰フィルム巻取手段を回転操作可能とする
ことを特徴とする包装装置。
発明の詳細な説明
【技術分野】
【0001】
本発明は被包装物を載せたトレイにフィルムを被せ、該フィルムを前記トレイの縁部に熱溶着する包装装置に関する。
続きを表示(約 3,500 文字)
【背景技術】
【0002】
従来の包装装置として、被包装物である食品を、計量はかりに載せ、次いでこれを、コンベア上に供給されるトレイ内に搬送し、トレイ上のフィルムの蓋にヒートシールするよう作動する包装装置がある(例えば、特許文献1参照)。
【先行技術文献】
【特許文献】
【0003】
特表2013-515654号公報
【発明の概要】
【発明が解決しようとする課題】
【0004】
特許文献1に記載の包装装置は、包装される食品を計量した後、当該食品を、コンベア上のトレイ内に手作業等により搬送しヒートシールを行った後、コンベアで移送されて重量選別され、さらに、ラベル貼付を行うラベラーへとコンベアで移送されるものである。このように、特許文献1に記載の包装装置は、コンベア上に計量装置、ヒートシール装置、重量選別機、ラベラー等の各種機器が分散配置されるものであり、生産ラインに沿って大きなスペースを取るものであった。
本発明者らは、包装に必要とされる各種機器を1つの筐体に効率よく配置して省スペース化に寄与する包装装置を開発した。当該包装装置では、サイズの異なるトレイでの包装に対応するため、ヒートシールを行うための抜型として複数のサイズの抜型を用意し、これを交換して使用できる機能も備えられている。
しかし、省スペース化を追求する余り、ヒートシールを行うための抜型と熱溶着されるフィルムの取り回し箇所を近接して配置してしまうと、交換時の抜型の抜き差しに際して、抜型がフィルムに引っ掛かってしまうという問題が生じる。
【0005】
本発明は、このような問題に対処することを課題とするものであり、フィルムと干渉することなく、容易に抜型交換を行うことのできる包装装置を提供することを目的とするものである。
【課題を解決するための手段】
【0006】
本発明の包装装置は、少なくとも以下の構成を具備するものである。
複数サイズの容器にフィルムをシールするために、複数の抜型を交換可能な包装装置であって、前記複数の抜型を装着可能とする装着手段と、前記容器の包装を行うフィルムを保持するフィルム保持手段と、前記容器のシール時に余ったフィルムを巻き取る余剰フィルム巻取手段と、抜型の交換を指示する交換指示手段と、各種制御を実行する制御部と、を備え、前記フィルム保持手段と前記余剰フィルム巻取手段は、前記装着手段の上方かつ近傍に配置され、前記フィルムは、前記装着手段の下方かつ近傍に吊架され、前記制御部は、前記フィルムと前記装着手段とを離間させる制御を行うことを特徴とする包装装置である。
また、本発明の包装装置は、少なくとも以下の構成を具備するものである。
複数サイズの容器にフィルムをシールするために、複数の抜型を交換可能な包装装置であって、前記複数の抜型を装着可能とする装着手段と、前記容器の包装を行うフィルムを保持するフィルム保持手段と、前記容器のシール時に余ったフィルムを巻き取る余剰フィルム巻取手段と、前記抜型の交換を指示する交換指示手段と、各種制御を実行する制御部と、を備え、前記フィルム保持手段と前記余剰フィルム巻取手段は、前記装着手段の上方かつ近傍に配置され、前記フィルムは、前記装着手段の下方かつ近傍に吊架され、前記制御部は、前記交換指示手段が操作された場合に、前記フィルム保持手段及び/又は前記余剰フィルム巻取手段を回転操作可能とすることを特徴とする包装装置である。
【発明の効果】
【0007】
本発明によれば、フィルムと干渉することなく、容易に抜型交換を行うことのできる包装装置を提供することができる。
【図面の簡単な説明】
【0008】
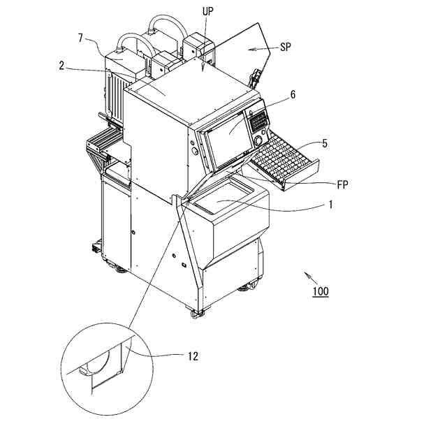
本発明の実施形態に係る包装装置の外観を示す右斜視図である。
本発明の実施形態に係る包装装置の外観を示す左斜視図である。
本発明の実施形態に係る包装装置の外観を示す上面図である。
本発明の実施形態に係る包装装置の右側面図である。
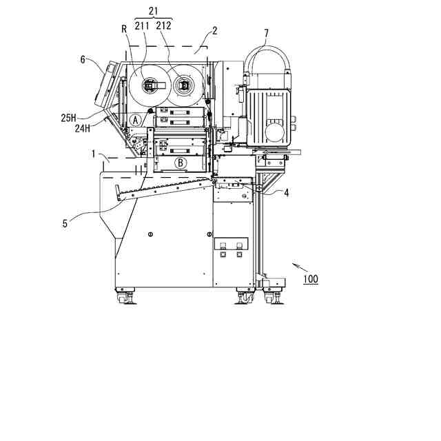
計量手段と包装手段の(機枠の一部を外した)右側面図である。
計量手段と包装手段の(機枠の一部を外した)右斜視図である。
上抜型及び上抜型フォルダを説明する正断面図であって、図7(a)は上抜型非装填時の上抜型フォルダを、図7(b)は上抜型単体を、図7(c)は上抜型フォルダに上抜型が装填されている様子を、それぞれ示している。
上抜型を示す図であって、図8(a)は上面図、図8(b)は正面図、図8(c)は底面図、図8(d)は上方斜視図、図8(e)は下方斜視図である。
上抜型から、運搬時把持部分を外した状態を描いた図であって、図9(a)は上面図、図9(b)は正面図、図9(c)は底面図、図9(d)は上方斜視図、図9(e)は下方斜視図である。
上抜型から、運搬時把持部分を外し、さらに、金属板及び周囲底板を省いて描いた図であって、図10(a)は上面図、図10(b)は正面図、図10(c)は底面図、図10(d)は上方斜視図、図10(e)は下方斜視図である。
上抜型フォルダに上抜型が装填されている様子を示す図であって、図11(a)は上面図、図11(b)は正面図、図11(c)は底面図、図11(d)は上方斜視図、図11(e)は右側面図、図11(f)は熱伝達部材を示す概念図である。
上抜型フォルダに上抜型が装填されていない様子を示す図であって、図12(a)は上面図、図12(b)は正面図、図12(c)は底面図、図12(d)は上方斜視図、図12(e)は右側面図、図12(f)は図12(d)のD部分拡大図である。
下抜型を説明する図であって、図13(a)は上面図を、図13(b)は側断面図を、それぞれ示している。
下抜型フォルダに下抜型を取り付け取外しする様子を示す斜視図である。
上抜型及び下抜型の別例を説明する図である。
装填状態判定の作用機序を説明する図である。
抜型に対する各種処理の流れを示すフロー図である。
表示画面のレイアウト例を示す図である。
表示画面のレイアウト例を示す図である。
表示画面のレイアウト例を示す図である。
表示画面のレイアウト例を示す図である。
表示画面のレイアウト例を示す図である。
下抜型の側断面図の一部拡大図である。
上抜型に対して、下抜型が押し上げられる際の状態の変化を示す側断面図である。
抜型収容手段に上抜型及び下抜型が収容される様子を示す右斜視図である。
抜型収容手段に上抜型及び下抜型が収容される様子を示す右側面図である。
本発明の実施形態に係る包装装置のガス供給形態のシステム構成図である。
表示画面のレイアウト例を示す図である。
表示画面のレイアウト例を示す図である。
表示画面のレイアウト例を示す図である。
ラベル表示の例を示す図である。
表示画面のレイアウト例を示す図である。
表示画面のレイアウト例を示す図である。
表示画面のレイアウト例を示す図である。
【発明を実施するための形態】
【0009】
以下、本発明に係る包装装置の実施の形態の一例を図面に基づいて説明するが、以下の図面は説明を目的に作成されたもので、分かりやすくするため、説明に不要な部材を意図的に図示していない場合がある。また、説明のため部材を意図的に大きくまたは小さく図示している場合があり、正確な縮尺を示す図面ではない。なお、以下の説明で、異なる図における同一符号は同一機能の部位を示しており、各図における重複説明は適宜省略する。
【0010】
(全体構成)
図1~図4は、本発明の実施形態に係る包装装置の外観を示すものであって、図1は右斜視図であり、図2は左斜視図であり、図3は上面図であり、図4は右側面図である。図5及び6は、特に、計量手段と包装手段について示すものであって、図5は(機枠の一部を外した)右側面図であって、図6は(機枠の一部を外した)右斜視図である。
(【0011】以降は省略されています)
この特許をJ-PlatPat(特許庁公式サイト)で参照する
関連特許
株式会社寺岡精工
包装装置
今日
株式会社寺岡精工
商品登録システム
1か月前
株式会社寺岡精工
販売データ処理装置
1か月前
株式会社寺岡精工
ペットボトル回収装置
20日前
株式会社寺岡精工
包装装置及びプログラム
今日
株式会社寺岡精工
販売データ処理装置、およびプログラム
1か月前
株式会社寺岡精工
精算装置、システム、およびプログラム
2か月前
株式会社寺岡精工
注文システム及びコンピュータプログラム
1か月前
株式会社寺岡精工
受付管理システム及びコンピュータプログラム
15日前
株式会社寺岡精工
計量装置、計量システム、及びコンピュータプログラム
21日前
株式会社寺岡精工
プログラム、携帯端末、システム、サーバ及び報知方法
2か月前
株式会社寺岡精工
プログラム、携帯端末、システム、サーバ及び報知方法
1か月前
株式会社寺岡精工
販売データ処理装置、モード制御方法、およびプログラム
21日前
株式会社寺岡精工
取引状況監視装置
1か月前
株式会社寺岡精工
電子棚札管理システム
20日前
株式会社寺岡精工
プログラム、情報処理装置、システム、サーバ及び商品投入取出認識方法
28日前
株式会社寺岡精工
商品販売データ処理装置
1か月前
株式会社寺岡精工
商品情報処理装置、プログラム
1か月前
株式会社寺岡精工
計量装置、計量システム、プログラム
1か月前
株式会社デジアイズ
炭酸水製造装置
1か月前
株式会社寺岡精工
販売データ処理装置、およびプログラム
28日前
株式会社寺岡精工
商品販売データ処理装置、及びプログラム
9日前
株式会社寺岡精工
商品販売データ処理装置、およびプログラム
20日前
株式会社寺岡精工
POSシステム、精算装置、及びプログラム
1か月前
株式会社寺岡精工
包装機及び包装機のイベント監視プログラム
13日前
株式会社寺岡精工
商品販売データ処理装置、及び、プログラム
28日前
株式会社寺岡精工
商品販売データ処理装置、およびプログラム
28日前
株式会社寺岡精工
情報処理システム、情報処理装置及びプログラム
1か月前
株式会社寺岡精工
商品販売データ処理システム、端末装置及びプログラム
20日前
株式会社寺岡精工
商品データ処理装置、商品データ処理システム、商品データ処理装置用プログラム、及び商品データ処理システム用プログラム
1か月前
デジシンガポール ピーティイー リミテッド
商品販売データ処理システム、計量装置
1か月前
個人
収容箱
4か月前
個人
束ね具
16日前
個人
コンベア
6か月前
個人
容器
10か月前
個人
段ボール箱
8か月前
続きを見る
他の特許を見る