TOP
|
特許
|
意匠
|
商標
特許ウォッチ
Twitter
他の特許を見る
公開番号
2025172840
公報種別
公開特許公報(A)
公開日
2025-11-26
出願番号
2025140970,2024028165
出願日
2025-08-27,2019-01-31
発明の名称
UE、AMF、UEの方法及びAMFの方法
出願人
日本電気株式会社
代理人
個人
主分類
H04W
4/14 20090101AFI20251118BHJP(電気通信技術)
要約
【課題】ネットワーク内のSMS subscriptionが変更された場合に、UEにSMS subscriptionを示す効果的な方法およびシステムを提供すること。
【解決手段】本開示は、SMS subscriptionが変更した場合におけるnetwork initiated procedureにおいてUEがNASを介したSMSを送信することが許可されていることをネットワークがUEへ示し、UEがUDMにおいて「SMS service is not allowed」とするsubscription dataを有するために、UEがNASを介したSMSサービスを利用することができない状態のRegistration procedureが正常に行われた後にUEが5GSへ登録される、方法及びシステムを提供する。
【選択図】図1
特許請求の範囲
【請求項1】
第1のregistration procedureにおいて、Short Message Service (SMS)が利用可能でないことを示す情報を含むregistration acceptメッセージをAccess and mobility Management Function(AMF)から受信する手段と、
前記第1のregistration procedureの後に、User Equipment(UE)がNon-Access Stratum (NAS)を介したSMSを利用可能であることを示すSMS indicationを含むConfiguration Update Commandメッセージを前記AMFから受信する手段と、
を備えるUE。
続きを表示(約 1,700 文字)
【請求項2】
前記SMS indicationが、User Equipment(UE)がNon-Access Stratum (NAS)を介したSMSを利用可能であることを示す場合、Configuration update procedureの後に、第2のregistration procedureを実行するためのregistration requestメッセージを前記AMFへ送信する手段
をさらに備える請求項1に記載のUE。
【請求項3】
Configuration update procedureの完了後に、前記SMS indicationに基づいて、前記NASを介したSMSのための第2のregistration procedureを実行しないことを決定する手段
をさらに備える請求項1に記載のUE。
【請求項4】
Configuration update procedureの完了後に、前記NASを介したSMSを実行する手段
をさらに備える請求項1乃至3のいずれか1項に記載のUE。
【請求項5】
Configuration update procedureの完了後に、前記NASを介したSMSを使用する手段
をさらに備える請求項1乃至3のいずれか1項に記載のUE。
【請求項6】
第1のregistration procedureにおいて、Short Message Service (SMS)が利用可能でないことを示す情報を含むregistration acceptメッセージをUser Equipment(UE)へ送信する手段と、
前記第1のregistration procedureの後に、前記UEがNon-Access Stratum (NAS)を介したSMSを利用可能であることを示すSMS indicationを含むConfiguration Update Commandメッセージを前記UEへ送信する手段と、
を備えるAccess and mobility Management Function(AMF)。
【請求項7】
前記SMS indicationが、User Equipment(UE)がNon-Access Stratum (NAS)を介したSMSを利用可能であることを示す場合、Configuration update procedureの後に、第2のregistration procedureを実行するためのregistration requestメッセージを前記UEから受信する手段
をさらに備える請求項6に記載のAMF。
【請求項8】
Configuration update procedureの完了後に、前記NASを介したSMSを実行する手段
をさらに備える請求項6又は7に記載のAMF。
【請求項9】
Configuration update procedureの完了後に、前記NASを介したSMSを使用する手段
をさらに備える請求項6又は7に記載のAMF。
【請求項10】
第1のregistration procedureにおいて、Short Message Service (SMS)が利用可能でないことを示す情報を含むregistration acceptメッセージをAccess and mobility Management Function(AMF)から受信し、
前記第1のregistration procedureの後に、User Equipment(UE)がNon-Access Stratum (NAS)を介したSMSを利用可能であることを示すSMS indicationを含むConfiguration Update Commandメッセージを前記AMFから受信する、
UEの方法。
(【請求項11】以降は省略されています)
発明の詳細な説明
【技術分野】
【0001】
本開示は、ネットワーク内のSMS subscriptionの変更時にUEにSMS subscriptionをしめす方法およびシステムに関する。
続きを表示(約 3,000 文字)
【背景技術】
【0002】
5Gシステムの3GPP標準仕様では、SMSが通信のオプションサービスとして記述されている。したがって、Access and Mobility Management Function(AMF)は、加入者データ変更通知(subscriber data change notification)を用いてUnified Data Management (UDM)へ登録してもよい。SMSサービスの加入者データがユーザのためのUDMにおいて変更され、その変更がAMFにおけるユーザープロファイルに影響を与える場合はいつでも、UDMは、Nudm_SDM_UpdateNotification service operationを呼び出すことによって、AMFにこれらの変更を通知してもよい。それから、AMFは、ユーザープロファイルを更新する。
【0003】
つまり、NASを介したSMS(SMS over Non-Access Stratum(NAS))サービスの加入者データが変更された場合 (例:許可されていないNASを介したSMSから許可されているNASを介したSMSへ、許可されているNASを介したSMSから許可されていないNASを介したSMSへ)、UDMはこの変更をAMFに通知する。
【0004】
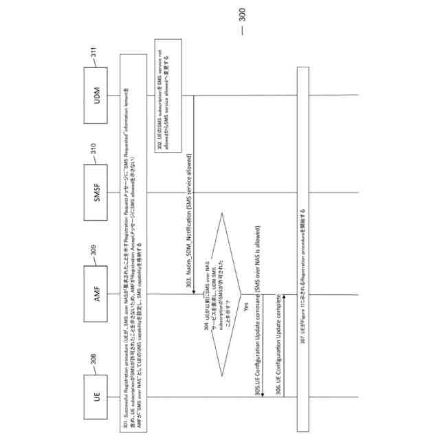
3GPP仕様書、具体的には非特許文献1および非特許文献2において、5Gシステム (5GS) のSMS登録手順(registration procedure)が開示されており、User Equipment(UE)がNASを介したSMSサービスを使用したい場合(つまり、NASを介したSMSを送受信する)、UEはNAS service capabilityにおいて例えば、「SMS supported」 indicationを示し、Initial Registration procedureまたはre-registration procedure中に「SMS supported」 indicationをAMFに送信する。AMFはUDMからSubscription dataを取得する。「SMS supported」indicationを受信したAMFは、UEのSMS subscriptionをさらにチェックする。SMS subscriptionがUEに対してSMSサービスを許可することを示している場合、AMFはUEのSMS function(SMSF)を選択し、選択したSMSFへ、ユーザーのSMSサービスをアクティブにするために要求メッセージ (例:Nsmsf_SMServive_Activate_Request) を送信する。SMSFがUEのためのUDMを検出した後、SMSFは、UEがinitial registrationまたはre-registration procedureを開始したアクセスタイプ (例:3GPPアクセス(3GPP access)または非3GPPアクセス(non-3GPP access))におけるSMSサービスのためにSMSFを登録する。SMSFは、UE SMS subscription dataとSMS management subscription dataをUDMから取得する。SMSFは、また、UEのSMSサービスが正常にアクティブ化されたことを示す応答メッセージ(例:Nsmsf_SMServive_Activate_Response)をAMFに送信する。AMFは、UEがNASを介したSMSを許可されていることを示すRegistration Accept messageをUEに送信する。
【0005】
この手順が正常に完了すると、 UEは、NASを介したSMSを送信するために上位レイヤからの要求に応じてネットワークへNASを介したSMSを送信するか、ネットワークからNASを介したSMSを受信することができる。「SMS supported」 indication は、5Gコアネットワーク (5GC) を使用して、3GPPアクセスネットワークまたは非3GPPアクセスネットワークを介してSMSメッセージを送受信するUE capabilityである。
【先行技術文献】
【非特許文献】
【0006】
非特許文献1:TS 23.501 V 15.2 .0 (2018-6)
【0007】
非特許文献2:TS 23.502 V 15.2 .0 (2018-6)
【発明の概要】
【発明が解決しようとする課題】
【0008】
しかし、3GPP仕様書に記載されている手順では、以下の2つの問題が発生する。最初の問題は、UEがAMFに対して、NASを介したSMSサービスの登録をAMFへ要求するためにregistration procedureにおいて「SMS support」indicationを示したときに発生する可能性がある。AMFは、UEがNASを介したSMSサービスに加入しているかどうかをチェックする。UEがNASを介したSMSサービスに加入していない場合、AMFはUEにNASを介したSMSサービスが許可されていないことを示す。その後、UEはNASを介したSMSを送信しない。
【0009】
UEが、NASを介したSMSサービスの使用が許可されない状態でAMFに登録された後、UEは、UDMでUEのsubscriptionプロファイルを更新することによってNASを介したSMSサービスに加入するかもしれない。この場合、UDMは登録されたAMFにUEがNASを介したSMSサービスに加入していることを通知する。しかし、現行の3GPP標準仕様では、UEが現在NASを介したSMSに加入しており、NASを介したSMSサービスを利用できることを、AMFがUEに示す方法がない。AMFがUEにsubscriptionの更新を通知できないため、UEがNASを介したSMSサービスに加入していても、UEはNASを介したSMSサービスを送信できない。また、AMFは、UEがNASを介したSMSサービスが許可されていることをまだ通知していないことを認識しているため、ネットワークはNASを介したSMSをUEに送信できない。
【0010】
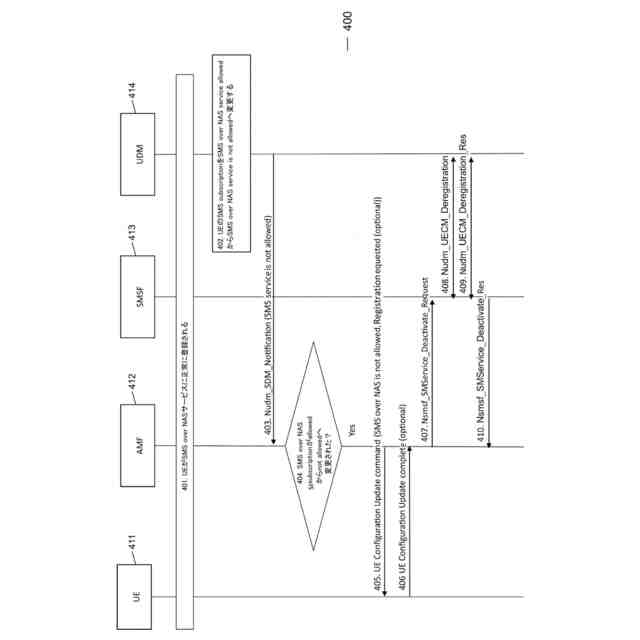
また、UEがNASを介したSMSサービスの登録をAMFに要求するためにregistration procedureにおいてAMFへ、「SMS support」indicationを示す場合に、別の問題が発生する可能性がある。AMFは、UEがNASを介したSMSサービスに加入しているかどうかをチェックする。NASを介したSMSがUEに許可されている場合、AMFはregistration procedureにおいて、UEにNASを介したSMSが許可されていることを示す。UEのSMS subscriptionが削除された場合、ネットワークは、NASを介したSMSがもはや許可されていないことをUEに示す手順を有さない。
(【0011】以降は省略されています)
この特許をJ-PlatPat(特許庁公式サイト)で参照する
関連特許
個人
イヤーピース
19日前
個人
イヤーマフ
1か月前
個人
監視カメラシステム
1か月前
個人
スイッチシステム
27日前
キーコム株式会社
光伝送線路
1か月前
個人
スキャン式車載用撮像装置
1か月前
サクサ株式会社
中継装置
1か月前
サクサ株式会社
中継装置
1か月前
株式会社リコー
画像形成装置
1か月前
個人
映像表示装置、及びARグラス
28日前
ヤマハ株式会社
放音制御装置
27日前
キヤノン電子株式会社
画像読取装置
1か月前
サクサ株式会社
無線通信装置
1か月前
キヤノン電子株式会社
画像読取装置
19日前
サクサ株式会社
無線通信装置
1か月前
個人
ワイヤレスイヤホン対応耳掛け
2か月前
サクサ株式会社
無線システム
1か月前
キヤノン電子株式会社
画像読取装置
27日前
日本電気株式会社
海底分岐装置
1か月前
キヤノン株式会社
情報処理装置
6日前
キヤノン電子株式会社
シート搬送装置
19日前
キヤノン株式会社
画像処理装置
22日前
個人
発信機及び発信方法
1か月前
株式会社NTTドコモ
端末
1か月前
有限会社フィデリックス
マイクロフォン
1か月前
シャープ株式会社
端末装置
1か月前
株式会社NTTドコモ
端末
1か月前
株式会社NTTドコモ
端末
1か月前
沖電気工業株式会社
画像形成装置
1か月前
日本セラミック株式会社
超音波送受信器
6日前
シャープ株式会社
表示装置
19日前
キヤノン電子株式会社
画像処理システム
1か月前
シャープ株式会社
表示装置
19日前
沖電気工業株式会社
画像形成装置
1か月前
株式会社NTTドコモ
端末
1か月前
株式会社NTTドコモ
端末
1か月前
続きを見る
他の特許を見る