TOP
|
特許
|
意匠
|
商標
特許ウォッチ
Twitter
他の特許を見る
10個以上の画像は省略されています。
公開番号
2025172461
公報種別
公開特許公報(A)
公開日
2025-11-26
出願番号
2024077983
出願日
2024-05-13
発明の名称
圧力調整弁
出願人
株式会社鷺宮製作所
代理人
弁理士法人谷・阿部特許事務所
主分類
F16K
17/04 20060101AFI20251118BHJP(機械要素または単位;機械または装置の効果的機能を生じ維持するための一般的手段)
要約
【課題】弁座に対する弁体のハンチングの頻度を低減させるとともに、感圧用ベローズによる、微小な圧力変化に対する高い応答性を確実に維持することができる圧力調整弁を提供することである。
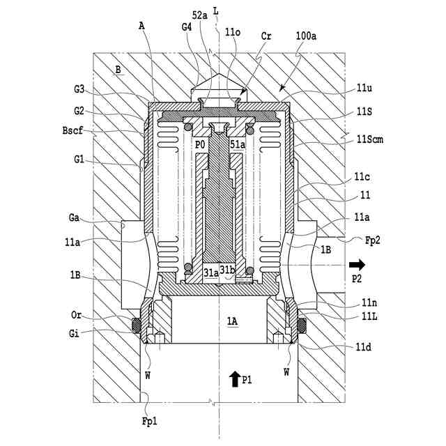
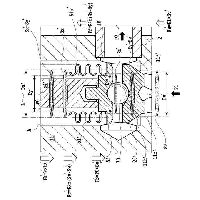
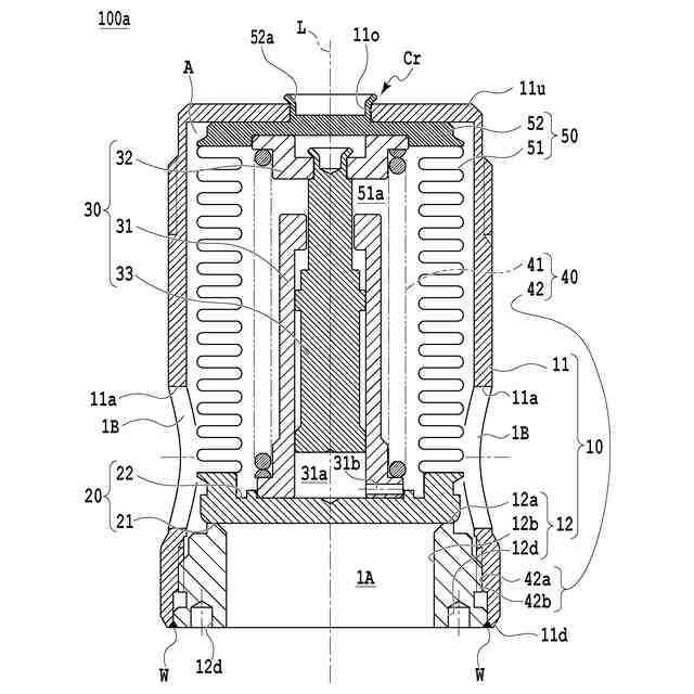
【解決手段】圧力調整弁100aであって、弁本体10と、弁体20と、調整ばね41及び感圧用ベローズ51からなる付勢手段と、位置調整部と、感圧用ベローズ51の有効受圧径Dxを、弁ポート1Aの口径Dvより大きく設定するハンチング頻度低減手段と、を備え、弁閉状態において、弁開方向に、一次側圧力P1が弁体20に作用する力Fa、及び、二次側圧力P2が感圧用ベローズ51の有効受圧面に作用する力Fdが負荷され、弁閉方向に、感圧用ベローズ51の内部圧力P0が弁体20に作用する力Fb、二次側圧力P2が弁体20に作用する力Fc、及び、感圧用ベローズ51自体及び調整ばね41の付勢力Fkが負荷される。
【選択図】図3
特許請求の範囲
【請求項1】
弁ポートに連通する一次側ポート、二次側ポート、及び、前記弁ポートを囲む弁座を有する弁本体と、
軸線方向に移動し、前記弁座に対して、着座または離座する弁体と、
前記弁体の他端側と前記弁本体との間に、軸線方向に沿って配置される付勢手段と、
前記付勢手段の付勢力を調整可能な位置調整部と、
前記弁座に対する前記弁体のハンチングの頻度を低減させるハンチング頻度低減手段と、
を備え、
前記付勢手段は、調整ばね及び感圧用ベローズからなり、
弁閉状態において、
前記弁体に対して弁開方向に、一次側圧力が前記弁体に作用する力、及び、二次側圧力が前記感圧用ベローズの有効受圧面に作用する力のそれぞれが負荷されるとともに、
前記弁体に対して弁閉方向に、前記感圧用ベローズの内部圧力が前記弁体に作用する力、二次側圧力が前記弁体に作用する力、及び、感圧用ベローズ自体及び調整ばねの付勢力のそれぞれが負荷されるものであり、
前記ハンチング頻度低減手段は、前記感圧用ベローズの有効受圧径を、前記弁ポートの口径より大きく設定するものであることを特徴とする圧力調整弁。
続きを表示(約 670 文字)
【請求項2】
前記弁本体は、前記二次側ポートを有する本体と、前記本体と別体であり、前記本体の一端側に配置されるとともに、前記一次側ポート及び前記弁座を有する弁座部と、を備え、
前記位置調整部は、前記弁座部及び前記本体における軸線方向の相対位置を調整可能な構成である請求項1に記載の圧力調整弁。
【請求項3】
前記感圧用ベローズの密閉空間に設けられる、スライドユニットをさらに備え、
前記スライドユニットは、
前記弁体に固定される円筒状のシリンダ部材と、
前記本体に固定されるとともに、前記シリンダ部材に対して進退可能に支持されるピストン部材と、
を備え、
前記シリンダ部材、前記ピストン部材、及び、前記弁体によりシリンダ内部空間が画定され、
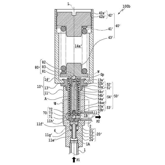
前記ハンチング頻度低減手段は、前記シリンダ内部空間と、前記密閉空間とを常時連通させる構成であることを特徴とする請求項1又は請求項2に記載の圧力調整弁。
【請求項4】
前記感圧用ベローズの内部空間に設けられる、スライドユニットをさらに備え、
前記スライドユニットは、
連通孔を有し、前記弁本体に固定されるベローズ上蓋と、
前記弁体に接続されるとともに、前記ベローズ上蓋に対して進退可能に支持される連結棒と、
を備え、
前記ハンチング頻度低減手段は、前記感圧用ベローズの前記内部空間を常時大気に連通させる構成であることを特徴とする請求項1に記載の圧力調整弁。
発明の詳細な説明
【技術分野】
【0001】
本発明は、感圧用ベローズ及びハンチング頻度低減手段を備える圧力調整弁に関する。
続きを表示(約 1,800 文字)
【背景技術】
【0002】
圧力調整弁には、微小な圧力変化に対して、高い応答性を持たせるために、感圧用ベローズを備えるものがある。
【0003】
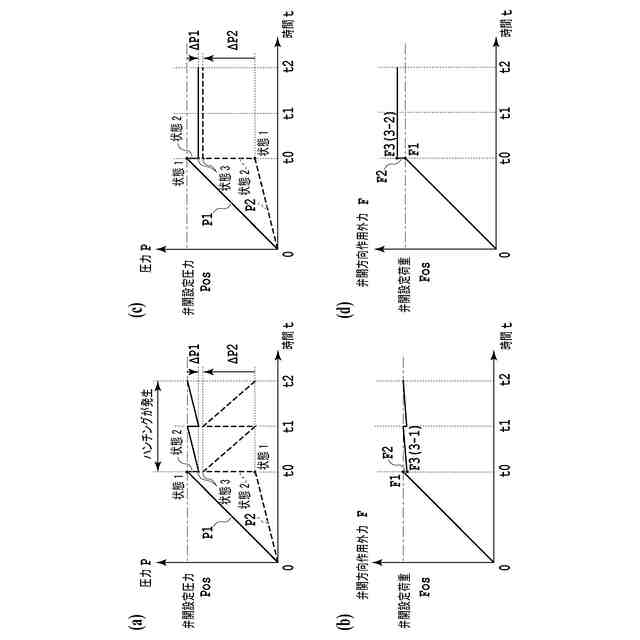
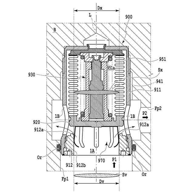
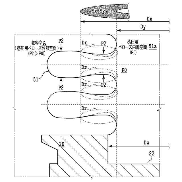
例えば、特許文献1には、図9に示すように、圧力調整弁900(以下、「従来の圧力調整弁」という)であって、一次側流路Fp1及び二次側流路Fp2が形成される配管ブロックB内にOリングOrを介して配置されるものが記載されている。また、特許文献1には、従来の圧力調整弁900として、一次側流路Fp1に連通する一次側ポート1A及び弁座912aを有する弁座部912と、二次側流路Fp2に連通する二次側ポート1Bを有する本体911と、軸線L方向に移動し、弁座912aに対して、着座または離座する弁体920と、弁体920の他端側と本体911との間に配置される感圧用ベローズ951と、感圧用ベローズ951の内部空間951aに設けられる調整ばね941及びスライドユニット930と、を備えるものが記載されている。
【0004】
ここで、従来の圧力調整弁900において、感圧用ベローズ951の外部空間には、二次側圧力P2が導入されているため、二次側圧力P2の変化に対して、高い応答性を有している。このため、従来の圧力調整弁900では、微小な二次側圧力P2の変化に応じて、弁開及び弁閉動作が繰り返し行われること、つまり、ハンチングが問題となっていた。
【0005】
この問題を解消するために、従来の圧力調整弁900において、感圧用ベローズ951の有効受圧径面積Sxと、一次側ポート1Aである弁ポートの口径Dvに基づいて算出した受圧面積Svとを一致させること(Sx=Sv)、つまり、感圧用ベローズ951の有効受圧径Dxと、弁ポートの口径Dvとを一致させること(Dx=Dv)により、二次側圧力P2の影響をキャンセルさせ、二次側圧力P2の影響を排除している。
【0006】
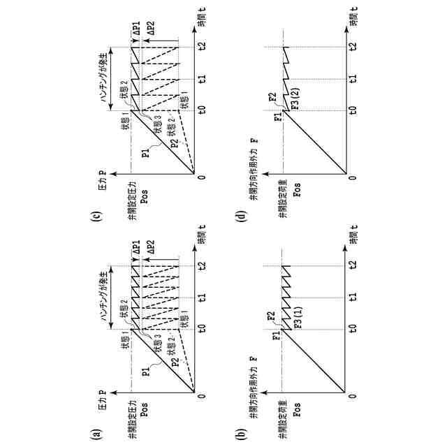
しかしながら、従来の圧力調整弁900では、一次側圧力P1が、弁開設定圧力を超えて弁開状態となった際に、弁体920周辺に圧力変化が生じる。具体的には、図9に示すように、弁体920周辺において、一次側圧力P1は、流体の流出により圧力低下が生じる一方、二次側圧力P2は流体の流入により圧力上昇が生じる。この際、詳細は後述するが、感圧用ベローズ951の有効受圧径面積Sxと、弁ポートの口径Dvに基づいて算出した受圧面積Svとを一致させていることに起因して、弁体920の弁開方向に作用する外力Fが比較的大きく低下する結果、弁体920は、弁閉方向に移動する。その後、弁閉状態となった瞬間に、一次側圧力P1が、弁開設定圧力を超えるため、再び、弁開状態となる。このように、従来の圧力調整弁900では、弁開直後において、依然として、比較的高頻度にハンチングが生じるおそれがあった(以下、「従来の問題点(弁開直後に高頻度のハンチング発生)」という)。
【0007】
なお、従来の圧力調整弁900では、従来の問題点(弁開直後に高頻度のハンチング発生)を解消するために、弁体920の一端側に、弾性部材970を設け、この弾性部材970が弁座部912の内周面912bに対して摺動抵抗を生じさせるものである。
【0008】
しかしながら、従来の圧力調整弁900では、弾性部材970が、弁体920の軸線L方向の移動に対し、常時、摺動抵抗を生じさせているため、感圧用ベローズ951による、微小な圧力変化に対する応答性が低下することに加え、弾性部材970などの部品点数の増加や、弾性部材970により、流体に乱流を生じさせるなどが新たな課題が生じる。よって、従来の圧力調整弁900と同様に、従来の問題点(弁開直後に高頻度のハンチング発生)を解消するために、弾性部材970を採用することはできない。
【先行技術文献】
【特許文献】
【0009】
特願2023-109159号
【発明の概要】
【発明が解決しようとする課題】
【0010】
本発明の目的は、弁座に対する弁体のハンチングの頻度を低減させるとともに、感圧用ベローズによる、微小な圧力変化に対する高い応答性を確実に維持することができる圧力調整弁を提供することである。
【課題を解決するための手段】
(【0011】以降は省略されています)
この特許をJ-PlatPat(特許庁公式サイト)で参照する
関連特許
株式会社鷺宮製作所
遮断弁
1か月前
株式会社鷺宮製作所
圧力調整弁
3日前
株式会社鷺宮製作所
材料試験装置
23日前
株式会社鷺宮製作所
弁装置および弁装置ユニット
1か月前
株式会社鷺宮製作所
弁装置および冷凍サイクルシステム
1か月前
個人
留め具
1か月前
個人
鍋虫ねじ
3か月前
個人
紛体用仕切弁
3か月前
個人
ホース保持具
7か月前
個人
回転伝達機構
3か月前
個人
差動歯車用歯形
5か月前
個人
給排気装置
1か月前
個人
ジョイント
2か月前
個人
地震の揺れ回避装置
4か月前
個人
ナット
24日前
株式会社不二工機
電磁弁
6か月前
個人
ナット
2か月前
株式会社不二工機
電磁弁
5か月前
個人
ゲート弁バルブ
9日前
個人
吐出量監視装置
2か月前
カヤバ株式会社
ダンパ
5か月前
カヤバ株式会社
ダンパ
5か月前
柿沼金属精機株式会社
分岐管
3か月前
カヤバ株式会社
緩衝器
1か月前
カヤバ株式会社
緩衝器
4か月前
兼工業株式会社
バルブ
25日前
カヤバ株式会社
緩衝器
4か月前
個人
固着具と固着具の固定方法
6か月前
日東電工株式会社
断熱材
7か月前
個人
固着具と固着具の固定方法
6か月前
株式会社ニフコ
クリップ
9日前
個人
固着具と固着具の固定方法
6か月前
株式会社三五
ドライブシャフト
1か月前
株式会社不二工機
電動弁
1か月前
株式会社ノーリツ
分配弁
1か月前
株式会社不二工機
電磁弁
3か月前
続きを見る
他の特許を見る