TOP
|
特許
|
意匠
|
商標
特許ウォッチ
Twitter
他の特許を見る
10個以上の画像は省略されています。
公開番号
2025163550
公報種別
公開特許公報(A)
公開日
2025-10-29
出願番号
2024066937
出願日
2024-04-17
発明の名称
弁装置および弁装置ユニット
出願人
株式会社鷺宮製作所
代理人
個人
,
個人
,
個人
主分類
F16K
27/02 20060101AFI20251022BHJP(機械要素または単位;機械または装置の効果的機能を生じ維持するための一般的手段)
要約
【課題】本発明は、製造コストを低減し易く、気密漏れを抑制し易い、弁装置および弁装置ユニットを提供することを目的とする。
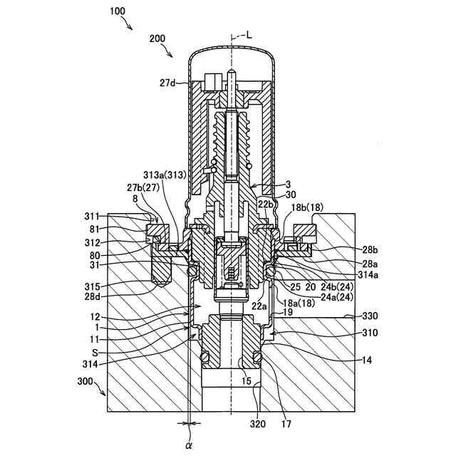
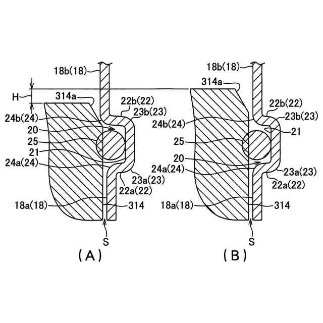
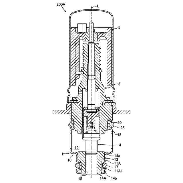
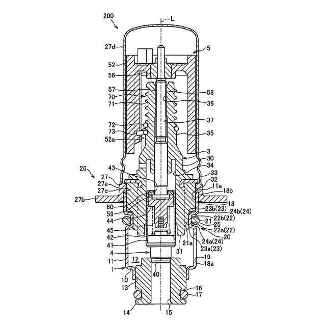
【解決手段】弁装置200は、第1流路320を備える流路ブロック300に接続されて流路ブロック300とともに弁装置ユニット100を構成する。弁装置200は、第1ポート15を備える弁ハウジング1と、第1ポート15に近接は離間する弁体4と、駆動部5と、を備える。弁ハウジング1の外周には、径方向内方に凹む円環溝20が設けられている。円環溝20には、第2シール部材25が設置されている。円環溝20は、底部21と、底部21の一端側および他端側で径方向外方に突出する一対の円環部22と、底部21と円環部22とを接続する溝曲げ部23と、を備えている。底部21、円環部22、および溝曲げ部23が一枚の円筒状の壁によって一体的に成形されている。
【選択図】図2
特許請求の範囲
【請求項1】
流路を備える流路ブロックの取付孔に挿入されて前記流路ブロックとともに弁装置ユニットを構成する弁装置であって、
弁室および前記流路に連通する弁ポートを備える円筒状の弁ハウジングと、
前記弁ポートに近接または離間する弁体と、
前記弁体を駆動する駆動部と、を備え、
前記弁ハウジングの外周には、径方向内方に凹む円環溝が設けられ、
前記円環溝には、前記取付孔の内面との間に介在して流体の流れを規制するシール部材が設置され、
前記円環溝は、径方向外方を向く底部と、前記底部の一端側および他端側で前記径方向外方に突出する一対の円環部と、前記底部と前記円環部とを接続する溝曲げ部と、を備え、
前記底部、前記円環部、および前記溝曲げ部が一枚の円筒状の壁によって一体的に成形されていることを特徴とする弁装置。
続きを表示(約 1,300 文字)
【請求項2】
前記弁ハウジングは、内部に前記弁室を備える円筒部と、前記円筒部および前記円環溝を接続する外周曲げ部と、を備え、
前記円筒部および前記円環溝が、前記一枚の円筒状の壁によって一体的に成形されていることを特徴とする請求項1に記載の弁装置。
【請求項3】
前記円筒部および前記円環溝は、連続した同じ肉厚の壁により構成されていることを特徴とする請求項2に記載の弁装置。
【請求項4】
前記外周曲げ部の外径は、該外周曲げ部と接続する前記円筒部の外径以上に設定され、
一対の前記円環部は、前記弁ポート側に位置する第1環部と、前記駆動部側に位置する第2環部と、で構成され、
前記第2環部の外径は、前記第1環部の外径よりも大きいことを特徴とする請求項2に記載の弁装置。
【請求項5】
前記弁ポートを囲む位置には、前記径方向内方に凹む溝部が設けられ、
前記溝部には、前記シール部材と別のシール部材が設置されていることを特徴とする請求項2に記載の弁装置。
【請求項6】
前記円環溝および前記溝部の少なくとも一方は、ネッキング加工またはバルジ加工により形成されていることを特徴とする請求項5に記載の弁装置。
【請求項7】
請求項1~5のいずれか一項に記載の弁装置と、
前記弁装置が挿入される取付孔および前記弁ポートに連通する流路を備える流路ブロックと、を備えることを特徴とする弁装置ユニット。
【請求項8】
流路を備える流路ブロックと、前記流路ブロックの取付孔に挿入される弁装置と、を備える弁装置ユニットであって、
前記弁装置は、弁室および前記流路に連通する弁ポートを備える円筒状の弁ハウジングと、前記弁ポートに近接または離間する弁体と、前記弁体を駆動する駆動部と、を備え、
前記弁ハウジングは、外周に設けられ径方向内方に凹む円環溝と、前記弁室を備える円筒部と、前記円筒部および前記円環溝を接続する外周曲げ部と、を備え、
前記円環溝には、前記取付孔の内面との間に介在して流体の流れを規制するシール部材が設置され、
前記円環溝は、径方向外方を向く底部と、前記底部の一端側および他端側で前記径方向外方に突出する一対の円環部と、前記底部と前記円環部とを接続する溝曲げ部と、で構成され、
前記底部、前記円環部、前記溝曲げ部、および前記円筒部が一枚の円筒状の壁によって一体的に成形され、一対の前記円環部は、前記弁ポート側に位置する第1環部と、前記駆動部側に位置する第2環部と、を備え、
前記外周曲げ部は、前記第1環部に接続される第1曲げ部と、前記第2環部に接続される第2曲げ部と、で一対を構成し、
前記第2環部の外径は、前記第1環部の外径よりも大きく、
前記取付孔の開口端部は、開口側に向かうにしたがって拡径するテーパ面を備え、
前記第1環部が前記取付孔に挿入された状態において、前記第2曲げ部は、前記テーパ面よりも前記駆動部側に位置し、前記テーパ面に対して前記円筒部の軸線方向に隙間をあけて対向していることを特徴とする弁装置ユニット。
発明の詳細な説明
【技術分野】
【0001】
本発明は、弁装置および弁装置ユニットに関する。
続きを表示(約 2,600 文字)
【背景技術】
【0002】
従来、流路を備えた流路ブロックに、交換可能に取り付けられる弁装置が知られている(例えば、特許文献1参照)。特許文献1に記載の電動弁(弁装置)は、冷凍サイクルの蒸発器に組み付けられた配管ボディ(流路ブロック)に対して、着脱可能に設けられている。電動弁は、内部に弁部を収容したボディを備え、ボディの一部を構成する第1ボディの外周面には、環状溝からなるシール収容部が形成されている。シール収容部には、シールリング(Oリング)が嵌着されている。電動弁は、配管ボディの取付孔に組み付けられて配管ボディとともに電動弁ユニットを構成し、取付孔に連通する流路内の流体の流れを制御している。シールリングは、第1ボディと取付孔との間を密封している。
【先行技術文献】
【特許文献】
【0003】
特開2020-153488号公報
【発明の概要】
【発明が解決しようとする課題】
【0004】
特許文献1に記載の電動弁では、シール収容部が金属の切削加工により形成されることから、ボディの製造に手間がかかり、製造コストが増大しやすい。また、この構成では、ボディの内部も切削加工により形成されるため、ボディの容積を大きくすると歩留まりが低下しやすい。この点につき、シール収容部を樹脂成形にて形成する方法や、Oリング用の溝を備える別部品でシール収容部を構成することが考えられる。しかしながら、樹脂成形でシール収容部を成形する場合、金属製の材料でシール収容部を成形した場合と比較してシール収容部の強度が低下しやすく、割れ、欠け等により気密性に影響が生じる可能性があった。また、別部品によりシール収容部を構成する場合、部品点数が増加してコストアップすることに加え、弁装置と流路ブロックとの間で裏漏れ等の気密漏れの原因となる隙間が増加し、気密性に影響が生じる可能性があった。
【0005】
本発明は、製造コストを低減し易く、気密漏れを抑制し易い、弁装置および弁装置ユニットを提供することを目的とする。
【課題を解決するための手段】
【0006】
前記課題を解決し目的を達成するために、本発明の弁装置は、流路を備える流路ブロックの取付孔に挿入されて前記流路ブロックとともに弁装置ユニットを構成する弁装置であって、弁室および前記流路に連通する弁ポートを備える円筒状の弁ハウジングと、前記弁ポートに近接または離間する弁体と、前記弁体を駆動する駆動部と、を備え、前記弁ハウジングの外周には、径方向内方に凹む円環溝が設けられ、前記円環溝には、前記取付孔の内面との間に介在して流体の流れを規制するシール部材が設置され、前記円環溝は、径方向外方を向く底部と、前記底部の一端側および他端側で前記径方向外方に突出する一対の円環部と、前記底部と前記円環部とを接続する溝曲げ部と、を備え、前記底部、前記円環部、および前記溝曲げ部が一枚の円筒状の壁によって一体的に成形されていることを特徴とする。
【0007】
このような本発明によれば、一枚の円筒状の壁によって一体的に成形された底部、円環部、および溝曲げ部により円環溝を構成できる。このため、例えば、プレス加工等により円環溝を容易に成形でき、円環溝の成形に切削加工等が必要ない。したがって、従来のように円環溝および弁室を切削加工で成形する構成と比較して弁ハウジングの製造コストを低減できる。また、この構成によれば、一枚の金属製の壁によって円環溝を成形することも可能となるため、円環溝を樹脂成形する構成と比較して円環溝の強度を向上できる。このため、円環溝の割れ、欠け等が抑制され、裏漏れ等の気密漏れを抑制できる。したがって、製造コストを低減し易く、気密漏れを抑制し易い、弁装置を提供できる。
【0008】
また、この際、前記弁ハウジングは、内部に前記弁室を備える円筒部と、前記円筒部および前記円環溝を接続する外周曲げ部と、を備え、前記円筒部および前記円環溝が、前記一枚の円筒状の壁によって一体的に成形されていることが好ましい。この構成によれば、円筒部と円環溝とを一枚の円筒状の壁によって成形できるため、円筒部と円環溝とを別体とする構成と比較して、弁室内に流路抵抗の小さい流路を構成するとともに、製造コストを低減し易い。また、この構成によれば、円筒部と円環溝とを別体とする構成と比較して、気密漏れの原因となる隙間等を低減できるので、より一層気密漏れを抑制できる。
【0009】
また、前記円筒部および前記円環溝は、連続した同じ肉厚の壁により構成されていることが好ましい。例えば、従来の弁装置のように円環溝を切削加工により成形する場合、円環溝が形成される部分以外の部分は、円環溝の深さ分の肉厚を有し、その肉厚は、円環溝の特に底部が形成される部分よりも大きくなる。しかしながら、本構成によれば、円筒部と円環溝の肉厚を同じに設定できる。このため、円環溝が形成される部分以外の部分の肉厚を、円環溝の底部が形成される部分よりも大きくする必要がなく、その分、従来の弁装置よりも弁室の容積を大きくすることができる。
【0010】
また、前記外周曲げ部の外径は、該外周曲げ部と接続する前記円筒部の外径以上に設定され、一対の前記円環部は、前記弁ポート側に位置する第1環部と、前記駆動部側に位置する第2環部と、で構成され、前記第2環部の外径は、前記第1環部の外径よりも大きいことが好ましい。このような構成によれば、外周曲げ部の外径を当該外周曲げ部と接続する円筒部の外径以上に設定したことで、より一層弁室の容積を確保し易い。また、第2環部の外径を第1環部の外径よりも大きくしたことで、円筒部の弁ポート側部分のまわりに第2環部の外径との差と略同じ大きさの、所定のスペースを生じさせることが可能となる。このため、例えば、円筒部の弁ポート側部分に対して流路に連通する開口部を設ける場合などに、当該所定のスペースを利用して開口部と流路を確実に連通できる。したがって、開口部の形成に際して開口部の向きが制限され難く、開口部の向きの選択の自由度を向上できる。
(【0011】以降は省略されています)
この特許をJ-PlatPat(特許庁公式サイト)で参照する
関連特許
株式会社鷺宮製作所
遮断弁
1か月前
株式会社鷺宮製作所
圧力調整弁
3日前
株式会社鷺宮製作所
材料試験装置
23日前
株式会社鷺宮製作所
弁装置および弁装置ユニット
1か月前
株式会社鷺宮製作所
弁装置および冷凍サイクルシステム
1か月前
株式会社鷺宮製作所
ステータコイルユニット及び流量調整弁
1か月前
個人
留め具
1か月前
個人
鍋虫ねじ
3か月前
個人
紛体用仕切弁
3か月前
個人
回転伝達機構
3か月前
個人
差動歯車用歯形
5か月前
個人
給排気装置
1か月前
個人
ジョイント
2か月前
株式会社不二工機
電磁弁
5か月前
株式会社不二工機
電磁弁
6か月前
個人
ナット
2か月前
個人
ナット
24日前
個人
地震の揺れ回避装置
4か月前
個人
ゲート弁バルブ
9日前
個人
吐出量監視装置
2か月前
カヤバ株式会社
ダンパ
5か月前
カヤバ株式会社
ダンパ
5か月前
兼工業株式会社
バルブ
25日前
カヤバ株式会社
緩衝器
4か月前
カヤバ株式会社
緩衝器
1か月前
柿沼金属精機株式会社
分岐管
3か月前
カヤバ株式会社
緩衝器
4か月前
個人
固着具と固着具の固定方法
6か月前
株式会社不二工機
電動弁
1か月前
アズビル株式会社
回転弁
2か月前
株式会社フジキン
ボールバルブ
5か月前
個人
固着具と固着具の固定方法
6か月前
株式会社ノーリツ
分配弁
1か月前
個人
固着具と固着具の固定方法
6か月前
株式会社ノーリツ
分配弁
6か月前
株式会社ノーリツ
分配弁
6か月前
続きを見る
他の特許を見る