TOP
|
特許
|
意匠
|
商標
特許ウォッチ
Twitter
他の特許を見る
10個以上の画像は省略されています。
公開番号
2025163551
公報種別
公開特許公報(A)
公開日
2025-10-29
出願番号
2024066938
出願日
2024-04-17
発明の名称
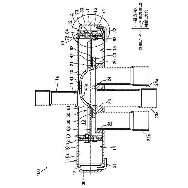
弁装置および冷凍サイクルシステム
出願人
株式会社鷺宮製作所
代理人
個人
,
個人
,
個人
主分類
F16K
11/065 20060101AFI20251022BHJP(機械要素または単位;機械または装置の効果的機能を生じ維持するための一般的手段)
要約
【課題】本発明は、温度変化の影響を受け難く、シール性能を安定して維持可能な弁装置および冷凍サイクルシステムを提供することを目的とする。
【解決手段】弁装置の円筒状のガイド部10のピストン50には、ガイド部10内の空間を複数の空間に区画するシール部70が設けられる。シール部70は、Lパッキン80と、板ばね90と、を備える。板ばね90は、板状の基板部91と、基板部91から立ち上がり、Lパッキン80のリム部82を内面側から外面側に押圧することでリム部82をガイド部10に押し付ける複数の羽根部92と、を備える。羽根部92は、第1曲げ部93(曲げ部)と、第1羽根部94(板部)と、第2曲げ部95(端縁部)と、を備える。第1羽根部94の幅寸法は、第1曲げ部93側から第2曲げ部95側に向かうにしたがって小さくなる、または、同一となる。
【選択図】図9
特許請求の範囲
【請求項1】
円筒状のガイド部と、前記ガイド部の軸線に沿って移動する移動部材と、前記移動部材に連結されて流体の流れを制御する弁体と、を備える弁装置であって、
前記移動部材には、前記ガイド部内の空間を複数の空間に区画するシール部が設けられ、
前記シール部は、前記ガイド部の内面に嵌合するLパッキンと、前記Lパッキンに作用する板ばねと、を備え、
前記Lパッキンは、前記軸線に交差して延在する板状の基部と、前記基部の縁部から立ち上がり前記ガイド部の内面に摺接するリム部と、を備え、
前記板ばねは、前記基部の内面側に配置される板状の基板部と、前記基板部から前記軸線を中心として放射状に突出して設けられ、前記リム部を内面側から外面側に押圧することで前記リム部を前記ガイド部に押し付ける複数の羽根部と、を備え、
前記羽根部は、前記基板部との境界を構成する曲げ部と、前記曲げ部から立ち上がる板部と、前記板部の先端側に設けられ前記リム部に当接する端縁部と、を備え、
前記板部の幅寸法は、前記曲げ部側から前記端縁部側に向かうにしたがって小さくなる、または、同一となることを特徴とする弁装置。
続きを表示(約 1,500 文字)
【請求項2】
前記板部の幅方向両端部は、前記曲げ部と前記端縁部とを連結する直線部を備えていることを特徴とする請求項1に記載の弁装置。
【請求項3】
前記板部の幅方向両端部は、前記端縁部側に向かうにしたがって互いに近づく方向に傾斜したテーパ部と、前記テーパ部の前記端縁部側に連続し前記端縁部側に向かって延びて互いに平行となるストレート部と、を備えることを特徴とする請求項1に記載の弁装置。
【請求項4】
前記板部の幅方向両端部は、前記端縁部側に向かうにしたがって互いに近づく曲線部を備えていることを特徴とする請求項1に記載の弁装置。
【請求項5】
前記基板部の縁部には、互いに隣接する前記羽根部の前記曲げ部同士を接続する円弧部が設けられ、
前記円弧部は、前記羽根部の突出方向と反対側に凸の円弧状に形成され、
前記円弧部の半径をRとし、前記羽根部の厚さ寸法をtとした場合、
t≦R≦5tであることを特徴とする請求項1に記載の弁装置。
【請求項6】
前記羽根部の幅方向両端部のそれぞれには、前記リム部に当接する当接部が設けられ、
前記当接部は、前記端縁部から前記曲げ部側に所定の長さを有し、かつ、前記羽根部の突出側に向かうにしたがって互いに近づく方向に傾斜する、または、平行となることを特徴とする請求項1~5のいずれか一項に記載の弁装置。
【請求項7】
n枚の前記羽根部により構成されて、前記軸線まわりの周方向に均等間隔で並ぶ2n個の前記当接部により、前記リム部が前記内面側から前記外面側に押圧されていることを特徴とする請求項6に記載の弁装置。
【請求項8】
前記羽根部には、前記端縁部から前記板ばねの内方側に延びる第2板部が設けられ、
前記当接部は、前記端縁部を跨いで所定の長さを有し、かつ、前記羽根部の突出側に向かうにしたがって互いに近づく方向に傾斜する、または、平行となることを特徴とする請求項7に記載の弁装置。
【請求項9】
円筒状のガイド部と、前記ガイド部の軸線に沿って移動する移動部材と、前記移動部材に連結されて流体の流れを制御する弁体と、を備える弁装置であって、
前記移動部材には、前記ガイド部内の空間を複数の空間に区画するシール部が設けられ、
前記シール部は、前記ガイド部の内面に嵌合するLパッキンと、前記Lパッキンに作用する板ばねと、を備え、
前記Lパッキンは、前記軸線に交差して延在する板状の基部と、前記基部の縁部から立ち上がり前記ガイド部の内面に摺接するリム部と、を備え、
前記板ばねは、前記基部の内面側に配置される板状の基板部と、前記基板部から前記軸線を中心として放射状に突出して設けられ、前記リム部を内面側から外面側に押圧することで前記リム部を前記ガイド部に押し付ける複数の羽根部と、を備え、
前記羽根部は、前記基板部との境界を構成する曲げ部と、前記曲げ部から立ち上がる板部と、前記板部の先端側に設けられ前記リム部に当接する端縁部と、を備え、
前記端縁部の外面側で幅方向両端部および前記幅方向両端部同士を結ぶ縁部は前記リム部に当接する当接部を構成し、
前記縁部の曲率は、前記リム部の内面の曲率と略同一であることを特徴とする弁装置。
【請求項10】
スライド式切換弁を備える冷凍サイクルシステムであって、
前記スライド式切換弁は、請求項1または9に記載の弁装置により構成されていることを特徴とする冷凍サイクルシステム。
発明の詳細な説明
【技術分野】
【0001】
本発明は、弁装置および冷凍サイクルシステムに関する。
続きを表示(約 3,300 文字)
【背景技術】
【0002】
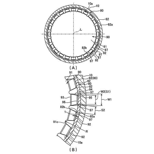
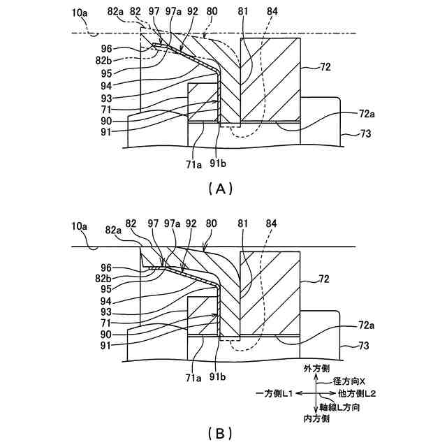
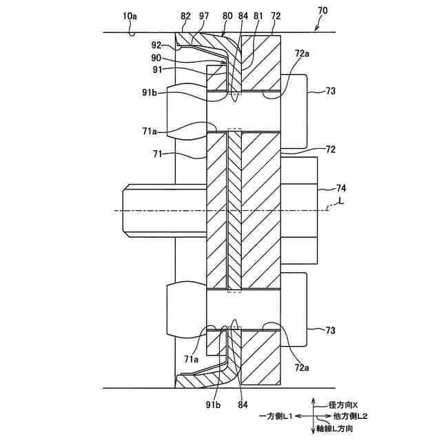
流体の流れを制御する弁装置が知られている(例えば、特許文献1参照)。特許文献1に記載の弁装置は、特許文献1の図2に示すように、流体漏れを規制するシール部4を備えている。シール部4は、円筒形状に形成されたガイド部21内に配置されて、ガイド部21内の空間を軸線X方向一方側と軸線X方向他方側とに区画している。シール部4は、円環状の基部45aと、基部45aの外周端縁に立設されたリム部45bと、で構成されたLパッキン45を備えている。Lパッキン45の内面側には、板ばね41が積層されている。板ばね41は、基部45aの内面側に配置される円板状の基板部41aと、基板部41aから立ち上がり板厚方向に弾性変形する羽根部41bと、を備えている。特許文献1の図3に示すように、羽根部41bの先端側における幅方向両端部は、リム部45bとの端点Pを構成している。端点Pは、羽根部41bの弾性変形後の反発力であるばね力によってリム部45bを外側に押圧し、押圧されたリム部45bの張力によってリム部45bがガイド部21の内面に密着させられている。
【先行技術文献】
【特許文献】
【0003】
特開2017-223293号公報
【発明の概要】
【発明が解決しようとする課題】
【0004】
ところで、特許文献1に記載のシール部4は、特許文献1の図3に示すように、羽根部41bの先端側が根元側よりも幅広く形成されている(すなわち、羽根部41bの根元側の幅が小さくなる)ことから、シール性能を確保するために十分な枚数の羽根部41bを配置しようとすると、羽根部41bの間の隙間部41cは、羽根部41bの先端側の幅より小さくする必要がある。そのため、複数の端点Pが基板部41aの円周に沿った円周上に不均等な間隔で並ぶこととなる。このため、リム部45bの一部に対する押圧が不十分となることでリム部45bが浮き上がるなど、接触状態が安定せず、シール性能に影響が生じる場合がある。ここで、羽根部41bの幅を狭めて端点P同士の間隔を均等にすることが考えられるが、この場合、羽根部41bの根元側の幅がさらに小さくなることから、板ばね41の強度が低下しやすい。これは、流体の温度変化や弁装置外部の温度変化など、使用環境の温度が変化しやすい場合に特に好ましくない。具体的には、シール部4の温度が低下すると、Lパッキン45が収縮し、リム部45bが、ガイド部21の内面から離れる方向に羽根部41bを押圧することで板ばね41の先端側に荷重が加わることがある。この場合、羽根部41bの幅寸法は、先端側よりも大きな応力が発生する根元側でより小さくなっていることから、根元側の強度が不十分になり易い。このため、板ばね41全体の設計荷重を大きくし難い。したがって、リム部45bの張力の維持が難しく、シール部4のシール性能を維持することが困難となる。
【0005】
本発明は、温度変化の影響を受け難く、シール性能を安定して維持可能な弁装置および冷凍サイクルシステムを提供することを目的とする。
【課題を解決するための手段】
【0006】
前記課題を解決し目的を達成するために、本発明の弁装置は、円筒状のガイド部と、前記ガイド部の軸線に沿って移動する移動部材と、前記移動部材に連結されて流体の流れを制御する弁体と、を備える弁装置であって、前記移動部材には、前記ガイド部内の空間を複数の空間に区画するシール部が設けられ、前記シール部は、前記ガイド部の内面に嵌合するLパッキンと、前記Lパッキンに作用する板ばねと、を備え、前記Lパッキンは、前記軸線に交差して延在する板状の基部と、前記基部の縁部から立ち上がり前記ガイド部の内面に摺接するリム部と、を備え、前記板ばねは、前記基部の内面側に配置される板状の基板部と、前記基板部から前記軸線を中心として放射状に突出して設けられ、前記リム部を内面側から外面側に押圧することで前記リム部を前記ガイド部に押し付ける複数の羽根部と、を備え、前記羽根部は、前記基板部との境界を構成する曲げ部と、前記曲げ部から立ち上がる板部と、前記板部の先端側に設けられ前記リム部に当接する端縁部と、を備え、前記板部の幅寸法は、前記曲げ部側から前記端縁部側に向かうにしたがって小さくなる、または、同一となることを特徴とする。
【0007】
このような本発明によれば、板部の幅寸法が、曲げ部側から端縁部側に向かうにしたがって小さくなる、または、同一となっていることで、リム部に当接する端縁部の幅寸法を小さくし易い。このため、端縁部を軸線まわりの周方向に均等に配置し易くできる。これにより、リム部に対する押圧が局所的に不十分になることが抑制され、シール部によるシール性能を安定して維持できる。また、この構成では、板部の幅寸法は、端縁部側よりも曲げ部側で大きくなる、または、同一となる。このため、端縁部を介してリム部から羽根部に荷重が加わった際により大きな応力が発生する曲げ部側(羽根部根元側)で要求される強度が確保し易く、複数の羽根部で上記荷重を好適に引き受けることができる。このため、板ばね全体の設計荷重を大きくすることができ、温度変化などによりシール部が膨張または収縮する環境においても、リム部の張力を安定して維持できる。したがって、温度変化の影響を受け難く、シール性能を安定して維持可能な弁装置を提供することができる。
【0008】
また、この際、前記板部の幅方向両端部は、前記曲げ部と前記端縁部とを連結する直線部を備えていることが好ましい。このような構成によれば、板部の幅方向両端部に特別な加工が必要なく、板部の形状をシンプルにできることから、金型製作費等を抑制し、低コストでシール部を製作することができる。
【0009】
また、前記板部の幅方向両端部は、前記端縁部側に向かうにしたがって互いに近づく方向に傾斜したテーパ部と、前記テーパ部の前記端縁部側に連続し前記端縁部側に向かって延びて互いに平行となるストレート部と、を備えていてもよい。このような構成によれば、羽根部の幅寸法は、テーパ部側よりもストレート部側で小さくなることから、リム部に当接する端縁部の幅寸法を小さくし易い。このため、端縁部を軸線まわりの周方向に均等に配置し易くできる。また、この構成では、羽根部の幅寸法は、ストレート部側よりもテーパ部側で大きくなる。このため、端縁部を介してリム部から羽根部に対して荷重が加わった際により大きな応力が発生するテーパ部側(羽根部根元側)で要求される強度が確保し易く、複数の羽根部で上記荷重を好適に引き受けることができる。このため、板ばね全体の設計荷重を大きくすることができ、温度変化などによりシール部が膨張または収縮する環境においても、リム部の張力を安定して維持できる。
【0010】
また、前記板部の幅方向両端部は、前記端縁部側に向かうにしたがって互いに近づく曲線部を備えていてもよい。このような構成によれば、羽根部の幅寸法は、曲線部の曲げ部側よりも端縁部側で小さくなることから、リム部に当接する端縁部の幅寸法を小さくし易い。このため、端縁部を軸線まわりの周方向に均等に配置し易くできる。また、この構成では、羽根部の幅寸法は、曲線部の端縁部側よりも曲げ部側で大きくなる。このため、端縁部を介してリム部から羽根部に対して荷重が加わった際により大きな応力が発生する曲げ部側(羽根部根元側)で要求される強度が確保し易く、複数の羽根部で上記荷重を好適に引き受けることができる。このため、板ばね全体の設計荷重を大きくすることができ、温度変化などによりシール部が膨張または収縮する環境においても、リム部の張力を安定して維持できる。
(【0011】以降は省略されています)
この特許をJ-PlatPat(特許庁公式サイト)で参照する
関連特許
個人
留め具
1か月前
個人
鍋虫ねじ
3か月前
個人
回転伝達機構
3か月前
個人
紛体用仕切弁
3か月前
個人
ホース保持具
7か月前
個人
差動歯車用歯形
5か月前
個人
トーションバー
7か月前
個人
給排気装置
1か月前
個人
ジョイント
2か月前
個人
地震の揺れ回避装置
4か月前
個人
ナット
2か月前
個人
ボルトナットセット
8か月前
株式会社不二工機
電磁弁
5か月前
株式会社不二工機
電磁弁
6か月前
個人
ナット
24日前
個人
吐出量監視装置
2か月前
個人
ゲート弁バルブ
9日前
カヤバ株式会社
緩衝器
1か月前
兼工業株式会社
バルブ
25日前
株式会社三協丸筒
枠体
8か月前
柿沼金属精機株式会社
分岐管
3か月前
カヤバ株式会社
ダンパ
5か月前
カヤバ株式会社
ダンパ
5か月前
カヤバ株式会社
緩衝器
4か月前
カヤバ株式会社
緩衝器
4か月前
アズビル株式会社
回転弁
2か月前
個人
固着具と固着具の固定方法
6か月前
株式会社不二工機
電動弁
1か月前
株式会社ノーリツ
分配弁
1か月前
株式会社不二工機
電動弁
8か月前
株式会社奥村組
制振機構
2か月前
株式会社ニフコ
クリップ
9日前
株式会社タカギ
水栓装置
3か月前
株式会社三五
ドライブシャフト
1か月前
株式会社ノーリツ
分配弁
6か月前
株式会社ノーリツ
分配弁
6か月前
続きを見る
他の特許を見る