TOP
|
特許
|
意匠
|
商標
特許ウォッチ
Twitter
他の特許を見る
10個以上の画像は省略されています。
公開番号
2025160982
公報種別
公開特許公報(A)
公開日
2025-10-24
出願番号
2024063773
出願日
2024-04-11
発明の名称
遮断弁
出願人
株式会社鷺宮製作所
代理人
弁理士法人谷・阿部特許事務所
主分類
F16K
39/02 20060101AFI20251017BHJP(機械要素または単位;機械または装置の効果的機能を生じ維持するための一般的手段)
要約
【課題】遮断弁の駆動手段として、ねじ送り機構を採用するものにおいて、弁体シール面及び弁座シール面の耐久性及びシール性を向上させ、信頼性を向上させることができる遮断弁を提供することである。
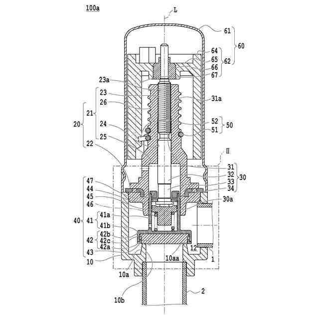
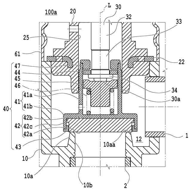
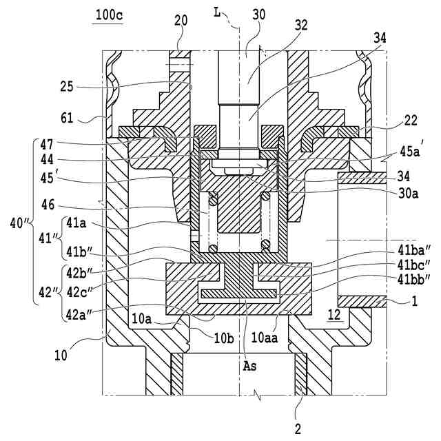
【解決手段】ねじ送り機構により移動可能な駆動軸30と、弁座部10aと、弁体42、弁支持体41、バネ受け部45及び圧縮バネ46を有する弁体部40と、弁体42への駆動軸30の回転伝達を抑制する回転抑制手段と、弁座部10aへの弁体42の押圧力を調整し流路を遮断する押圧力調整遮断手段と、を備え、回転抑制手段は、弁体42が弁座部10aに着座する際、弁体42が、弁支持体41に対して、遊嵌支持される構成を有し、押圧力調整遮断手段は、弁体42が弁座部10aに着座する際、弁体42の自重により、弁体シール面42aが弁座シール面10aaと面一に着座する自重着座状態となる構成を有する遮断弁。
【選択図】図3
特許請求の範囲
【請求項1】
ねじ送り機構により、回転とともに軸線方向に移動可能な駆動軸と、
他端側に、円環状の弁座シール面を有する弁座と、
弁体部であって、一端側に円盤状の弁体シール面を有する弁体、円筒形状を有する案内部及び前記弁体を支持する支持部を具備する弁支持体、前記案内部に収容され、前記駆動軸の一端部に当接可能なバネ受け部、及び、前記バネ受け部と前記支持部との間に挟持される圧縮バネを有する、弁体部と、
前記駆動軸の回転が、前記弁体に伝達されることを抑制する回転抑制手段と、
前記弁座に対する前記弁体の押圧力を調整し、流路を遮断する押圧力調整遮断手段と、
を備え、
前記回転抑制手段は、前記弁体が前記弁座に着座する際、前記弁体が、前記弁支持体の前記支持部に対して、遊嵌支持される構成を有し、
前記押圧力調整遮断手段は、前記弁体が前記弁座に着座する際、前記弁体の自重により、前記弁体シール面が前記弁座シール面と面一に着座する自重着座状態となる構成を有することを特徴とする遮断弁。
続きを表示(約 1,000 文字)
【請求項2】
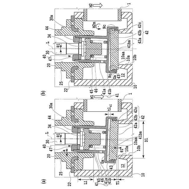
前記押圧力調整遮断手段は、前記弁体シール面が前記弁座シール面に面一で着座した状態において、前記駆動軸の一端部が、前記圧縮バネの付勢力に抗して、前記バネ受け部を押圧することにより、前記弁体及び前記弁支持体の前記支持部の軸線方向の当接部を介して、前記弁体シール面が前記弁座シール面に押圧される付勢着座状態となる構成をさらに有することを特徴とする請求項1に記載の遮断弁。
【請求項3】
前記押圧力調整遮断手段は、前記付勢着座状態と同時、又は、前記自重着座状態と前記付勢着座状態との間に、前記弁体及び前記弁支持体の自重により、前記弁体シール面が前記弁座シール面と面一に着座する付加自重着座状態となる構成をさらに有することを特徴とする請求項2に記載の遮断弁。
【請求項4】
前記回転抑制手段は、前記付勢着座状態において、前記駆動軸の一端部が、前記弁体部により軸線方向に挟持されない構成をさらに有することを特徴とする請求項2に記載の遮断弁。
【請求項5】
前記回転抑制手段は、前記弁体が前記弁座への着座時に、前記弁支持体が、前記駆動軸の一端部に対して、遊嵌支持される構成をさらに有することを特徴とする請求項1に記載の遮断弁。
【請求項6】
前記弁体が、前記弁支持体の前記支持部に対して、遊嵌支持される吊設状態において、前記弁体と前記支持部との一側軸線方向隙間が、前記駆動軸が有する軸線方向のねじガタよりも大きく設定されることを特徴とする請求項1に記載の遮断弁。
【請求項7】
前記弁支持体が、前記駆動軸の一端部に対して、遊嵌支持されるとともに、前記弁体が、前記弁支持体の前記支持部に対して、遊嵌支持される吊設状態において、前記弁体と前記支持部との前記一側軸線方向隙間が、前記弁支持体と前記駆動軸の一端部との他側軸線方向隙間よりも大きく設定されることを特徴とする請求項6に記載の遮断弁。
【請求項8】
前記弁体シール面及び前記弁座シール面のいずれか一方が、樹脂材料からなり、他方が、金属材料からなることを特徴とする請求項2に記載の遮断弁。
【請求項9】
前記弁体シール面に、軸線に沿って延在する突出部又は窪み部からなる整流手段をさらに備えることを特徴とする請求項1に記載の遮断弁。
発明の詳細な説明
【技術分野】
【0001】
本発明は、回転抑制手段及び押圧力調整遮断手段を備える遮断弁に関する。
続きを表示(約 2,200 文字)
【背景技術】
【0002】
遮断弁の駆動手段として、弁開閉動作の応答性を向上させるために、ソレノイドを採用するものがあるが、弁開状態又は弁閉状態のいずれか一方を維持するために、ソレノイドへの通電が必要となる。このため、この遮断弁を実際に使用する際には、ランニングコストが比較的高くなるとともに、万が一、停電等が生じる場合には、バルブの機能を一時的に喪失するおそれがあった。この問題を解決するために、遮断弁の駆動手段として、ねじ送り機構を採用するものがある。
【0003】
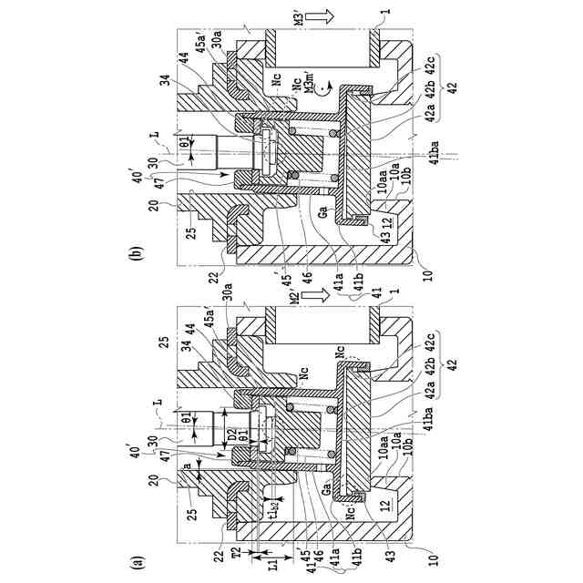
例えば、特許文献1には、図11に示すように、遮断弁1100(以下、「従来の遮断弁」という)であって、マニホールド1110と、マニホールド1110に嵌合固定される支持部材1120と、支持部材1120により、回転及び軸線L方向への移動可能に支持される駆動軸1130と、駆動軸1130の一端部に固定される弁体部1140と、駆動スリーブ1131を介して、駆動軸1130を回転させるギヤモータ1160と、マニホールド1110に固定され、ギヤモータ1160を収容するケース1161と、を備えるものが記載されている。このマニホールド1110は、入口流路1101、出口流路1102、弁室1112、及び、弁室1112と出口流路1102との間の境界に設けられる弁座1110aaを有する。また、弁体部1140は、駆動軸1130の一端部を、軸線L方向に挟持する、弁支持部1141、及び、円盤状の弁体シール面を有する弁体1142を有する。
【0004】
また、特許文献1には、支持部材1120と駆動軸1130との間の具体的な駆動機構についての記載はないものの、一例として、ねじ送り機構が採用されていることが考えられる。このねじ送り機構は、支持部材1120の他端側内周面及び駆動軸1130の他端側外周面に形成される、雌ねじ及び雄ねじを、互いに螺合させることにより、駆動軸1130は、弁体部1140とともに、回転しながら軸線L方向に移動可能とするものである。
【0005】
このような、従来の遮断弁1100では、弁体1142が弁座1110aaに着座する際に、駆動軸1130とともに連れ回る弁体1142が、弁座1110aaに対して、回転しながら、押圧されるため、弁体1142及び弁座1110aaのそれぞれのシール面に極めて大きな摩耗が生じる問題(以下、「従来の問題点1(着座時における弁体への連れ回り及び押圧による摩耗)」という)を有していた。
【0006】
加えて、一般的な遮断弁と同様に、従来の遮断弁1100においても、マニホールド1110に、支持部材1120を介して、駆動軸1130及び弁体部1140が接続されていることから、少なからず、組み付け誤差を有している。よって、従来の遮断弁1100では、弁体1142が弁座1110aaに着座する際に、弁体シール面及び弁座シール面が完全に面一ではなく、互いに傾きを有していることから、シール性が低下する問題(以下、「従来の問題点2(弁体シール面及び弁座シール面の傾きによりシール性低下)」という)を有していた。
【先行技術文献】
【特許文献】
【0007】
中国特許出願公開第114233914号明細書
【発明の概要】
【発明が解決しようとする課題】
【0008】
本発明の目的は、遮断弁の駆動手段として、ねじ送り機構を採用するものにおいて、特に、着座時に着目し、弁体シール面及び弁座シール面の耐久性及びシール性を向上させ、信頼性を向上させることができる遮断弁を提供する。
【課題を解決するための手段】
【0009】
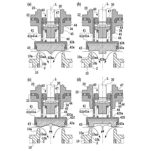
上記課題を解決するために、ねじ送り機構により、回転とともに軸線方向に移動可能な駆動軸と、他端側に、円環状の弁座シール面を有する弁座と、弁体部であって、一端側に円盤状の弁体シール面を有する弁体、円筒形状を有する案内部及び前記弁体を支持する支持部を具備する弁支持体、前記案内部に収容され、前記駆動軸の一端部に当接可能なバネ受け部、及び、前記バネ受け部と前記支持部との間に挟持される圧縮バネを有する、弁体部と、前記駆動軸の回転が、前記弁体に伝達されることを抑制する回転抑制手段と、前記弁座に対する前記弁体の押圧力を調整し、流路を遮断する押圧力調整遮断手段と、を備え、前記回転抑制手段は、前記弁体が前記弁座に着座する際、前記弁体が、前記弁支持体の前記支持部に対して、遊嵌支持される構成を有し、前記押圧力調整遮断手段は、前記弁体が前記弁座に着座する際、前記弁体の自重により、前記弁体シール面が前記弁座シール面と面一に着座する自重着座状態となる構成を有する遮断弁である。
【0010】
また、上記遮断弁であって、前記押圧力調整遮断手段は、前記弁体シール面が前記弁座シール面に面一で着座した状態において、前記駆動軸の一端部が、前記圧縮バネの付勢力に抗して、前記バネ受け部を押圧することにより、前記弁体及び前記弁支持体の前記支持部の軸線方向の当接部を介して、前記弁体シール面が前記弁座シール面に押圧される付勢着座状態となる構成をさらに有するものとしてもよい。
(【0011】以降は省略されています)
この特許をJ-PlatPat(特許庁公式サイト)で参照する
関連特許
個人
留め具
1か月前
個人
鍋虫ねじ
3か月前
個人
紛体用仕切弁
3か月前
個人
回転伝達機構
3か月前
個人
差動歯車用歯形
5か月前
個人
ジョイント
2か月前
個人
給排気装置
1か月前
個人
ナット
24日前
個人
地震の揺れ回避装置
4か月前
株式会社不二工機
電磁弁
5か月前
個人
ナット
2か月前
個人
ゲート弁バルブ
9日前
個人
吐出量監視装置
2か月前
カヤバ株式会社
ダンパ
5か月前
兼工業株式会社
バルブ
25日前
カヤバ株式会社
緩衝器
4か月前
カヤバ株式会社
ダンパ
5か月前
カヤバ株式会社
緩衝器
4か月前
柿沼金属精機株式会社
分岐管
3か月前
カヤバ株式会社
緩衝器
1か月前
株式会社不二工機
電動弁
1か月前
株式会社ノーリツ
分配弁
1か月前
株式会社フジキン
ボールバルブ
5か月前
株式会社三五
ドライブシャフト
1か月前
株式会社ニフコ
クリップ
9日前
株式会社奥村組
制振機構
2か月前
株式会社ニフコ
クリップ
1か月前
株式会社奥村組
制振機構
2か月前
株式会社タカギ
水栓装置
3か月前
株式会社不二工機
電磁弁
3か月前
アズビル株式会社
回転弁
2か月前
アマテイ株式会社
釘
1か月前
株式会社オンダ製作所
識別リング
4か月前
株式会社ノナガセ
免震装置
1か月前
株式会社ケアコム
取付器具
4か月前
個人
誘導電流活用式差動制限装置
1か月前
続きを見る
他の特許を見る