TOP
|
特許
|
意匠
|
商標
特許ウォッチ
Twitter
他の特許を見る
10個以上の画像は省略されています。
公開番号
2025172191
公報種別
公開特許公報(A)
公開日
2025-11-20
出願番号
2025154746,2024055479
出願日
2025-09-18,2024-03-29
発明の名称
送風装置、ならびに当該送風装置を備える冷凍サイクル装置の熱源側ユニット、冷凍サイクル装置の利用側ユニット、冷凍サイクル装置、換気ユニット、及び空気清浄機。
出願人
株式会社富士通ゼネラル
代理人
弁理士法人南青山国際特許事務所
主分類
F04D
29/02 20060101AFI20251113BHJP(液体用容積形機械;液体または圧縮性流体用ポンプ)
要約
【課題】低速回転でも軸受内の油膜形成不良を防ぎ、長時間連続運転できる送風装置、ならびに当該送風装置を備える熱源側ユニット、利用側ユニット、冷凍サイクル装置、換気ユニット、及び空気清浄機を提供する。
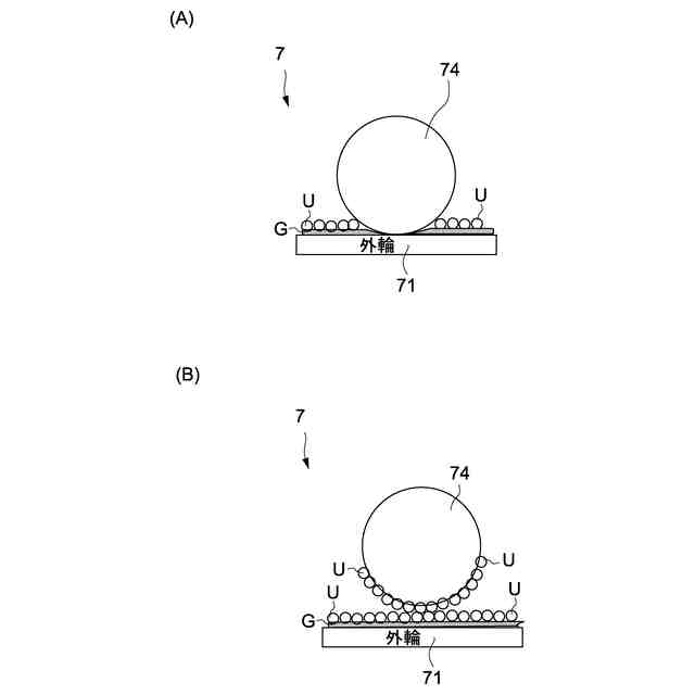
【解決手段】本発明の一形態に係る送風装置は、固定子と、固定子の内側に配置された回転子と、回転子が固定されるシャフトと、シャフトを回転自在に支持する軸受と、を有し回転速度が可変なモータと、モータの回転速度を制御する制御部と、を備える。制御部は、モータの回転速度n[rpm]を50≦n<100を満たす回転速度とする回転モードを少なくとも有する。軸受は、内輪と、外輪と、内輪および外輪の間に形成される環状の軸受空間内に設けられる複数の転動体と、軸受空間内に充填されたウレア系グリースと、を有する。送風装置は、モータを回転モードで5時間よりも長い時間維持可能である。
【選択図】図2
特許請求の範囲
【請求項1】
固定子と、前記固定子の内側に配置された回転子と、前記回転子が固定されるシャフトと、前記シャフトを回転自在に支持する軸受と、を有し回転速度が可変なモータと、
前記モータの回転速度を制御する制御部と、を備える送風装置であって、
前記制御部は、前記モータの回転速度n[rpm]を50≦n<100を満たす回転速度とする回転モードを少なくとも有し、
前記軸受は、内輪と、外輪と、前記内輪および前記外輪の間に形成される環状の軸受空間内に設けられる複数の転動体と、前記軸受空間内に充填されたウレア系グリースと、を有し、
前記送風装置は、前記モータを前記回転モードで5時間よりも長い時間維持可能である
送風装置。
続きを表示(約 740 文字)
【請求項2】
請求項1に記載の送風装置であって、
前記送風装置は、前記回転モードを24時間より長い時間維持可能である
送風装置。
【請求項3】
請求項1に記載の送風装置であって、
前記回転モードでの前記モータの回転速度n[rpm]は、50≦n<80を満たす
送風装置。
【請求項4】
請求項3に記載の送風装置であって、
前記ウレア系グリースは、基油と添加剤と増ちょう剤とを含み、前記増ちょう剤はウレア基を含み、
前記基油は、40℃での動粘度νが40[mm
2
/s]以上である
送風装置。
【請求項5】
請求項4に記載の送風装置であって、
前記基油は、40℃での動粘度νが80[mm
2
/s]以上である
送風装置。
【請求項6】
請求項1に記載の送風装置であって、
前記モータは、前記シャフトの一端側に羽根車が取り付けられる羽根車固定部をさらに有する
送風装置。
【請求項7】
請求項6に記載の送風装置であって、
前記軸受にかかるラジアル荷重は、10N以上である
送風装置。
【請求項8】
請求項1に記載の送風装置を備える、冷凍サイクル装置の熱源側ユニット。
【請求項9】
請求項1に記載の送風装置を備える、冷凍サイクル装置の利用側ユニット。
【請求項10】
請求項8の熱源側ユニット及び請求項9の利用側ユニットの少なくとも一方のユニットを備える、冷凍サイクル装置。
(【請求項11】以降は省略されています)
発明の詳細な説明
【技術分野】
【0001】
本発明は、送風装置、ならびに当該送風装置を備える冷凍サイクル装置の熱源側ユニット、冷凍サイクル装置の利用側ユニット、冷凍サイクル装置、換気ユニット、及び空気清浄機に関する。
続きを表示(約 1,500 文字)
【背景技術】
【0002】
モータを用いて羽根車(インペラ)を回転させる送風装置が知られている。例えば、特許文献1には、潤滑剤の封入されたベアリング(軸受)により回転軸が支持された、回転数可変のモータと、モータを駆動する制御部と、を備え、制御部は、モータを50rpm以上300rpm未満で10分以上5時間以下にわたり継続して駆動した場合に、モータを300rpm以上で1秒以上2分以下にわたり駆動する送風装置が記載されている。
【先行技術文献】
【特許文献】
【0003】
特開2022-117021号公報
【発明の概要】
【発明が解決しようとする課題】
【0004】
近年、低速回転でも軸受内の油膜形成不良を防ぎ、長時間連続運転できる送風装置が求められている。しかしながら、特許文献1では、回転数が低い状態を長時間続けると、軸受内において油膜形成不良となるため、回転数が高い状態に切り替えることで軸受内に油膜を形成させており、送風装置を低速回転で長時間連続運転させることが困難であるという問題がある。
【0005】
以上のような事情に鑑み、本発明の目的は、低速回転でも軸受内の油膜形成不良を防ぎ、長時間連続運転できる送風装置、ならびに当該送風装置を備える冷凍サイクル装置の熱源側ユニット、冷凍サイクル装置の利用側ユニット、冷凍サイクル装置、換気ユニット、及び空気清浄機を提供することにある。
【課題を解決するための手段】
【0006】
上記目的を達成するため、本発明の一形態に係る送風装置は、固定子と、上記固定子の内側に配置された回転子と、上記回転子が固定されるシャフトと、上記シャフトを回転自在に支持する軸受と、を有し回転速度が可変なモータと、上記モータの回転速度を制御する制御部と、を備える送風装置であって、
上記制御部は、上記モータの回転速度n[rpm]を50≦n<100を満たす回転速度とする回転モードを少なくとも有し、
上記軸受は、内輪と、外輪と、上記内輪および上記外輪の間に形成される環状の軸受空間内に設けられる複数の転動体と、上記軸受空間内に充填されたウレア系グリースと、を有し、
上記送風装置は、上記モータを上記回転モードで5時間よりも長い時間維持可能である。
【0007】
上記送風装置によれば、上記制御部は、上記モータの回転速度n[rpm]を50≦n<100を満たす回転速度とする回転モードを少なくとも有し、上記軸受は、内輪と、外輪と、上記内輪および上記外輪の間に形成される環状の軸受空間内に設けられる複数の転動体と、上記軸受空間内に充填されたウレア系グリースと、を有している。つまり、軸受にウレア系グリースを用いることで、モータの回転速度n[rpm]が50≦n<100である低速回転で5時間よりも長い時間運転する場合であっても低速回転により生じる軸受の異音の発生を抑制することができる。
【0008】
上記送風装置は、上記回転モードを24時間より長い時間維持可能であってもよい。
【0009】
上記回転モードでの上記モータの回転速度n[rpm]は、50≦n<80を満たしてもよい。
【0010】
上記ウレア系グリースは、基油と添加剤と増ちょう剤とを含み、上記増ちょう剤はウレア基を含み、上記基油は、40℃での動粘度νが40[mm
2
/s]以上であってもよい。
(【0011】以降は省略されています)
特許ウォッチbot のツイートを見る
この特許をJ-PlatPat(特許庁公式サイト)で参照する
関連特許
個人
海流製造装置。
2か月前
株式会社スギノマシン
圧縮機
1か月前
株式会社ツインバード
送風装置
2か月前
株式会社ツインバード
送風装置
2か月前
カヤバ株式会社
電動ポンプ
3か月前
日機装株式会社
遠心ポンプ
1か月前
カヤバ株式会社
電動ポンプ
25日前
ビッグボーン株式会社
送風装置
3か月前
株式会社不二越
蓄圧装置
4か月前
株式会社酉島製作所
ポンプ
5か月前
株式会社ノーリツ
ロータリ圧縮機
3か月前
サンデン株式会社
スクロール圧縮機
2か月前
サンデン株式会社
可変容量型圧縮機
1か月前
サンデン株式会社
スクロール圧縮機
2か月前
株式会社不二越
ベーンポンプ
4か月前
株式会社ノーリツ
ロータリー圧縮機
5か月前
株式会社坂製作所
スクロール圧縮機
5か月前
樫山工業株式会社
真空ポンプ
1か月前
小倉クラッチ株式会社
ルーツブロア
4か月前
サンデン株式会社
スクロール圧縮機
2か月前
株式会社豊田自動織機
流体機械
2か月前
株式会社クボタ
作業機
26日前
株式会社チロル
送風機、送風機付衣服
3か月前
株式会社島津製作所
真空ポンプ
3か月前
エドワーズ株式会社
真空ポンプ
2か月前
株式会社アイシン
ポンプケース
2か月前
株式会社島津製作所
真空ポンプ
2か月前
株式会社豊田自動織機
電動圧縮機
2か月前
株式会社豊田自動織機
電動圧縮機
3か月前
株式会社豊田自動織機
電動圧縮機
3か月前
NTN株式会社
電動オイルポンプ
2か月前
已久工業股ふん有限公司
空気圧縮機構造
3か月前
株式会社豊田自動織機
電動圧縮機
3か月前
株式会社ナノバブル研究所
気液駆動装置
2か月前
株式会社豊田自動織機
電動圧縮機
4か月前
株式会社豊田自動織機
電動圧縮機
4か月前
続きを見る
他の特許を見る