TOP
|
特許
|
意匠
|
商標
特許ウォッチ
Twitter
他の特許を見る
10個以上の画像は省略されています。
公開番号
2025172152
公報種別
公開特許公報(A)
公開日
2025-11-20
出願番号
2025147459,2022535451
出願日
2025-09-05,2020-12-10
発明の名称
マルチセンサデータを扱うためのフレキシブルHUB
出願人
テキサス インスツルメンツ インコーポレイテッド
代理人
個人
主分類
H04L
12/28 20060101AFI20251113BHJP(電気通信技術)
要約
【解決手段】 ハブ(702)がセンサデータストリームを受け取り、センサデータを用いる様々なシステムにデータストリームを分配する。デマルチプレクサ(demux)(804)は、ストリームを受け取り、所望されないストリームをフィルタ除去し、所望のストリームを適切なマルチプレクサ(mux)又は一連のmux(808A~808D)に提供する。各muxは、受信ストリームを結合し、出力ストリームをそれぞれのフォーマッタ又は出力ブロック(816A~816D)に提供する。フォーマッタ又は出力ブロック(816A~816D)は、画像信号プロセッサ(614)、プロセッサ(616)、メモリ(704)、又は外部送信(706)など、mux出力ストリームの宛先に基づいて構成される。出力ブロック(816A~816D)は、受信ストリームを受信者に適切なフォーマットに再フォーマットし、再フォーマットされたストリームを受信者に提供する。
【選択図】 図8
特許請求の範囲
【請求項1】
センサデータストリームを複数の受信者に分配するための回路であって、前記回路が、
デマルチプレクサ入力センサデータストリームを受け取り、複数のデマルチプレクサ出力センサデータストリームを提供するデマルチプレクサと、
前記デマルチプレクサに結合される複数のマルチプレクサであって、各マルチプレクサが、前記デマルチプレクサからの選択されたデマルチプレクサ出力センサデータストリームをマルチプレクサ入力センサデータストリームとして受け取り、マルチプレクサ出力センサデータストリームを提供するためのものである、前記複数のマルチプレクサと、
複数の出力ブロックと、
を含み、
各マルチプレクサに対して1つの出力ブロックが、前記それぞれのマルチプレクサに結合され、出力ブロック入力センサデータストリームとして前記それぞれのマルチプレクサからマルチプレクサ出力センサデータストリームを受け取るためのものであり、各出力ブロックが、受信者のためにフォーマットされた出力ブロック出力センサデータストリームを提供するためのものである、回路。
続きを表示(約 1,200 文字)
【請求項2】
請求項1に記載の回路であって、
前記デマルチプレクサが、複数のデマルチプレクサ出力センサデータストリームをマルチプレクサ入力センサデータストリームとして単一のマルチプレクサに提供するように構成可能であり、
前記単一のマルチプレクサが、前記複数の受け取ったマルチプレクサ入力センサデータストリームを単一のマルチプレクサ出力センサデータストリームに結合するように構成可能である、回路。
【請求項3】
請求項1に記載の回路であって、
前記デマルチプレクサが、単一のデマルチプレクサ出力センサデータストリームを同時に2つの異なるマルチプレクサに提供するように構成可能である、回路。
【請求項4】
請求項1に記載の回路であって、
前記デマルチプレクサで受け取られた前記デマルチプレクサ入力センサデータストリームが、異なる仮想チャネルに割り当てられた複数の個々のセンサデータストリームを含む、回路。
【請求項5】
請求項4に記載の回路であって、
或るマルチプレクサが、前記マルチプレクサ出力センサデータストリーム上の異なる仮想チャネルに割り当てられた複数の個々のセンサデータストリームを提供するように構成可能であり、前記マルチプレクサによって割り当てられた前記異なる仮想チャネルが、前記個々のセンサデータストリームについて、それらの個々のセンサデータストリームに対して前記デマルチプレクサによって受け取られたものとは異なる仮想チャネルである、回路。
【請求項6】
請求項1に記載の回路であって、
前記受信者が、画像信号プロセッサと、プロセッサと、メモリとのうちの少なくとも2つである、回路。
【請求項7】
請求項6に記載の回路であって、
前記デマルチプレクサ入力センサデータストリームが標準に準拠し、
前記受信者が、前記業界標準に従って送信器出力センサデータストリームを提供するための送信モジュールを含む、回路。
【請求項8】
請求項1に記載の回路であって、
或るマルチプレクサの前記出力が、前記複数の受信者のいずれかに向けられるように構成可能である、回路。
【請求項9】
請求項1に記載の回路であって、
各マルチプレクサが、前記複数の受信者の各々と動作するように構成可能である、回路。
【請求項10】
請求項1に記載の回路であって、更に、
入力センサデータストリームを受け取り、パーサー出力センサデータストリームをデマルチプレクサ入力センサデータストリームとして前記デマルチプレクサに提供するために、前記デマルチプレクサに結合されるパーサーを含み、前記パーサーが、前記受け取ったパーサー入力センサデータストリームを検証する、回路。
(【請求項11】以降は省略されています)
発明の詳細な説明
【技術分野】
【0001】
この分野は、システムオンチップ(SoC)デバイスにおけるセンサ入力データの処理に関する。
続きを表示(約 1,300 文字)
【0002】
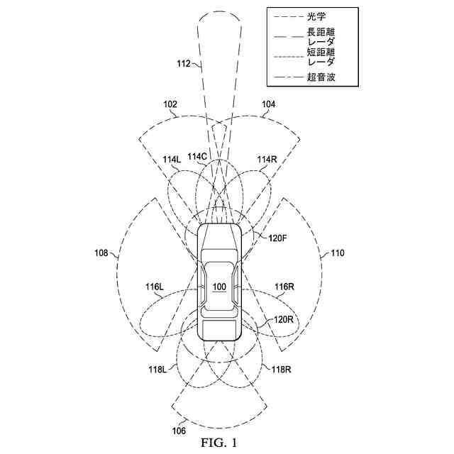
自動車における電子機器利用は日々増加している。従来のエンジンコントローラ、トランスミッションコントローラ、インフォテイメントユニット、ボディコントローラなどに加えて、多くの安全性及び自律システムが出てきたことにより、自動車内部で行われる処理が大幅に増加している。例えば、アダプティブクルーズコントロールは、レーダシステム、エンジンコントローラ、及びトランスミッションコントローラの間の相互通信を伴うことがある。別の例として、鳥瞰図ディスプレイでは、様々な位置に配置された複数の異なるカメラからの出力がプロセッサに提供されて、受信したビデオを処理し、得られた鳥瞰図画像を展開し、これは、運転手に表示するためにインフォテインメントシステムに提供される。この入力センサの数と種類の増大は、センサデータを受け取るSoCデバイスに大きな負担をかける。また、センサデータは、多くの場合、複数のプロセスによって用いられ、SoCデバイスに対する要求が増大する。センサデータを用いる安全性システムに対する信頼性要件のため、こうした負担は更に複雑となっている。
【発明の概要】
【0003】
一例において、センサデータを受信し、そのセンサデータを用いる様々なシステムにセンサデータを配信するために、ハブが提供される。デマルチプレクサ(demux)が、ストリームを受け取り、所望されないストリームをフィルタ除去し、所望のストリームを適切なマルチプレクサ(mux)又は一連のマルチプレクサのマルチプレクサに提供する。各マルチプレクサは、受け取ったストリームを結合し、それぞれのフォーマッタ又は出力ブロックに出力ストリームを提供する。フォーマッタ又は出力ブロックは、画像信号プロセッサ、プロセッサ、メモリ、又は外部送信など、マルチプレクサ出力ストリームの宛先に基づいて構成される。出力ブロックは、受け取ったストリームを受信者に適したフォーマットに再フォーマットし、再フォーマットされたストリームをその受信者に提供する。
【0004】
ストリームをDRAMに供給し、各受信者にそれ自身の一つ又は複数のストリームを取得させ、それ自身の再フォーマット動作をさせるのではなく、ストリームを各受信者に適切なフォーマットで1つ又はそれ以上の受信者に直接提供することにより、ストリーム上での動作における遅延が低減され、DRAM帯域幅の問題が低減される。
【0005】
種々の例の詳細な説明のため、ここで、添付の図面を参照する。
【図面の簡単な説明】
【0006】
車両及び、様々な光学及びレーダセンサの視野の図面である。
【0007】
幾つかの例に従った光学センサ及びレーダセンサを含む、図1の車両のブロック図である。
【0008】
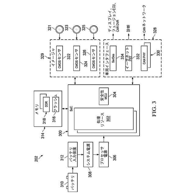
図2の光学センサシステムのブロック図である。
【0009】
図2のレーダセンサシステムのブロック図である。
【0010】
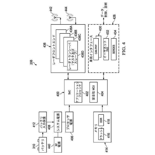
図3及び図4のセンサシステムで用いられるようなSoCのブロック図である。
(【0011】以降は省略されています)
この特許をJ-PlatPat(特許庁公式サイト)で参照する
関連特許
個人
イヤーピース
18日前
個人
イヤーマフ
1か月前
個人
監視カメラシステム
1か月前
個人
スイッチシステム
26日前
キーコム株式会社
光伝送線路
1か月前
個人
スキャン式車載用撮像装置
1か月前
サクサ株式会社
中継装置
1か月前
サクサ株式会社
中継装置
1か月前
WHISMR合同会社
収音装置
2か月前
アイホン株式会社
電気機器
2か月前
キヤノン株式会社
撮像装置
3か月前
キヤノン電子株式会社
画像読取装置
1か月前
サクサ株式会社
無線通信装置
1か月前
個人
ワイヤレスイヤホン対応耳掛け
2か月前
株式会社リコー
画像形成装置
2か月前
株式会社リコー
画像形成装置
2か月前
株式会社リコー
画像形成装置
1か月前
キヤノン電子株式会社
画像読取装置
18日前
個人
映像表示装置、及びARグラス
27日前
キヤノン電子株式会社
画像読取装置
26日前
ヤマハ株式会社
放音制御装置
26日前
キヤノン電子株式会社
画像読取装置
2か月前
サクサ株式会社
無線システム
1か月前
サクサ株式会社
無線通信装置
1か月前
キヤノン電子株式会社
シート搬送装置
18日前
個人
発信機及び発信方法
1か月前
キヤノン株式会社
情報処理装置
5日前
ブラザー工業株式会社
読取装置
3か月前
キヤノン株式会社
撮像システム
2か月前
キヤノン株式会社
画像処理装置
21日前
日本電気株式会社
海底分岐装置
1か月前
沖電気工業株式会社
画像形成装置
1か月前
シャープ株式会社
端末装置
1か月前
キヤノン電子株式会社
画像処理システム
1か月前
株式会社NTTドコモ
端末
1か月前
株式会社小糸製作所
画像照射装置
2か月前
続きを見る
他の特許を見る