TOP
|
特許
|
意匠
|
商標
特許ウォッチ
Twitter
他の特許を見る
10個以上の画像は省略されています。
公開番号
2025172091
公報種別
公開特許公報(A)
公開日
2025-11-20
出願番号
2025142232,2022568414
出願日
2025-08-28,2021-04-19
発明の名称
スイッチモードバイアスシステムを使用した表面電荷および電力フィードバックならびに制御
出願人
エーイーエス グローバル ホールディングス, プライベート リミテッド
代理人
個人
,
個人
,
個人
,
個人
,
個人
主分類
C23C
16/515 20060101AFI20251113BHJP(金属質材料への被覆;金属質材料による材料への被覆;化学的表面処理;金属質材料の拡散処理;真空蒸着,スパッタリング,イオン注入法,または化学蒸着による被覆一般;金属質材料の防食または鉱皮の抑制一般)
要約
【課題】スイッチモードバイアスシステムを使用した表面電荷および電力フィードバックならびに制御の提供。
【解決手段】プラズマチャンバ内のイオンエネルギーを調整し、基板表面上および表面上に構築されている容量性構造内への過剰かつ損傷を及ぼす電荷集積を回避するためのシステム、方法、および装置。例示的方法は、基板をプラズマチャンバ内に設置することと、プラズマをプラズマチャンバ内に形成することと、周期的電圧関数(または修正された周期的電圧関数)を基板に印加するように、基板への電力を制御可能に切り替えることと、基板の表面におけるイオンのエネルギーの定義された分布に応答して、時間平均ベースで、イオンエネルギーの定義された分布をもたらし、表面電荷集積を閾値を下回るように維持するように、周期的電圧関数の複数のサイクルにわたって、周期的電圧関数を変調することとを含む。
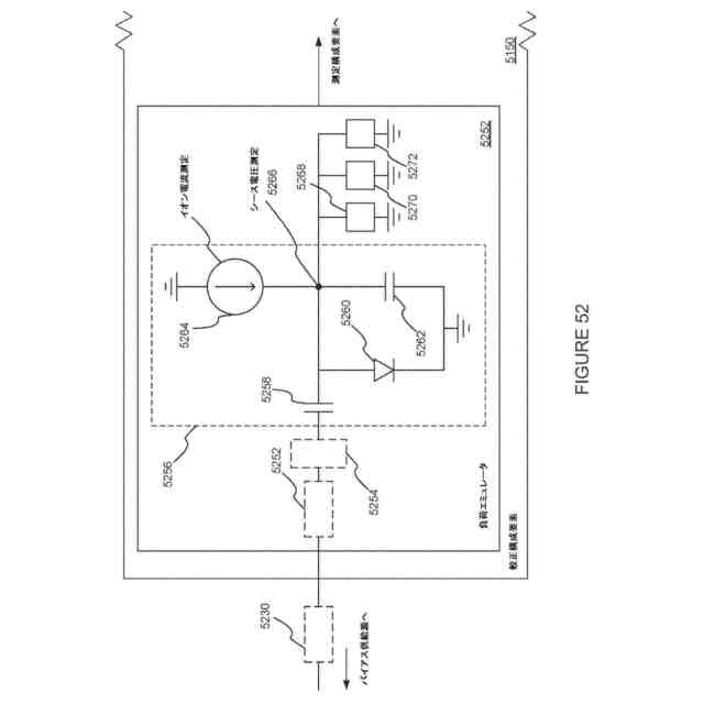
【選択図】図52
特許請求の範囲
【請求項1】
システムであって、前記システムは、
基板支持体の電気ノードに波形を提供するための電力供給源であって、前記波形は、複数のパルスと前記複数のパルスの間の負の部分とを備える、電力供給源と、
前記複数のパルスの間の前記負の部分の持続時間を調節することによって、前記基板上の表面電荷蓄積を調節するように前記電力制御源を制御するための少なくとも1つのコントローラと
を備える、システム。
続きを表示(約 1,400 文字)
【請求項2】
前記電力供給源は、
前記複数のパルスを提供するための第1の電力供給源と、
前記複数のパルスの間の前記負の部分の傾きを修正するための電流を提供するための第2の電力供給源と
を備える、請求項1に記載のシステム。
【請求項3】
前記少なくとも1つのコントローラは、
初期基板電圧を確立するように前記複数のパルスのステップを調節することと、
前記初期基板電圧からの基板電圧の導出を制御するように前記電流の大きさを調節することと
を行うように適合されている、請求項2に記載のシステム。
【請求項4】
前記第1の電力供給源は、DC電力供給源と、前記DC電力供給源を前記電気ノードに結合する少なくとも1つのスイッチとを備え、前記少なくとも1つのスイッチが閉であることに応答して、前記パルスが電圧ステップによって降下する前に、パルスのピーク電圧が前記電気ノードにおいて生成される、請求項2に記載のシステム。
【請求項5】
前記第2の電力供給源は、インダクタを介して前記電気ノードに結合されている、請求項2に記載のシステム。
【請求項6】
前記少なくとも1つのコントローラは、前記基板に衝突するイオン電流に基づいて、表面電荷蓄積を計算するように適合されている、請求項2に記載のシステム。
【請求項7】
前記少なくとも1つのコントローラは、前記波形の電流または電圧のうちの少なくとも一方に基づいて、前記イオン電流を計算するように適合されている、請求項6に記載のシステム。
【請求項8】
前記少なくとも1つのコントローラは、前記複数のパルスの間の前記負の部分の間、前記表面電荷蓄積Q
i
を
JPEG
2025172091000016.jpg
16
51
として計算するように適合されており、ここで、C
chuck
は、前記基板と前記電気ノードとの間の直列静電容量であり、I
I
は、前記イオン電流である、請求項7に記載のシステム。
【請求項9】
プロセッサ実行可能な命令を用いてエンコーディングされる非一過性かつ有形のプロセッサ読み取り可能な記憶媒体であって、前記命令は、
支持体に波形を提供するための命令であって、前記波形は、複数のパルスと、前記複数のパルスの間の負の部分とを備える、命令と、
前記支持体上に位置付けられた基板上の表面電荷蓄積を計算するための命令と、
前記複数のパルスの間の前記負の部分の持続時間を調節することによって、前記表面電荷蓄積を調節するための命令と
を含む、非一過性かつ有形のプロセッサ読み取り可能な記憶媒体。
【請求項10】
前記非一過性かつ有形のプロセッサ読み取り可能な記憶媒体は、前記波形の測定値からイオン電流を計算するための命令を備え、
前記表面電荷蓄積を計算するための前記命令は、前記計算されたイオン電流に基づいて前記表面電荷蓄積を計算するための命令を含む、請求項9に記載の非一過性かつ有形のプロセッサ読み取り可能な記憶媒体。
(【請求項11】以降は省略されています)
発明の詳細な説明
【技術分野】
【0001】
(開示の分野)
本開示は、概して、プラズマ処理に関する。特に、限定ではないが、本開示は、ウエハのプラズマ処理の間、ウエハ上の表面電荷を監視および制御するためのシステム、方法、および装置に関する。
続きを表示(約 3,800 文字)
【背景技術】
【0002】
(関連技術の説明)
半導体処理の間、ウエハ上の表面電荷蓄積は、デバイス損傷およびエッチングプロファイルならびにパターン化された構造の寸法の完全性を含む、プラズマプロセスの多数の側面に影響を及ぼし得る。例えば、電荷集積は、チップスタック内の容量結合特徴間の容量絶縁破壊につながり得る。別の実施例として、表面特徴上の電荷集積は、エッチングプロセスにおいて使用されるイオンを偏向させ、望ましくないエッチングまたは堆積プロファイル(すなわち、非垂直側壁)につながり得る。既存のプロセスは、オフライン実験データ蓄積および分析を使用して、処理の間、補正作用を講じるために使用され得る、フラグおよび他のトリガを識別する。しかしながら、そのような方法は、リアルタイムではなく、リアルタイム処理条件が実験的に導出されるモデルと幾分異なるとき、誤差を受けやすい。したがって、表面電荷蓄積のより正確かつリアルタイムの監視および制御の必要がある。
【発明の概要】
【課題を解決するための手段】
【0003】
(開示の要約)
以下は、本明細書に開示される1つ以上の側面および/または実施形態に関連する、簡略化された概要を提示する。したがって、以下の概要は、全ての検討される側面および/または実施形態に関連する広範な概要と見なされるべきではなく、また、全ての検討される側面および/または実施形態に関連する重要または必須要素を識別する、もしくは任意の特定の側面および/または実施形態と関連付けられる範囲を境界するためのものと見なされるべきではない。故に、以下の概要は、下記に提示される詳細な説明に先行するために、本明細書に開示される機構に関連する1つ以上の側面および/または実施形態に関連するある概念を簡略化された形態において提示することのみを目的とする。
【0004】
本開示のある側面では、いわゆるeV源は、電流、電圧、または電源と連動して、スイッチモード電力供給源を使用して、基板に提供され、プラズマ処理チャンバ内のウエハ基板上に電荷集積および放電をもたらす、修正された波形(例えば、非対称周期的波形)を発生させる。波形は、電荷をウエハ表面から除去する、周期的電圧ステップまたはランプ(例えば、各反転の上部と底部との間の有限傾きを伴う、電圧反転)後、ウエハを保持するチャックへの線形に減少する電圧印加の周期を含むことができる。電圧ステップまたはランプが、ウエハ表面上の電荷集積を除去する間、線形に減少する電圧の周期は、持続負電圧(例えば、若干の電圧傾き)をウエハ表面にもたらし、これは、処理のために、イオンを表面に誘引する。線形に減少する電圧は、制御されるため、コントローラはまた、本減少する電圧の傾きを監視または制御することができ、本傾きは、「イオン電流」I
I
、すなわち、プラズマから、ウエハを通して、eV源の中に通過する、電流の知識を提供する。
【0005】
イオン電流の知識は、イオン電流I
I
が流動している時間の監視とともに、表面電荷蓄積Q
i
=I
I
×tであるため、電荷集積の正確な推定値を提供する。表面電荷蓄積Q
i
が、構造的損傷または表面電荷の他の望ましくない効果につながることが既知のもの等の閾値を超えると、正電圧反転(または電圧傾きの方向の急変)が、開始され、表面電荷蓄積を除去することができる。換言すると、非対称周期的電圧波形は、線形に減少する電圧の持続時間を電圧反転間に有し、本持続時間は、表面電荷集積Q
i
があまりに大きくならないように防止することができる。したがって、電圧反転のタイミングは、具体的電荷除去をもたらす、または電荷が閾値を超えないようにブロッキングするように修正または制御されることができる。
【0006】
同時に、電流および電圧は、既知であるため、コントローラはまた、P=I×Vであるため、送達される電力の知識および制御を有する。
【0007】
本開示のいくつかの実施形態は、プラズマ処理チャンバと、基板支持体と、電力供給源とを含む、プラズマベースの処理のためのシステムとして特徴付けられ得る。プラズマ処理チャンバは、イオンを含む、プラズマを含有するように構成されることができる。基板支持体は、プラズマ処理チャンバ内に位置付けられ、基板を支持するように配置されることができる。電力供給源は、非対称周期的電圧関数を、基板支持体に結合するように構成される、出力に提供するように構成されることができる。非対称周期的電圧関数は、正電圧ランプ、第1の負電圧ランプ、および第2の負電圧ランプを有し、持続時間t
2
を第1の負電圧ランプと次の正電圧ランプとの間に有することができる。電力供給源はまた、持続時間t
2
の間、電流または電圧のうちの少なくとも1つの監視に基づいて、プラズマ処理チャンバ内のイオン電流の測定値を取得するように構成され、さらに、イオン電流および持続時間t
2
の関数として、基板上の表面電荷蓄積Q
i
の推定値を取得するように構成される、イオン電流補償構成要素を含むことができる。電力供給源はまた、持続時間t
2
を調節し、所望の表面電荷蓄積Q
i
を達成する、または表面電荷蓄積Q
i
を閾値を下回るように保つように構成される、切替コントローラを含むことができる。
【0008】
本開示の他の実施形態はまた、プラズマベースの処理のための装置として特徴付けられ得る。本装置は、電力供給源を有する、プラズマ処理チャンバ内のイオン電流の測定値を取得するための手段と、表面電荷蓄積Q
i
の推定値を取得するための手段と、波形の持続時間t
2
を調節するためのコントローラとを含むことができる。具体的には、電力供給源は、非対称周期的電圧関数を、基板支持体に結合するように構成される、出力に提供するように構成されることができる。非対称周期的電圧関数は、正電圧ランプ、第1の負電圧ランプ、および第2の負電圧ランプを有し、持続時間t
2
を第1の負電圧ランプと次の正電圧ランプとの間に有することができる。プラズマ処理チャンバ内のイオン電流の測定値を取得するための手段は、持続時間t
2
の間、電流または電圧のうちの少なくとも1つを監視することができる。基板支持体によって保持される基板上の表面電荷蓄積Q
i
の推定値を取得するための手段は、イオン電流I
i
および持続時間t
2
の関数として動作することができる。コントローラは、持続時間t
2
を調節し、所望の電荷蓄積Q
i
を達成することができる、または表面電荷蓄積Q
i
を閾値を下回るように保つことができる。
【0009】
本開示のいくつかの実施形態は、プラズマ処理チャンバ内の基板をバイアスする方法として特徴付けられ得る。本方法は、(1)周期的正のパルスと、(2)正のパルスのそれぞれの間で線形に減少する電圧とを含む、波形を用いて、バイアスすることを含むことができる。線形に減少する電圧は、持続時間t
2
にわたって続き、減少率dv/dtを有することができる。本方法は、次いで、イオン電流I
I
を、持続時間t
2
の間の波形の電流測定値から、または減少率dv/dtから計算することができる。本方法は、次いで、持続時間t
2
の間に集積した表面電荷蓄積Q
i
をイオン電流I
I
から計算し、表面電荷蓄積Q
i
と第1の閾値を比較することができる。本方法は、次いで、表面電荷蓄積Q
i
が第1の閾値を満たす、またはそれを超えるとき、持続時間t
2
を変化させることができる。
【0010】
ある実施形態では、電力供給源は、スイッチモード電力供給源と、イオン電流補償構成要素とを含むことができる。電力供給源は、少なくとも2つの切替構成要素を含むことができ、少なくとも2つの切替構成要素は、DC電力供給源に結合される、第1の切替構成要素と、接地端子に結合される、第2の切替構成要素とを含むことができる。2つの切替構成要素は、DC電力供給源の正のDC電圧および接地端子を電力供給源の出力に交互に結合し、制御可能狭または単エネルギー分布のイオンエネルギー(例えば、単一集線の特定のイオンエネルギー)を基板の表面にもたらすように構成されることができる。少なくとも2つの切替構成要素は、ハーフブリッジまたはフルブリッジ構成のいずれかにあることができる。
(【0011】以降は省略されています)
この特許をJ-PlatPat(特許庁公式サイト)で参照する
関連特許
個人
フッ素樹脂塗装鋼板の保管方法
3か月前
株式会社カネカ
製膜装置
1か月前
株式会社カネカ
製膜装置
1か月前
株式会社京都マテリアルズ
めっき部材
1か月前
トヨタ自動車株式会社
治具
25日前
株式会社オプトラン
蒸着装置
7か月前
株式会社KSマテリアル
防錆組成物
4か月前
株式会社三愛工業所
アルミニウム材
6か月前
日本化学産業株式会社
複合めっき皮膜
3か月前
エドワーズ株式会社
真空排気システム
1か月前
台灣晶技股ふん有限公司
無電解めっき法
2か月前
東京エレクトロン株式会社
成膜方法
2か月前
日東電工株式会社
積層体の製造方法
6か月前
株式会社カネカ
気化装置及び製膜装置
1か月前
JFEスチール株式会社
鋼部品
3か月前
東京エレクトロン株式会社
基板処理装置
7か月前
DOWAサーモテック株式会社
浸炭方法
6か月前
住友重機械工業株式会社
成膜装置
4か月前
株式会社アルバック
マスクユニット
1か月前
TOTO株式会社
構造部材
1か月前
住友重機械工業株式会社
成膜装置
5か月前
東京エレクトロン株式会社
基板処理装置
5か月前
株式会社内村
防食具、防食具の設置方法
2か月前
信越半導体株式会社
真空蒸着方法
6か月前
東京エレクトロン株式会社
基板処理装置
6か月前
黒崎播磨株式会社
溶射装置
1か月前
株式会社アルバック
基板ステージ装置
1か月前
国立大学法人千葉大学
成膜装置及び成膜方法
2か月前
日本コーティングセンター株式会社
炭化ホウ素被膜
1か月前
株式会社デンソー
接合体
2か月前
フジタ技研株式会社
被覆部材、及び、表面被覆金型
1か月前
黒崎播磨株式会社
溶射用ランス
5か月前
ケニックス株式会社
蒸発源装置
3か月前
株式会社アルバック
成膜装置、および搬送方法
3か月前
信越化学工業株式会社
炭化金属被覆材料
4日前
川崎重工業株式会社
水素遮蔽膜
3か月前
続きを見る
他の特許を見る