TOP
|
特許
|
意匠
|
商標
特許ウォッチ
Twitter
他の特許を見る
公開番号
2025172018
公報種別
公開特許公報(A)
公開日
2025-11-20
出願番号
2025077397
出願日
2025-05-07
発明の名称
反応空間圧力測定のための方法および装置
出願人
エーエスエム・アイピー・ホールディング・ベー・フェー
代理人
個人
,
個人
,
個人
主分類
C23C
16/54 20060101AFI20251113BHJP(金属質材料への被覆;金属質材料による材料への被覆;化学的表面処理;金属質材料の拡散処理;真空蒸着,スパッタリング,イオン注入法,または化学蒸着による被覆一般;金属質材料の防食または鉱皮の抑制一般)
要約
【課題】反応空間を有するリアクタを有するシステム、および反応空間内の圧力を測定するように構成された圧力監視システムを提供する。
【解決手段】圧力監視システムは、2つ以上の圧力センサを含む構成であってもよく、各圧力センサは、圧力センサの上流に配置された1つの弁と、および圧力センサの下流に配置された別の弁との二つの弁で分離されている構成であってもよい。
【選択図】図1
特許請求の範囲
【請求項1】
装置であって、
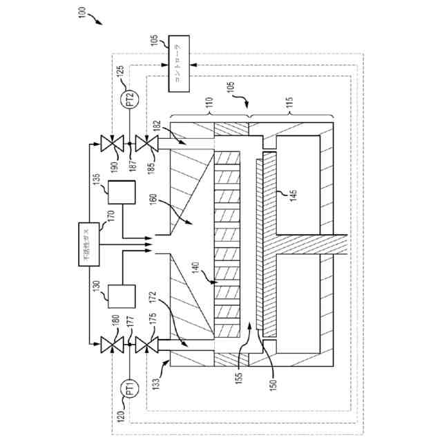
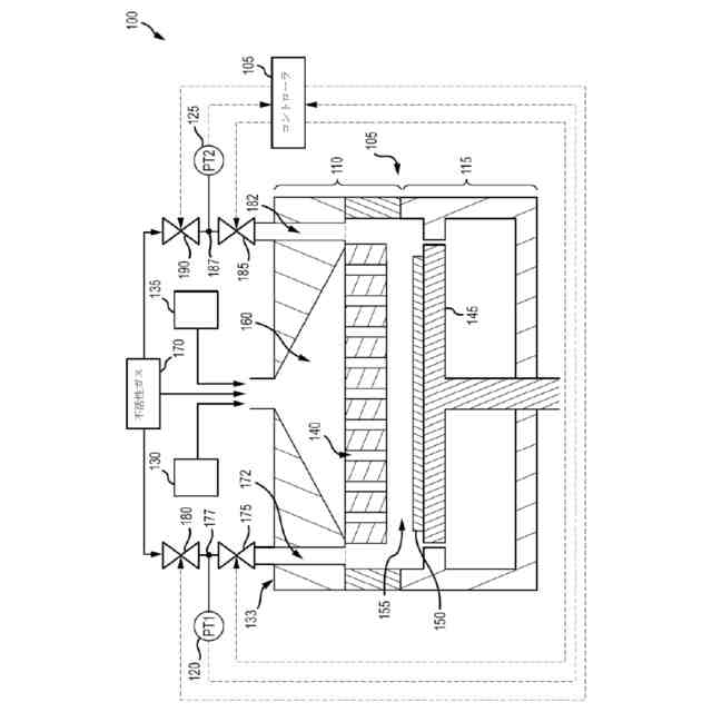
容器に連結されている入口を備えるガス分配システムであって、前記容器は前駆体を収容するように構成されている、ガス分配システムと、
前記ガス分配システムの下方に配置されており、サセプタと、前記サセプタおよび前記ガス分配システムにより画定されている反応空間と、を備える反応チャンバと、
圧力モニタシステムであって、
前記反応空間に連結されており、前記反応空間と流体連通している第1弁と、
第1接合部において前記第1弁と直列に連結されている第2弁と、
前記反応空間に連結されており、前記反応空間と流体連通している第3弁と、
第2接合部において前記第3弁と直列に連結されている第4弁と、
前記第1接合部に連結されている第1圧力センサと、
前記第2接合部に連結されている第2圧力センサと、を含む圧力モニタシステムと、を備える装置。
続きを表示(約 1,000 文字)
【請求項2】
前記第1弁と、前記第2弁と、前記第3弁と、前記第4弁とは、前記反応チャンバおよびガス分配システムの外側に配置されている、請求項1に記載の装置。
【請求項3】
前記第1圧力センサおよび前記第2圧力センサは、前記反応チャンバおよびガス分配システムの外側に配置されている、請求項1に記載の装置。
【請求項4】
前記圧力モニタシステムは不活性ガス源に連結されている、請求項1に記載の装置。
【請求項5】
前記第1弁と、前記第2弁と、前記第3弁と、前記第4弁とのそれぞれを互いに独立して動作させるように構成されているコントローラをさらに備える請求項1に記載の装置。
【請求項6】
前記第1圧力センサおよび前記第2圧力センサは、圧力変換器を備える、請求項1に記載の装置。
【請求項7】
前記第1弁および前記第3弁は、前記反応空間と直接流体連通して連結されている、請求項1に記載の装置。
【請求項8】
前記圧力モニタシステムに連結されている不活性ガス源をさらに備える請求項1に記載の装置。
【請求項9】
装置であって、
容器に連結されている入口を備えるガス分配システムであって、前記容器は前駆体を収容するように構成されている、ガス分配システムと、
前記ガス分配システムの下方に配置されており、サセプタと、前記サセプタおよび前記ガス分配システムにより画定されている反応空間と、を備える反応チャンバと、
前記反応チャンバおよび前記ガス分配システムの外部に配置されている圧力モニタシステムであって、
前記反応空間に連結されており、前記反応空間と流体連通している複数の第1弁と、
前記反応空間に連結されており、前記反応空間と流体連通している複数の第2弁であって、前記反応空間により前記複数の第1弁から分離されている複数の第2弁と、
複数の圧力センサであって、少なくとも1つの圧力センサは前記複数の第1弁に連結されており、少なくとも1つの圧力センサは前記複数の第2弁に連結されている、複数の圧力センサと、を含む圧力モニタシステムと、を備える装置。
【請求項10】
前記複数の第1弁は、
前記反応空間に直接連結されており、前記反応空間と流体連通している第1弁と、
第1接合部において前記第1弁と直列に連結されている第2弁と、を含む、請求項9に記載の装置。
(【請求項11】以降は省略されています)
発明の詳細な説明
【技術分野】
【0001】
本開示は概して、反応空間圧力測定のための方法および装置に関する。より具体的には、本開示は、反応空間に連結された複数の圧力センサを有するリアクタであって、圧力センサを分離することができるリアクタに関する。
続きを表示(約 1,100 文字)
【背景技術】
【0002】
従来の反応チャンバは、堆積中にウエハが位置する反応空間内の圧力を直接測定する方法を有しない。圧力センサ上に蓄積する膜により、反応空間内に圧力センサを設置することは望ましくなく、最終的に圧力センサの故障、または圧力センサの誤測定を生ずる。
【発明の概要】
【課題を解決するための手段】
【0003】
本技術の様々な実施形態は、反応空間を有するリアクタを有するシステム、および反応空間内の圧力を測定するように構成された圧力監視システムを提供し得る。圧力監視システムは、2つ以上の圧力センサを含む構成であってもよく、各圧力センサは、圧力センサの上流に配置された1つの弁と、および圧力センサの下流に配置された別の弁との2つの弁で分離することができる構成であってもよい。
【0004】
一態様によれば、本装置は、容器に連結されている入口を備えるガス分配システムであって、容器は前駆体を収容するように構成されている、ガス分配システムと、ガス分配システムの下方に配置されており、サセプタと、サセプタおよびガス分配システムにより画定されている反応空間と、を備える反応チャンバと、圧力モニタシステムであって、反応空間に連結されており、反応空間と流体連通している第1弁と、第1接合部において第1弁と直列に連結されている第2弁と、反応空間に連結されており、反応空間と流体連通している第3弁と、第2接合部において第3弁と直列に連結されている第4弁と、第1接合部に連結されている第1圧力センサと、第2接合部に連結されている第2圧力センサと、を含む圧力モニタシステムと、を備える。
【0005】
上記の装置の一実施形態では、第1弁と、第2弁と、第3弁と、第4弁とは、反応チャンバおよびガス分配システムの外側に配置されている。
【0006】
上記の装置の一実施形態では、第1圧力センサおよび第2圧力センサは、反応チャンバおよびガス分配システムの外側に配置されている。
【0007】
上記の装置の一実施形態では、圧力モニタシステムは、不活性ガス源に連結されている。
【0008】
一実施形態では、上記の装置は、第1弁と、第2弁と、第3弁と、第4弁とのそれぞれを互いに独立して動作させるように構成されているコントローラをさらに備える。
【0009】
上記の装置の一実施形態では、第1圧力センサおよび第2圧力センサは、圧力変換器を備える。
【0010】
上記の装置の一実施形態では、第1弁および第3弁は、反応空間と直接流体連通して連結されている。
(【0011】以降は省略されています)
この特許をJ-PlatPat(特許庁公式サイト)で参照する
関連特許
個人
フッ素樹脂塗装鋼板の保管方法
3か月前
株式会社カネカ
製膜装置
1か月前
株式会社カネカ
製膜装置
1か月前
株式会社京都マテリアルズ
めっき部材
1か月前
トヨタ自動車株式会社
治具
26日前
株式会社三愛工業所
アルミニウム材
6か月前
株式会社オプトラン
蒸着装置
7か月前
株式会社KSマテリアル
防錆組成物
4か月前
日本化学産業株式会社
複合めっき皮膜
3か月前
エドワーズ株式会社
真空排気システム
1か月前
台灣晶技股ふん有限公司
無電解めっき法
2か月前
日東電工株式会社
積層体の製造方法
6か月前
東京エレクトロン株式会社
成膜方法
2か月前
JFEスチール株式会社
鋼部品
3か月前
株式会社カネカ
気化装置及び製膜装置
1か月前
信越半導体株式会社
真空蒸着方法
6か月前
株式会社アルバック
マスクユニット
1か月前
東京エレクトロン株式会社
基板処理装置
7か月前
TOTO株式会社
構造部材
1か月前
株式会社内村
防食具、防食具の設置方法
2か月前
DOWAサーモテック株式会社
浸炭方法
6か月前
住友重機械工業株式会社
成膜装置
4か月前
住友重機械工業株式会社
成膜装置
5か月前
東京エレクトロン株式会社
基板処理装置
5か月前
東京エレクトロン株式会社
基板処理装置
7か月前
黒崎播磨株式会社
溶射装置
2か月前
株式会社アルバック
基板ステージ装置
1か月前
国立大学法人千葉大学
成膜装置及び成膜方法
2か月前
日本コーティングセンター株式会社
炭化ホウ素被膜
1か月前
株式会社デンソー
接合体
2か月前
フジタ技研株式会社
被覆部材、及び、表面被覆金型
1か月前
川崎重工業株式会社
水素遮蔽膜
3か月前
ケニックス株式会社
蒸発源装置
3か月前
信越化学工業株式会社
炭化金属被覆材料
5日前
黒崎播磨株式会社
溶射用ランス
5か月前
株式会社アルバック
成膜装置、および搬送方法
3か月前
続きを見る
他の特許を見る