TOP
|
特許
|
意匠
|
商標
特許ウォッチ
Twitter
他の特許を見る
10個以上の画像は省略されています。
公開番号
2025172014
公報種別
公開特許公報(A)
公開日
2025-11-20
出願番号
2025077041
出願日
2025-05-05
発明の名称
ユーザ機器で使用される方法、ネットワークデバイスで使用される方法、及びユーザ機器
出願人
エイサー インコーポレイテッド
,
ACER INCORPORATED
代理人
個人
主分類
H04W
72/23 20230101AFI20251113BHJP(電気通信技術)
要約
【課題】ユーザ機器によって使用される方法、ネットワークデバイスによって使用される方法、及びユーザ機器を提供する。
【解決手段】
前記方法では、検索空間(SS)セット構成が受信され、SSセット構成に従ってダウンリンク制御情報(DCI)が受信される。SSセットは、第1制御リソースセット(CORESET)で構成される。第1CORESETは、第1送信構成表示(TCI)状態で構成される。第1TCI状態は、1つの参照参照信号(RS)で構成される。参照RSは、空間受信機(RX)パラメータに関連付けられる。
【選択図】図13
特許請求の範囲
【請求項1】
検索空間(SS)セット構成を受信することと、
前記SSセット構成に従ってダウンリンク制御情報(DCI)を受信することと、
を含み、
SSセットは、第1制御リソースセット(CORESET)で構成され、
前記第1CORESETは、第1送信構成表示(TCI)状態で構成され、
前記第1TCI状態は、1つの参照参照信号(RS)で構成され、
前記参照RSは、空間受信機(Rx)パラメータに関連付けられる、
無線通信システムにおいてユーザ機器(UE)に使用される方法。
続きを表示(約 980 文字)
【請求項2】
第1リソースタイプ、又は
第2リソースタイプ、
の少なくとも1つに関連付けられた前記DCI又は前記SSセットを受信するための構成を受信することを更に含む請求項1に記載の方法。
【請求項3】
受信したDCI又はSSセットは、前記第1リソースタイプ及び前記第2リソースタイプに関連付けられる請求項2に記載の方法。
【請求項4】
チャネル状態情報(CSI)レポート構成を受信することと、
前記CSIレポート構成に従ってCSIを報告することと、
を更に含み、
前記CSIレポート構成は、ダウンリンク(DL)RS及び第1リソースタイプに関連付けられる請求項1に記載の方法。
【請求項5】
前記第1リソースタイプ内の前記DLRSの複数の送信機会が前記CSIの導出のために使用される請求項4に記載の方法。
【請求項6】
前記第1リソースタイプは、サブバンド全二重又はDLに関連付けられる請求項4に記載の方法。
【請求項7】
DLサブバンドの周波数リソースと重複する前記DLRSの周波数リソースは、パンクチャリングされる請求項4に記載の方法。
【請求項8】
前記DLRSの周波数リソースは、DLのリソース内でのみ適用される請求項4に記載の方法。
【請求項9】
前記SSセットは、第2CORESETで構成され、
前記第2CORESETは、第2TCI状態で構成され、
前記第1CORESETは、第1リソースタイプに関連付けられ、
前記第2CORESETは、第2リソースタイプに関連付けられる請求項1に記載の方法。
【請求項10】
前記SSセット構成に従って前記DCIを受信することは、
前記SSセットが前記第1リソースタイプにおいて監視される場合、前記第1TCI状態を有する前記第1CORESETによって前記DCIを受信することと、
前記SSセットが前記第2リソースタイプにおいて監視される場合、前記第2TCI状態を有する前記第2CORESETによって前記DCIを受信することと、
を含む請求項9に記載の方法。
(【請求項11】以降は省略されています)
発明の詳細な説明
【技術分野】
【0001】
本発明は、一般的に、ユーザ機器によって使用される方法、ネットワークデバイスによって使用される方法、及びユーザ機器に関する。
続きを表示(約 6,700 文字)
【背景技術】
【0002】
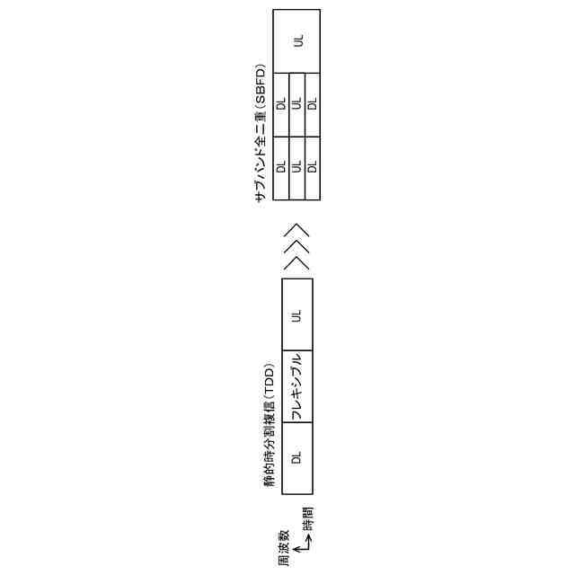
図1は、静的時分割複信(TDD)とサブバンド全二重(SBFD)を示す概略図である。図1を参照し、デュプレックス操作では、新しい時間リソースタイプであるSBFDが導入される。SBFDでは、ダウンリンク(DL)サブバンドとアップリンク(UL)サブバンドが同じシンボルに割り当てられる。但し、時分割複信(TDD)では、DL帯域とUL帯域は同じシンボルに割り当てられない。
【0003】
図2は、マルチパネル伝送方式における同時送信(Tx)と受信(Rx)を示す概略図である。図2を参照し、同時Tx/Rxと隣接チャネル干渉の低減のために、別個のアンテナパネルがサポートされ得る。例えば、UL送信の場合はパネル1、DL受信の場合はパネル2である。但し、DL受信用の同じビーム(例えば、ビーム#A)がSBFDリソースだけでなく非SBFDリソースにも存在する可能性があり、SBFDリソースと非SBFDリソースの両方でDL受信にビームが不適切に適用されることでパフォーマンスの低下が発生する。
【発明の概要】
【発明が解決しようとする課題】
【0004】
したがって、本発明は、ユーザ機器(UE)によって使用される方法、ネットワークデバイスによって使用される方法、及びUEに関する。
【課題を解決するための手段】
【0005】
本発明の1つ又は複数の例示的な実施形態によれば、無線通信システムにおいてユーザ機器(UE)によって使用される方法が提供される。この方法は、検索空間(SS)セット構成を受信することと、SSセット構成に従ってダウンリンク制御情報(DCI)を受信することとを含む。SSセットは、第1制御リソースセット(CORESET)で構成される。第1CORESETは、第1送信構成表示(TCI)状態で構成される。第1TCI状態は、1つの参照参照信号(RS)で構成される。参照RSは空間受信機(RX)パラメータに関連付けられる。
【0006】
本発明の1つ又は複数の例示的な実施形態によれば、UEは、トランシーバ、メモリ、及びプロセッサを含む。トランシーバは、信号の送信又は受信に使用される。メモリは、プログラムコードを格納するために使用される。プロセッサは、トランシーバ及びメモリに結合されている。プロセッサは、トランシーバを介してSSセット構成を受信し、SSセット構成に従ってトランシーバを介してDCIを受信するプログラムを実行するように設定される。SSセットは、第1CORESETで構成される。第1CORESETは、第1TCI状態で構成される。第1TCI状態は、1つの参照RSで構成される。参照RSは、空間RXパラメータに関連付けられる。
【0007】
本発明の1つ又は複数の例示的な第実施形態によれば、無線通信システム内のネットワークデバイスによって使用される方法が提供される。この方法は、SSセット構成を送信することと、SSセット構成に従ってDCIを送信することとを含む。SSセットは、第1CORESETで構成される。第1CORESETは、第1TCI状態で構成される。第1TCI状態は1つの参照RSで構成される。参照RSは、空間RXパラメータに関連付けられる。
【0008】
より分かりやすくするために、いくつかの実施形態を図とともに詳しく説明する。
【図面の簡単な説明】
【0009】
添付の図面は、本発明のさらなる理解を提供するものであり、本明細書に組み込まれ、その一部を構成する。図面は、本発明の例示的な実施形態を示しており、説明文と併せて本発明の原理を説明するものである。
静的時分割複信(TDD)とサブバンド全二重(SBFD)を示す概略図である。
マルチパネル伝送方式における同時送信(Tx)と受信(Rx)を示す概略図である。
DCI受信のための検索空間SSセット監視を示す概略図である。
媒体アクセス制御(MAC)制御素子(CE)における伝送構成表示(TCI)状態を示す概略図である。
一般的なタイプのSSセットを示す概略図である。
UE固有のSSセットを示す概略図である。
TDDにおけるリソース割り当てを示す概略図である。
SBFDにおけるリソース割り当てを示す概略図である。
非SBFDシンボルのビーム管理を示す概略図である。
SBFDシンボルのビーム管理を示す概略図である。
非SBFDリソースとSBFDリソースの2つのCSIレポート構成を含むチャネル状態情報(CSI)レポートを示す概略図である。
非SBFDリソースとSBFDリソースの1つのCSIレポート構成を含むCSIレポートを示す概略図である。
パネルスワッピングなしのSBFDシンボルのビーム管理を示す概略図である。
パネルスワッピングありのSBFDシンボルのビーム管理を示す概略図である。
非SBFDリソースとSBFDリソースの3つのCSIレポート構成を含むCSIレポートを示す概略図である。
非SBFDリソースとSBFDリソースの1つのCSIレポート構成を含むCSIレポートを示す概略図である。
本発明の例示的な実施形態による無線通信ネットワークアーキテクチャを示す概略図である。
本発明の例示的な実施形態による方法を示すフローチャートである。
本発明の例示的な実施形態による2つの制御リソースセット(CORESETs)に関連付けられた1つのSSセットを示す概略図である。
本発明の例示的な実施形態によるSSセットを監視するためのリソース割り当てを示す概略図である。
本発明の例示的な実施形態による非SBFDシンボル及びSBFDシンボルに使用される共通タイプのSSセットを示す概略図である。
本発明の例示的な実施形態によるSSセットを監視するためのリソース割り当てを示す概略図である。
本発明の例示的な実施形態による1つ又は2つのCORESETsに関連付けられたSSセットを示すフローチャートである。
本発明の例示的な実施形態による非SBFDシンボル及びSBFDシンボルに使用されるUE固有タイプのSSセットを示す概略図である。
本発明の例示的な実施形態によるSSセットを監視するためのリソース割り当てを示す概略図である。
本発明の例示的な実施形態による非SBFDシンボル及びSBFDシンボルに使用される共通タイプのSSセットを示す概略図である。
本発明の例示的な実施形態によるSSセットを監視するためのリソース割り当てを示す概略図である。
本発明の例示的な実施形態による非SBFDシンボル及びSBFDシンボルに使用される2つのSSセットを示す概略図である。
本発明の例示的な実施形態による非SBFDシンボル及びSBFDシンボルに使用される3つのSSセットを示す概略図である。
本発明の例示的な実施形態による1つ又は2つのTCI状態に関連付けられたSSセットを示すフローチャートである。
本発明の例示的な実施形態による2つのTCI状態とCORESETアイデンティティ(ID)との関連付けを示す概略図である。
本発明の例示的な実施形態によるTCI状態表示を示す概略図である。
本発明の例示的な実施形態による単一周波数ネットワーク(SFN)とSBFDとの共存を示す概略図である。
本発明の例示的な実施形態によるTCI状態表示を示す概略図である。
本発明の例示的な実施形態によるTCI状態表示を示す概略図である。
本発明の例示的な実施形態によるSFNとSBFDとの共存を示す概略図である。
本発明の例示的な実施形態によるTCI状態表示を示す概略図である。
本発明の例示的な実施形態によるSFNとSBFDとの共存を示す概略図である。
本発明の例示的な実施形態によるTCI状態表示を示す概略図である。
本発明の例示的な実施形態によるSFNとSBFDとの共存を示す概略図である。
本発明の例示的な実施形態によるTCI状態表示を示す概略図である。
本発明の例示的な実施形態によるTCI状態表示を示す概略図である。
本発明の例示的な実施形態によるSFNとSBFDとの共存を示す概略図である。
本発明の例示的な実施形態によるTCI状態表示を示す概略図である。
本発明の例示的な実施形態によるSFNとSBFDとの共存を示す概略図である。
本発明の例示的な実施形態によるTCI状態と2つの参照RSとの関連付けを示す概略図である。
本発明の例示的な実施形態によるTCI状態表示を示す概略図である。
本発明の例示的な実施形態によるUE固有タイプのSSセットと2つの参照RSとの関連付けを示す概略図である。
本発明の例示的な実施形態によるSSセットを監視するためのリソース割り当てを示す概略図である。
本発明の例示的な実施形態による共通タイプのSSセットと1つの参照RSとの関連付けを示す概略図である。
本発明の例示的な実施形態によるSSセットを監視するためのリソース割り当てを示す概略図である。
本発明の例示的な実施形態による2つのSSセットと2つの参照RSとの関連付けを示す概略図である。
本発明の例示的な実施形態による2つのSSセットと3つの参照RSとの関連付けを示す概略図である。
本発明の例示的な実施形態による非SBFDシンボルに関連付けられた1つのRSを示す概略図である。
本発明の例示的な実施形態によるSBFDシンボルに関連付けられた1つのRSを示す概略図である。
本発明の例示的な実施形態による2つのRxビームのCSIレポート構成を示す概略図である。
本発明の例示的な実施形態による、1つのCORESETIDと2つのRxビームとの関連付けを示す概略図である。
本発明の例示的な実施形態によるSSセットを監視するためのリソース割り当てを示す概略図である。
本発明の例示的な実施形態による3つのRxビームのCSIレポート構成を示す概略図である。
本発明の例示的な実施形態による1つのCORESETIDと3つのRxビームとの関連付けを示す概略図である。
本発明の例示的な実施形態による2つのCSIレポート構成と2つのRxビームとの関連付けを示す概略図である。
本発明の例示的な実施形態によるTCI状態表示を示す概略図である。
本発明の例示的な実施形態によるTCI状態表示を示す概略図である。
本発明の例示的な実施形態による、2つのCSIレポート構成と、非SBFDシンボル及びSBFDシンボルについての2つのRxビームとの関連付けを示す概略図である。
本発明の例示的な実施形態による、1つのCORESETIDと非SBFDシンボル及びSBFDシンボルの2つのRxビームとの関連付けを示す概略図である。
本発明の例示的な実施形態によるSSセットを監視するためのリソース割り当てを示す概略図である。
本発明の例示的な実施形態によるUE機能0を示す概略図である。
本発明の例示的な実施形態によるUE機能Aを示す概略図である。
本発明の例示的な実施形態によるUE機能Bを示す概略図である。
本発明の例示的な実施形態による個別のRxビームに対応する個別のCSIレポートを示す概略図である。
本発明の例示的な実施形態によるTCI状態表示を示す概略図である。
本発明の例示的な実施形態による個別のRxビームに対応する個別のCSIレポートを示す概略図である。
本発明の例示的な実施形態による暗黙的なリソースタイプの関連付けを示す概略図である。
本発明の例示的な実施形態によるSSセットを監視するためのリソース割り当てを示す概略図である。
本発明の例示的な実施形態による明示的なリソースタイプの関連付けを示す概略図である。
本発明の例示的な実施形態によるSSセットを監視するためのリソース割り当てを示す概略図である。
本発明の例示的な実施形態による暗黙的なリソースタイプの関連付けを示す概略図である。
本発明の例示的な実施形態によるSSセットを監視するためのリソース割り当てを示す概略図である。
本発明の例示的な実施形態による明示的なリソースタイプの関連付けを示す概略図である。
本発明の例示的な実施形態によるSSセットを監視するためのリソース割り当てを示す概略図である。
本発明の例示的な実施形態による共通タイプのSSセットと1つのTCI状態との関連付けを示す概略図である。
本発明の例示的な実施形態によるSSセットを監視するためのリソース割り当てを示す概略図である。
本発明の例示的な実施形態による、共通タイプのSSセットと非SBFDシンボル及びSBFDシンボルの2つのTCI状態との関連付けを示す概略図である。
本発明の例示的な実施形態によるSSセットを監視するためのリソース割り当てを示す概略図である。
本発明の例示的な実施形態による、共通タイプのSSセットと非SBFDシンボル及びSBFDシンボルの2つのTCI状態との関連付けを示す概略図である。
本発明の例示的な実施形態によるSSセットを監視するためのリソース割り当てを示す概略図である。
本発明の例示的な実施形態による、共通タイプのSSセットと非SBFDシンボル及びSBFDシンボルの2つのTCI状態との関連付けを示す概略図である。
本発明の例示的な実施形態による、共通タイプのSSセットと非SBFDシンボル及びSBFDシンボルの2つの参照RSとの関連付けを示す概略図である。
本発明の例示的な実施形態によるSSセットを監視するためのリソース割り当てを示す概略図である。
本発明の例示的な実施形態による、1つのCORESETIDと、非SBFDシンボル及びSBFDシンボルに対する1つのRxビームとの関連付けを示す概略図である。
本発明の例示的な実施形態による、共通タイプと、非SBFDシンボル及びSBFDシンボルのための1つのRxビームとのSSセットとの関連付けを示す概略図である。
本発明の例示的な実施形態による、非SBFDシンボル及びSBFDシンボルについてのSSセットと1つ又は2つのTCI状態との関連付けを示す概略図である。
本発明の例示的な実施形態によるSSセットを監視するためのリソース割り当てを示す概略図である。
本発明の例示的な実施形態による2つのSSセットと2つのTCI状態との関連付けを示す概略図である。
本発明の例示的な実施形態によるSSセットを監視するためのリソース割り当てを示す概略図である。
本発明の例示的な実施形態による、非SBFDシンボル及びSBFDシンボルについてSSセットと1つ又は2つの参照RSとの関連付けを示す概略図である。
本発明の例示的な実施形態によるSSセットを監視するためのリソース割り当てを示す概略図である。
本発明の例示的な実施形態による2つのSSセットと2つの参照RSとの関連付けを示す概略図である。
【発明を実施するための形態】
【0010】
以下、添付図面に示される本発明の好ましい実施形態について詳細に説明する。図面及び説明において、同一又は類似の部品には可能な限り同一の部材符号を付して示す。
(【0011】以降は省略されています)
この特許をJ-PlatPat(特許庁公式サイト)で参照する
関連特許
エイサー インコーポレイテッド
ユーザ機器で使用される方法、ネットワークデバイスで使用される方法、及びユーザ機器
4日前
エイサー インコーポレイテッド
ユーザ機器で使用される方法、ネットワークデバイスで使用される方法、及びユーザ機器
4日前
エイサー インコーポレイテッド
ユーザー機器によって使用される方法、ネットワークデバイスによって使用される方法、およびユーザー機器
4日前
個人
イヤーピース
17日前
個人
イヤーマフ
1か月前
個人
監視カメラシステム
1か月前
個人
スイッチシステム
25日前
キーコム株式会社
光伝送線路
1か月前
WHISMR合同会社
収音装置
2か月前
個人
スキャン式車載用撮像装置
1か月前
サクサ株式会社
中継装置
1か月前
サクサ株式会社
中継装置
1か月前
キヤノン株式会社
撮像装置
2か月前
アイホン株式会社
電気機器
2か月前
キヤノン電子株式会社
画像読取装置
1か月前
ヤマハ株式会社
放音制御装置
25日前
個人
映像表示装置、及びARグラス
26日前
株式会社リコー
画像形成装置
1か月前
サクサ株式会社
無線システム
1か月前
キヤノン電子株式会社
画像読取装置
2か月前
サクサ株式会社
無線通信装置
1か月前
株式会社リコー
画像形成装置
2か月前
キヤノン電子株式会社
画像読取装置
25日前
サクサ株式会社
無線通信装置
1か月前
株式会社リコー
画像形成装置
2か月前
個人
ワイヤレスイヤホン対応耳掛け
2か月前
キヤノン電子株式会社
画像読取装置
17日前
キヤノン株式会社
撮像システム
2か月前
キヤノン株式会社
情報処理装置
4日前
個人
発信機及び発信方法
1か月前
日本電気株式会社
海底分岐装置
1か月前
キヤノン株式会社
画像処理装置
20日前
キヤノン電子株式会社
シート搬送装置
17日前
パテントフレア株式会社
超高速電波通信
2か月前
日本セラミック株式会社
超音波送受信器
4日前
株式会社松平商会
携帯機器カバー
2か月前
続きを見る
他の特許を見る