TOP
|
特許
|
意匠
|
商標
特許ウォッチ
Twitter
他の特許を見る
公開番号
2025171894
公報種別
公開特許公報(A)
公開日
2025-11-20
出願番号
2024107078,2024077170
出願日
2024-07-03,2024-05-10
発明の名称
ソフトウェアの技術文書を生成するための装置、方法及びそのためのプログラム
出願人
ジテラ プライベート リミテッド
代理人
弁理士法人M&O
主分類
G06F
8/73 20180101AFI20251113BHJP(計算;計数)
要約
【課題】コード管理システムで管理されるソースコードに対応する技術文書を生成するための方法を提供することにある。
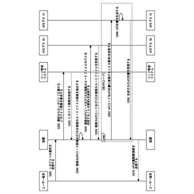
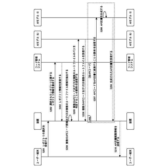
【解決手段】装置100は、ユーザー端末110から受信したレポジトリの選択に応じて、当該レポジトリに関するレポジトリ情報をコード管理システム130から受信する(S201乃至S203)。装置100は、次いで、当該リポジトリ情報から、複数のAPIコード候補及び1又は複数のルートファイル候補を抽出する(S204)。そして、装置100は、抽出されたファイル候補を用いて、複数のAPIコード及び1又は複数のルートファイルのパスを判定することを生成AIモデル(k)に要求し(S205)、判定されたパスを受信する(S206)。装置100は、各APIコードについて、当該APIコードに対応するAPI文書を生成することを生成AIモデル(l)に要求し、生成された技術文書を受信して記憶する(S207乃至S209)。
【選択図】図2
特許請求の範囲
【請求項1】
コード管理システムで管理されるソースコードに対応する技術文書を生成するための方法であって、
前記ソースコードが管理されるリポジトリに関するリポジトリ情報を受信するステップと、
前記リポジトリ情報から、複数のAPIコード及び1又は複数のルートファイルのパスを判定するステップと、
前記複数のAPIコードのうちの少なくともいずれかについて、当該APIコードに対応するAPI文書を生成することを生成AIモデルである第1のAIモデルに要求する第1の要求を行うステップであって、前記第1の要求は、前記1又は複数のルートファイルの中のコードを含むステップと、
生成された1又は複数のAPI文書を記憶するステップと
を含む。
続きを表示(約 1,900 文字)
【請求項2】
請求項1に記載の方法であって、
前記判定するステップは、
前記リポジトリ情報から、前記複数のAPIコード及び前記1又は複数のルートファイルのパスを判定することを生成AIモデルである第2のAIモデルに要求する第2の要求を行うステップを含む。
【請求項3】
請求項1に記載の方法であって、
前記判定は、前記リポジトリのディレクトリ構造を用いて行う。
【請求項4】
請求項1から3のいずれかに記載の方法であって、
前記1又は複数のAPI文書のうちの少なくともいずれかを閲覧するためのAPI文書閲覧情報をユーザー端末に送信するステップをさらに含む。
【請求項5】
コード管理システムで管理されるソースコードに対応する技術文書を生成するための方法であって、
前記ソースコードが管理されるリポジトリに関するリポジトリ情報を受信するステップと、
前記リポジトリ情報から、複数のビジネスロジックコードのパスを判定するステップと、
前記複数のビジネスロジックコードの少なくともいずれかについて、当該ビジネスロジックコードに対応するビジネスロジックを生成することを生成AIモデルである第1のAIモデルに要求する第1の要求を行うステップと、
生成された1又は複数のビジネスロジックを記憶するステップと
を含む。
【請求項6】
コンピュータに、コード管理システムで管理されるソースコードに対応する技術文書を生成するための方法を実行させるためのプログラムであって、前記方法は、
前記ソースコードが管理されるリポジトリに関するリポジトリ情報を受信するステップと、
前記リポジトリ情報から、複数のAPIコード及び1又は複数のルートファイルのパスを判定するステップと、
前記複数のAPIコードの少なくともいずれかについて、当該APIコードに対応するAPI文書を生成することを生成AIモデルである第1のAIモデルに要求する第1の要求を行うステップであって、前記第1の要求は、前記1又は複数のルートファイルの中のコードを含むステップと、
生成された1又は複数のAPI文書を記憶するステップと
を含む。
【請求項7】
コード管理システムで管理されるソースコードに対応する技術文書を生成するための装置であって、
前記ソースコードが管理されるリポジトリに関するリポジトリ情報を受信し、
前記リポジトリ情報から、複数のAPIコード及び1又は複数のルートファイルのパスを判定し、
前記複数のAPIコードの少なくともいずれかについて、当該APIコードに対応するAPI文書を生成することを生成AIモデルである第1のAIモデルに要求する第1の要求であって、前記1又は複数のルートファイルの中のコードを含む第1の要求を行い、
生成された1又は複数のAPI文書を記憶するように構成されている。
【請求項8】
コンピュータに、コード管理システムで管理されるソースコードに対応する技術文書を生成するための方法を実行させるためのプログラムであって、前記方法は、
前記ソースコードが管理されるリポジトリに関するリポジトリ情報を受信するステップと、
前記リポジトリ情報から、複数のビジネスロジックコードのパスを判定するステップと、
前記複数のビジネスロジックコードの少なくともいずれかについて、当該ビジネスロジックコードに対応するビジネスロジックを生成することを生成AIモデルである第1のAIモデルに要求する第1の要求を行うステップと、
生成された1又は複数のビジネスロジックを記憶するステップと
を含む。
【請求項9】
コード管理システムで管理されるソースコードに対応する技術文書を生成するための装置であって、
前記ソースコードが管理されるリポジトリに関するリポジトリ情報を受信し、
前記リポジトリ情報から、複数のビジネスロジックコードのパスを判定し、
前記複数のビジネスロジックコードの少なくともいずれかについて、当該ビジネスロジックコードに対応するビジネスロジックを生成することを生成AIモデルである第1のAIモデルに要求する第1の要求を行い、
生成された複数のビジネスロジックを記憶するように構成されている。
発明の詳細な説明
【技術分野】
【0001】
本発明は、ソフトウェアの技術文書を生成するための装置、方法及びそのためのプログラムに関する。
続きを表示(約 1,500 文字)
【背景技術】
【0002】
ソフトウェアの開発にはさまざまな手法があり、その1つにおいては、まず、ユースケースを作成し、次いで、より技術的な詳細が記述された技術文書を作成し、そして、作成された技術文書に基づいて必要なコーディングが行われて、ソースコードが作成される。
【0003】
近年、技術文書に基づくソースコードの自動生成を行う技術の開発が進んでおり、たとえば、出願人は、ソフトウェアで必要な複数のテーブル及びAPIに関するテーブル定義及びAPI定義を取得し、当該テーブル定義及びAPI定義に従ったソースコードを生成する技術を開示している(特許文献1参照)。
【先行技術文献】
【特許文献】
【0004】
特開2023-031251号公報
【発明の概要】
【発明が解決しようとする課題】
【0005】
こうしたソースコードの自動生成技術を用いたサービスのユーザーは、生成されたソースコードを一般にGitHub(登録商標)等のコード管理システムで管理する。実際に当該ソースコードを用いてソフトウェアを提供していく中で機能の変更又は追加が必要になれば、当該ソースコードには修正が加えられる。このような修正が生じると、ソースコード生成サービスに保持された技術文書は、当該ソースコードと対応しないものとなってしまうため、当該サービスをさらに用いて機能の拡充を行いたいとしても、当該サービス外で加えられた修正と整合しないソースコードが生成されてしまう。
【0006】
また、既存のソフトウェアに関して、ソースコード生成サービスを用いて機能の変更又は追加をしたいユーザーにとっては、そもそも当該ソフトウェアに対応する技術文書が当該サービスに保持されていないため、利用することができない。
【0007】
本発明は、このような点に鑑みてなされたものであり、コード管理システムで管理されるソースコードに対応する技術文書を生成するための装置、方法又はそのためのプログラムを提供することにある。
【課題を解決するための手段】
【0008】
このような目的を達成するために、本発明の第1の態様は、コード管理システムで管理されるソースコードに対応する技術文書を生成するための方法であって、前記ソースコードが管理されるリポジトリに関するリポジトリ情報を受信するステップと、前記リポジトリ情報から、複数のAPIコード及び1又は複数のルートファイルのパスを判定するステップと、前記複数のAPIコードの少なくともいずれかについて、当該APIコードに対応するAPI文書を生成することを生成AIモデルである第1のAIモデルに要求する第1の要求を行うステップであって、前記第1の要求は、前記1又は複数のルートファイルの中のコードを含むステップと、生成された1又は複数のAPI文書を記憶するステップとを含む。
【0009】
また、本発明の第2の態様は、第1の態様の方法であって、前記判定するステップは、前記リポジトリ情報から、前記複数のAPIコード及び前記1又は複数のルートファイルのパスを判定することを生成AIモデルである第2のAIモデルに要求する第2の要求を行うステップを含む。
【0010】
また、本発明の第3の態様は、第2の態様の方法であって、前記判定するステップは、前記第2の要求を行う前に、前記リポジトリ情報から、複数のAPIコード候補及び1又は複数のルートファイル候補を抽出するステップをさらに含む。
(【0011】以降は省略されています)
この特許をJ-PlatPat(特許庁公式サイト)で参照する
関連特許
個人
詐欺保険
1か月前
個人
縁伊達ポイン
1か月前
個人
5掛けポイント
15日前
個人
職業自動販売機
8日前
個人
RFタグシート
26日前
個人
ペルソナ認証方式
23日前
個人
地球保全システム
1か月前
個人
QRコードの彩色
1か月前
個人
情報処理装置
18日前
個人
自動調理装置
25日前
個人
残土処理システム
1か月前
個人
農作物用途分配システム
1か月前
個人
サービス情報提供システム
10日前
個人
タッチパネル操作指代替具
1か月前
個人
インターネットの利用構造
22日前
個人
知的財産出願支援システム
1か月前
個人
携帯端末障害問合せシステム
1か月前
個人
スケジュール調整プログラム
1か月前
株式会社キーエンス
受発注システム
1か月前
株式会社キーエンス
受発注システム
1か月前
個人
食品レシピ生成システム
1か月前
株式会社キーエンス
受発注システム
1か月前
個人
海外支援型農作物活用システム
2か月前
個人
エリアガイドナビAIシステム
23日前
個人
システム及びプログラム
2か月前
キヤノン株式会社
情報処理装置
16日前
トヨタ自動車株式会社
通知装置
29日前
エッグス株式会社
情報処理装置
1か月前
株式会社ケアコム
項目選択装置
18日前
個人
未来型家系図構築システム
2か月前
株式会社ワコム
電子ペン
17日前
株式会社ワコム
電子ペン
17日前
株式会社ケアコム
項目選択装置
18日前
キヤノン株式会社
表示システム
1か月前
大同特殊鋼株式会社
疵判定方法
1か月前
個人
音声・通知・再配達UX制御構造
1か月前
続きを見る
他の特許を見る