TOP
|
特許
|
意匠
|
商標
特許ウォッチ
Twitter
他の特許を見る
10個以上の画像は省略されています。
公開番号
2025171823
公報種別
公開特許公報(A)
公開日
2025-11-20
出願番号
2024077525
出願日
2024-05-10
発明の名称
手提げケース
出願人
株式会社東京ボックス
代理人
個人
主分類
A45C
5/00 20060101AFI20251113BHJP(手持品または旅行用品)
要約
【課題】その外観に個性を表現することが可能であると共に、安価に製造できる手提げケースを提供することである。
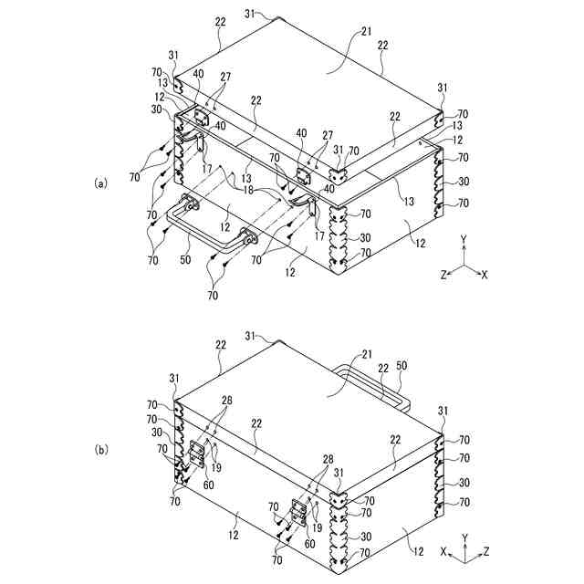
【解決手段】上面に開口部を有するケース本体と、前記ケース本体の開口部を開閉する蓋体と、前記ケース本体及び前記蓋体の四隅の外側に取り付けられた装飾部材と、前記ケース本体を持ち運ぶための取手と、を備え、前記ケース本体及び前記蓋体は、レーザー加工によって構成された、周囲に複数の側板部が連接された一枚の板状部材からなり、前記側板部を折り曲げることによって組み立てられ、前記折り曲げられた側板部同士によって形成された前記ケース本体及び前記蓋体の四隅が、前記装飾部材によって接合されると共に、少なくとも前記ケース本体と前記蓋体の各表面には図形或は絵などから成る意匠を施すことができるように成した。
【選択図】図1
特許請求の範囲
【請求項1】
上面に開口部を有するケース本体と、
前記ケース本体の開口部を開閉する蓋体と、
前記ケース本体及び前記蓋体の四隅の外側に取り付けられた装飾部材と、
前記ケース本体を持ち運ぶための取手と、を備え、
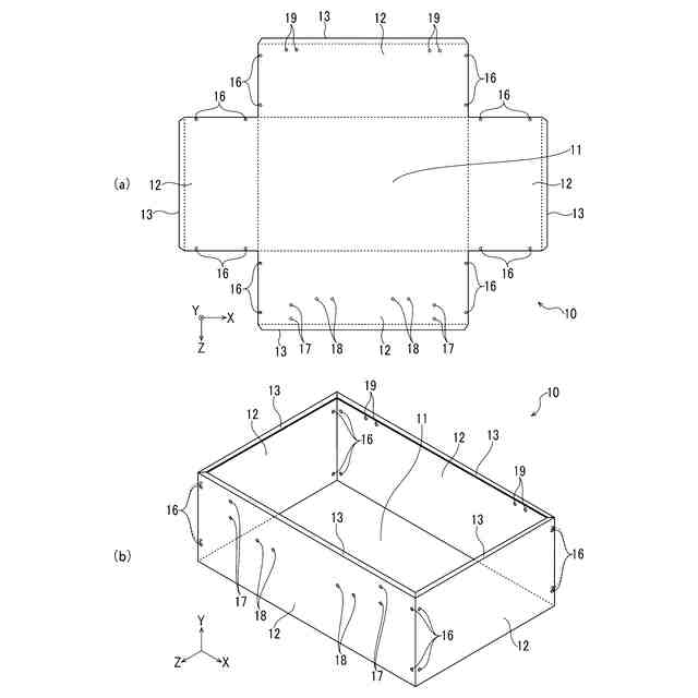
前記ケース本体及び前記蓋体は、レーザー加工によって構成された、周囲に複数の側板部が連接された一枚の板状部材からなり、前記側板部を折り曲げることによって組み立てられ、
前記折り曲げられた側板部同士によって形成された前記ケース本体及び前記蓋体の四隅が、前記装飾部材によって接合されると共に、少なくとも前記ケース本体と前記蓋体の各表面には図形或は絵などから成る意匠を施すことができるように成したことを特徴とする、手提げケース。
続きを表示(約 340 文字)
【請求項2】
前記ケース本体の各側板部は、その上端部を内側に折り曲げて形成された第1縁部を有し、
前記蓋体の各側板部は、その下端部を内側に折り曲げて形成された第2縁部を有し、
前記蓋体が閉状態において、前記第1縁部と前記第2縁部とが重なり合うことで、前記ケース本体が密閉されることを特徴とする、請求項1に記載の手提げケース。
【請求項3】
前記装飾部材は、ハート形や花形等の意匠性のある形状に形成され、ねじによって前記ケース本体及び前記蓋体の四隅に固定されることを特徴とする、請求項1に記載の手提げケース。
【請求項4】
前記意匠は、ユーザーの好みに合わせたものであることを特徴とする、請求項1に記載の手提げケース。
発明の詳細な説明
【技術分野】
【0001】
本発明は、片手で持って持ち歩くことのできるお洒落で製造コストの安価な手提げケースに関する。
続きを表示(約 1,400 文字)
【背景技術】
【0002】
従来の手提げケースは、成型品を用いたり、ケース本体を複数枚の板状の鋼材同士を溶接したり、リベットで固着したり、或は一枚の鋼板に絞り加工を施してケース状に形成したりすることによって構成されていた。例えば下記特許文献1に記載の手提げケースは、まず,合成樹脂を用いてケース本体を形成した後に、このケース本体の外側に複数の装飾板をリベット止めすることによって形成されていた。
【先行技術文献】
【特許文献】
【0003】
実公昭61-18705号公報
【発明の概要】
【発明が解決しようとする課題】
【0004】
上記特許文献1に記載された手提げケース本体は、これを形成するのに当たり、合成樹脂によってケース本体を形成させたり、装飾板同士のリベット接合等に係る加工が必要になるため、製作に要するコストが高くなるという問題があった。また、金属プレートを用いて絞り加工を行うにはプレス機械を導入する必要があるため、安価に手提げケースを製造することが困難であった。
【0005】
そこで、本考案の目的は、その外観に個性を表現することでき、おしゃれで、安価に製造できる手提げケースを提供することである。
【課題を解決するための手段】
【0006】
上記課題を解決するために、本願請求項1に記載の手提げケースは、上面に開口部を有するケース本体と、前記ケース本体の開口部を開閉する蓋体と、前記ケース本体及び前記蓋体の四隅の外側に取り付けられた装飾部材と、前記ケース本体を持ち運ぶための取手と、を備え、前記ケース本体及び前記蓋体は、レーザー加工によって構成された、周囲に複数の側板部が連接された一枚の板状部材からなり、前記側板部を折り曲げることによって組み立てられ、前記折り曲げられた側板部同士によって形成された前記ケース本体及び前記蓋体の四隅が、前記装飾部材によって接合されると共に、少なくとも前記ケース本体と前記蓋体の各表面には図形或は絵などから成る意匠を施すことができるように成したことを特徴とする。
【0007】
次に、本願請求項2に記載の手提げケースは、前記各側板部の各端部を内側に折り曲げて形成された第1縁部を有し、前記蓋体の各側板部は、その各端部を内側に折り曲げて形成された第2縁部を有し、前記蓋体が閉状態において、前記第1縁部と前記第2縁部とが互いに重なり合うことで、前記手提げケースが密閉されることを特徴とする。
【0008】
次に、本願請求項3に記載の手提げケースは、前記装飾部材がハート形や花形等の意匠性のある形状に形成され、ねじによって前記ケース本体や前記蓋本体の各側聞の接合部に取り付けられることを特徴とする。
【0009】
本願請求項4に記載の発明は、前記ケース本体の下面側及び前記蓋本体の上面側の少なくとも2面にユーザーの希望に合わせた図形や絵等の意匠を施すことができるようになっており、ユーザーの個性を発揮することができるようになっていることを特徴とする。
【発明の効果】
【0010】
本発明によれば、その外観が利用者の個性を表現することができることから、おしゃれで、製造コストの安価な手提げケースを提供できるものである。
【図面の簡単な説明】
(【0011】以降は省略されています)
この特許をJ-PlatPat(特許庁公式サイト)で参照する
関連特許
株式会社東京ボックス
手提げケース
4日前
株式会社東京ボックス
熱遮蔽帽子、並びにこの熱遮蔽帽子を構成するカバー部材と付属部品の組み合わせ
10日前
個人
包み箱
2か月前
個人
杖
4か月前
個人
傘
7か月前
個人
爪やすり
1か月前
個人
傘
2か月前
個人
折り畳み傘
4か月前
個人
財布
5か月前
個人
二重把手袋
7か月前
個人
眼鏡ホルダー
3か月前
個人
バッグ
4か月前
個人
シール
6か月前
個人
美容用具
3か月前
個人
傘
10か月前
個人
刺抜き具
8か月前
個人
肩ベルトカバー
2か月前
個人
ゲル状のシート
12日前
個人
シート状パック
7か月前
個人
滑らないヘアピン
10か月前
個人
補助持ち手付き傘
6か月前
個人
傘の先端キャップ
6か月前
ベス工業株式会社
整髪具
6か月前
個人
香りカプセル
12か月前
個人
電動爪削り器
11か月前
個人
スマートフォンカバー
7か月前
株式会社文殊
巾着袋
3か月前
個人
折りたたみ式提げ手。
7か月前
個人
リュックサック
11か月前
個人
手提げ袋携帯ホルダー
8か月前
大忠株式会社
バッグ
9か月前
コクヨ株式会社
バッグ
7か月前
株式会社バンビ
長財布
1か月前
個人
傘巻き取り補助具
2か月前
株式会社バンビ
長財布
8か月前
個人
エクステプレート
2か月前
続きを見る
他の特許を見る