TOP
|
特許
|
意匠
|
商標
特許ウォッチ
Twitter
他の特許を見る
10個以上の画像は省略されています。
公開番号
2025171791
公報種別
公開特許公報(A)
公開日
2025-11-20
出願番号
2024077461
出願日
2024-05-10
発明の名称
クランプ装置用ボルト及びクランプ装置
出願人
株式会社タカミヤ
,
株式会社ミヤマ
代理人
個人
,
個人
主分類
F16B
35/04 20060101AFI20251113BHJP(機械要素または単位;機械または装置の効果的機能を生じ維持するための一般的手段)
要約
【課題】ナット部材の引抜強度を低下させることなく、安全性及び信頼性を維持することのできるクランプ装置用ボルトを提供する。
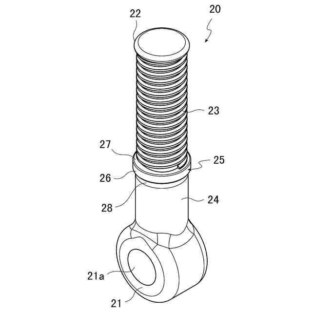
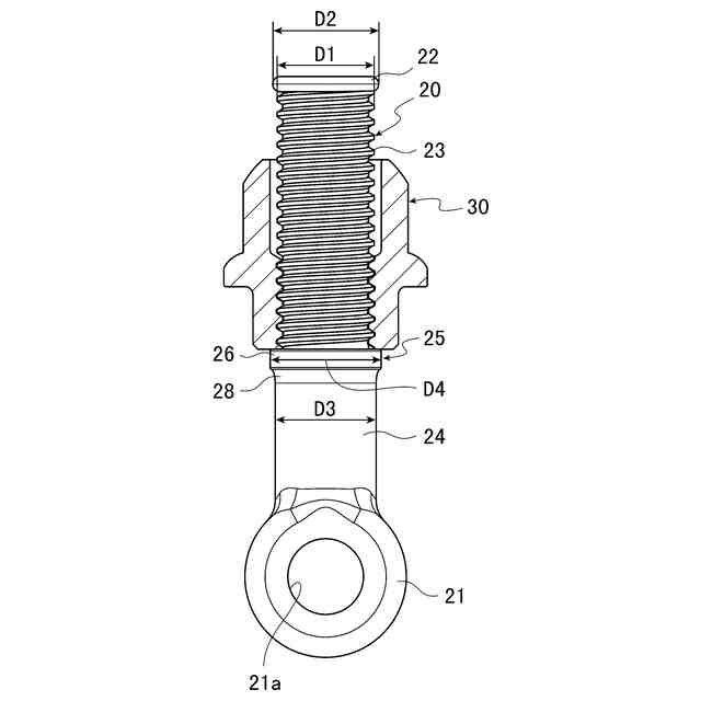
【解決手段】クランプ装置用ボルトは、第1部材である本体部材3と第2部材である蓋部材4との間に架け渡されてナット部材30を締め付けることで、パイプ部材2を固定するクランプ装置1に用いられるクランプ装置用ボルトであって、軸部24と雄ねじ部23との間に、雄ねじ部23の外径よりも大きく形成されたストッパ25が設けられ、このストッパ25は、雄ねじ部23にナット部材30を螺合させて締め付ける方向に移動させていくときに、軸部24への締め付け方向の移動を停止させるように構成されている。
【選択図】図1
特許請求の範囲
【請求項1】
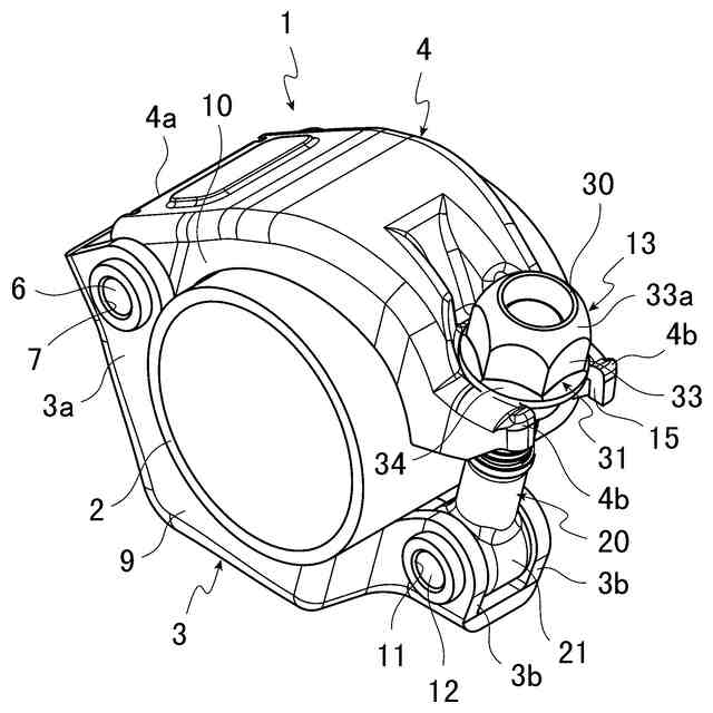
第1部材と第2部材が回動軸を介して回動可能に設けられ、前記第1部材と前記第2部材で棒状又は管状の対象部材を挟み込み、前記第1部材と前記第2部材との間に架け渡されてナット部材を締め付けることで、前記対象部材を固定するクランプ装置に用いられるクランプ装置用ボルトであって、
前記第1部材の先端部側に回動可能に軸支される回動部と、
前記回動部に連続するとともに、雄ねじ部が非形成の周面を有する軸部と、
前記軸部の軸方向に連続して設けられた雄ねじ部と、を有し、
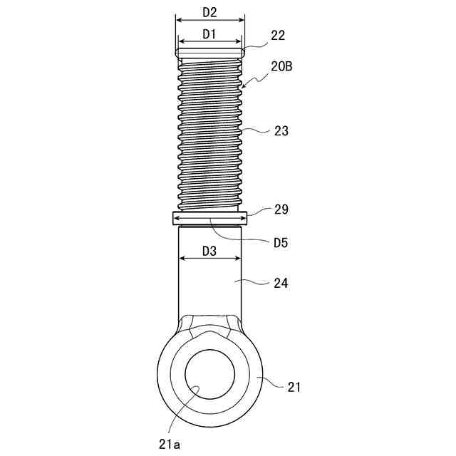
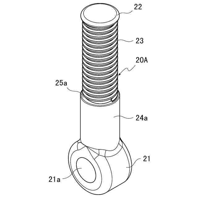
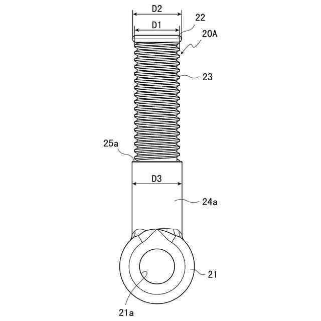
前記軸部と前記雄ねじ部との間に、前記雄ねじ部の外径よりも大きく形成されたストッパが設けられ、該ストッパは、前記雄ねじ部に前記ナット部材を螺合させて締め付ける方向に移動させていくときに、前記軸部への締め付け方向の移動を停止させるように構成されていることを特徴とするクランプ装置用ボルト。
続きを表示(約 350 文字)
【請求項2】
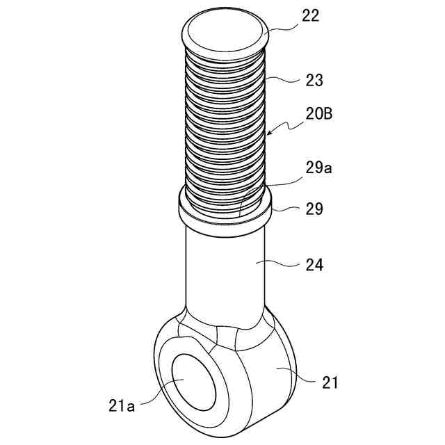
前記ストッパは、前記軸部と一体に形成されていることを特徴とする請求項1に記載のクランプ装置用ボルト。
【請求項3】
前記ストッパは、前記軸部と前記雄ねじ部との間に設けられたワッシャであることを特徴とする請求項1に記載のクランプ装置用ボルト。
【請求項4】
前記雄ねじ部は、先端部にカシメ部が形成され、該カシメ部の径が前記雄ねじ部の外径よりも大きく形成されていることを特徴とする請求項1に記載のクランプ装置用ボルト。
【請求項5】
請求項1乃至4のいずれか一項に記載のクランプ装置用ボルトが前記第1部材と前記第2部材との間に架け渡されて前記ナット部材を締め付けることで、前記対象部材を固定することを特徴とするクランプ装置。
発明の詳細な説明
【技術分野】
【0001】
本発明は、例えば仮設足場や支保工等の仮設構造物を構成するパイプ部材等の管状の対象部材又は棒状の対象部材を把持して固定するクランプ装置用ボルト及びクランプ装置に関する。
続きを表示(約 1,700 文字)
【背景技術】
【0002】
従来、クランプ装置においては、本体部材と蓋部材の2つの部材を、それらの間に軸支された回動部を介して開閉させて、パイプ等の対象部材を把持するように構成されたものがある。このようなクランプ装置において、特許文献1に記載された技術では、ボルトが本体部材に接続されており、ボルトにナットを締め付けることによって本体部材と蓋部材とで対象部材を把持して固定するように構成されている。
【0003】
また、上記特許文献1に記載されたクランプ装置は、ボルトに半ネジボルトが用いられ、このボルトの先端部にナットの抜け止めとしてカシメ部を形成することが可能である。そして、上記ボルトの基端部側の軸部は、任意の箇所からねじ転造されており、ねじ山とねじ谷の間の径(転造素材径)が軸部の軸径となっている。
【先行技術文献】
【特許文献】
【0004】
特開2006-177048号公報
【発明の概要】
【発明が解決しようとする課題】
【0005】
ところで、上述した特許文献1に記載されたクランプ装置に用いられるボルトでは、その基端部側に向かってナットを強く締め付けていくと、軸部でナットの締め付け方向への移動が停止しないで、軸部をナットでねじ山を切るように回転していくこととなる。このとき、軸部の径が山の高さとなるため、高さの低いねじ山が形成されることとなる。その結果、ねじ山に対するナットのかかり代が小さくなり、引抜耐力が弱く、想定強度が低下するという問題がある。また、このようにナットをねじ切りとして使用することとなり、ナットが部分的に破損することがあり、通常の締め付けが困難になるという問題もある。
【0006】
因みに、クランプ装置のボルトに半ネジボルトが用いられている理由は、パイプ等の対象部材が所定の径の場合に望ましい取付強度となるようにねじ部及び軸部の長さがあらかじめ設定されている。そして、全ネジボルトをクランプ装置に用いると、上記対象部材が上記所定の径よりも小径となる場合でも上記対象部材を挟み込むことができるものの、クランプ装置で上記対象部材を挟み込んだとき、上記対象部材に対して本体部材及び蓋部材の接触部分が狭くなって滑りが生じることがあり、望ましい取付強度が得られなくなるのを未然に防止するためである。
【0007】
そこで、本発明の目的は、ナット部材の引抜強度を低下させることなく、信頼性及び安全性を向上させることのできるクランプ装置用ボルト及びクランプ装置を提供することにある。
【課題を解決するための手段】
【0008】
かかる課題を達成するために、請求項1に記載の発明は、第1部材と第2部材が回動軸を介して回動可能に設けられ、前記第1部材と前記第2部材で棒状又は管状の対象部材を挟み込み、前記第1部材と前記第2部材との間に架け渡されてナット部材を締め付けることで、前記対象部材を固定するクランプ装置に用いられるクランプ装置用ボルトであって、前記第1部材の先端部側に回動可能に軸支される回動部と、前記回動部に連続するとともに、雄ねじ部が非形成の周面を有する軸部と、前記軸部の軸方向に連続して設けられた雄ねじ部と、を有し、前記軸部と前記雄ねじ部との間に、前記雄ねじ部の外径よりも大きく形成されたストッパが設けられ、該ストッパは、前記雄ねじ部に前記ナット部材を螺合させて締め付ける方向に移動させていくときに、前記軸部への締め付け方向の移動を停止させるように構成されていることを特徴とする。
【0009】
また、請求項2に記載の発明は、請求項1に記載の構成に加え、前記ストッパは、前記軸部と一体に形成されていることを特徴とする。
【0010】
また、請求項3に記載の発明は、請求項1に記載の構成に加え、前記ストッパは、前記軸部と前記雄ねじ部との間に設けられたワッシャであることを特徴とする。
(【0011】以降は省略されています)
この特許をJ-PlatPat(特許庁公式サイト)で参照する
関連特許
株式会社タカミヤ
資機材運搬システム
2か月前
株式会社タカミヤ
クランプ装置用ボルト及びクランプ装置
4日前
京セラ株式会社
太陽電池付きカーポート
1か月前
京セラ株式会社
太陽電池付きカーポート
1か月前
株式会社タカミヤ
仮設資材の売買仲介装置、及び、プログラム
4日前
個人
留め具
1か月前
個人
鍋虫ねじ
3か月前
個人
ホース保持具
7か月前
個人
紛体用仕切弁
3か月前
個人
回転伝達機構
3か月前
個人
差動歯車用歯形
5か月前
個人
ジョイント
2か月前
個人
給排気装置
1か月前
個人
ナット
2か月前
株式会社不二工機
電磁弁
6か月前
株式会社不二工機
電磁弁
4か月前
個人
地震の揺れ回避装置
4か月前
個人
ナット
19日前
個人
ゲート弁バルブ
4日前
個人
吐出量監視装置
2か月前
カヤバ株式会社
緩衝器
1か月前
カヤバ株式会社
ダンパ
5か月前
柿沼金属精機株式会社
分岐管
3か月前
カヤバ株式会社
緩衝器
4か月前
カヤバ株式会社
ダンパ
5か月前
カヤバ株式会社
緩衝器
4か月前
兼工業株式会社
バルブ
20日前
アズビル株式会社
回転弁
2か月前
株式会社ノーリツ
分配弁
6か月前
株式会社奥村組
制振機構
1か月前
株式会社奥村組
制振機構
1か月前
株式会社ニフコ
クリップ
1か月前
株式会社ノーリツ
分配弁
1か月前
株式会社フジキン
ボールバルブ
5か月前
個人
固着具と固着具の固定方法
6か月前
個人
固着具と固着具の固定方法
6か月前
続きを見る
他の特許を見る