TOP
|
特許
|
意匠
|
商標
特許ウォッチ
Twitter
他の特許を見る
10個以上の画像は省略されています。
公開番号
2025171499
公報種別
公開特許公報(A)
公開日
2025-11-20
出願番号
2024076913
出願日
2024-05-10
発明の名称
ベローズポンプ装置
出願人
株式会社PILLAR
代理人
弁理士法人サンクレスト国際特許事務所
主分類
F04B
43/08 20060101AFI20251113BHJP(液体用容積形機械;液体または圧縮性流体用ポンプ)
要約
【課題】ベローズ内でキャビテーションが発生しているか否かを監視することができるベローズポンプ装置を提供する。
【解決手段】ベローズポンプ装置は、伸長により内部に移送流体を吸い込み、収縮により内部から移送流体を吐出するベローズと、前記ベローズが収縮するときに、当該ベローズの収縮開始時点、収縮途中時点、及び収縮終了時点をそれぞれ検出する検出部と、前記検出部の検出結果に基づいて、前記収縮開始時点から前記収縮途中時点までの前記ベローズの第1収縮速度、及び前記収縮途中時点から前記収縮終了時点までの前記ベローズの第2収縮速度をそれぞれ算出し、前記第1収縮速度が前記第2収縮速度よりも大きいか否かを判定する制御部と、を備える。
【選択図】図1
特許請求の範囲
【請求項1】
伸長により移送流体を内部に吸い込み、収縮により内部から移送流体を吐出するベローズと、
前記ベローズが収縮するときに、当該ベローズの収縮開始時点、収縮途中時点、及び収縮終了時点をそれぞれ検出する検出部と、
前記検出部の検出結果に基づいて、前記収縮開始時点から前記収縮途中時点までの前記ベローズの第1収縮速度、及び前記収縮途中時点から前記収縮終了時点までの前記ベローズの第2収縮速度をそれぞれ算出し、前記第1収縮速度が前記第2収縮速度よりも大きいか否かを判定する制御部と、を備えるベローズポンプ装置。
続きを表示(約 250 文字)
【請求項2】
前記収縮開始時点から前記収縮途中時点までの収縮距離は、前記収縮途中時点から前記収縮終了時点までの収縮距離よりも短い、請求項1に記載のベローズポンプ装置。
【請求項3】
前記制御部は、前記第1収縮速度が前記第2収縮速度よりも大きいと判定した場合、その旨を報知する報知指令を出力する、請求項1又は請求項2に記載のベローズポンプ装置。
【請求項4】
互いに独立して伸縮する一対の前記ベローズを備える請求項1又は請求項2に記載のベローズポンプ装置。
発明の詳細な説明
【技術分野】
【0001】
本発明は、ベローズポンプ装置に関する。
続きを表示(約 1,900 文字)
【背景技術】
【0002】
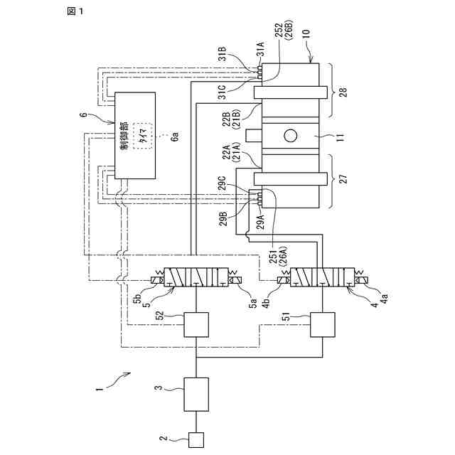
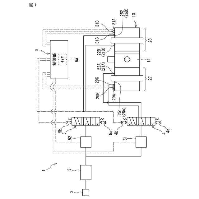
半導体製造や化学工業等において、薬液や溶剤等の移送流体を送給するポンプとして、例えば特許文献1に記載されたベローズポンプが知られている。特許文献1に記載されたベローズポンプは、ベローズと、密閉された2つの空気室と、を備えている。一方の空気室に加圧空気が供給されると、ベローズが伸長してその内部が負圧になることで、一次側の配管から移送流体がベローズ内に吸い込まれる。この状態から他方の空気室に加圧空気が供給されると、ベローズが収縮することで、ベローズ内の移送流体は二次側の配管に吐出される。
【先行技術文献】
【特許文献】
【0003】
特開2015-113785号公報
【発明の概要】
【発明が解決しようとする課題】
【0004】
前記ベローズポンプでは、ベローズ内に移送流体を吸い込む吸込工程が行われるときに、例えば一次側の配管において移送流体の圧力損失が大きくなると、ベローズ内でキャビテーションが発生し、ベローズポンプが破損するおそれがある。このため、ベローズポンプの駆動中にベローズ内でキャビテーションが発生しているか否かを監視する必要があるが、ベローズ内を目視で監視することはできない。
【0005】
本開示は、このような事情に鑑みてなされたものであり、ベローズ内でキャビテーションが発生しているか否かを監視することができるベローズポンプ装置を提供することを目的とする。
【課題を解決するための手段】
【0006】
(1)本開示は、伸長により移送流体を内部に吸い込み、収縮により内部から移送流体を吐出するベローズと、前記ベローズが収縮するときに、当該ベローズの収縮開始時点、収縮途中時点、及び収縮終了時点をそれぞれ検出する検出部と、前記検出部の検出結果に基づいて、前記収縮開始時点から前記収縮途中時点までの前記ベローズの第1収縮速度、及び前記収縮途中時点から前記収縮終了時点までの前記ベローズの第2収縮速度をそれぞれ算出し、前記第1収縮速度が前記第2収縮速度よりも大きいか否かを判定する制御部と、を備えるベローズポンプ装置である。
【0007】
本開示のベローズポンプ装置によれば、ベローズが収縮するときの収縮開始時点、収縮途中時点、及び収縮終了時点を検出部が検出する。そして、制御部は、収縮開始時点から収縮途中時点までの第1収縮速度が、収縮途中時点から収縮終了時点までの第2収縮速度よりも大きいか否かを判定する。ベローズ内でキャビテーションが発生すると、ベローズが収縮を開始した直後に、移送流体に含まれる気泡が圧縮されることで、ベローズの収縮速度が一時的に大きくなる。したがって、制御部によって、第1収縮速度が第2収縮速度よりも大きいか否かを判定することで、ベローズ内でキャビテーションが発生しているか否かを監視することができる。
【0008】
(2)前記(1)のベローズポンプ装置において、前記収縮開始時点から前記収縮途中時点までの収縮距離は、前記収縮途中時点から前記収縮終了時点までの収縮距離よりも短いのが好ましい。
この場合、ベローズの収縮開始時点から収縮途中時点までの収縮時間が相対的に短くなるので、当該収縮時間に対して、キャビテーションの発生に起因するベローズの収縮速度が一時的に大きくなる時間の占める割合が相対的に大きくなる。これにより、制御部で算出される第1収縮速度は、前記一時的に大きくなる収縮速度に、より近い値となる。その結果、ベローズ内でキャビテーションが発生しているか否かを精度良く監視することができる。
【0009】
(3)前記(1)又は(2)のベローズポンプ装置において、前記制御部は、前記第1収縮速度が前記第2収縮速度よりも大きいと判定した場合、その旨を報知する報知指令を出力するのが好ましい。
この場合、ベローズ内でキャビテーションが発生していることを容易に把握することができる。
【0010】
(4)前記(1)から(3)のいずれかのベローズポンプ装置は、互いに独立して伸縮する一対の前記ベローズを備えるのが好ましい。
この場合、互いに独立して伸縮する一対のベローズを備えるベローズポンプ装置では、各ベローズ内でキャビテーションが発生しやすいため、本開示の制御を採用することがより有効となる。
【発明の効果】
(【0011】以降は省略されています)
この特許をJ-PlatPat(特許庁公式サイト)で参照する
関連特許
株式会社PILLAR
磁気浮上式ポンプ
1か月前
株式会社PILLAR
ベローズポンプ装置
7日前
個人
海流製造装置。
2か月前
株式会社スギノマシン
圧縮機
1か月前
株式会社ツインバード
送風装置
2か月前
株式会社ツインバード
送風装置
2か月前
カヤバ株式会社
電動ポンプ
20日前
カヤバ株式会社
電動ポンプ
3か月前
日機装株式会社
遠心ポンプ
1か月前
株式会社不二越
蓄圧装置
3か月前
ビッグボーン株式会社
送風装置
3か月前
株式会社酉島製作所
ポンプ
4か月前
株式会社ノーリツ
ロータリ圧縮機
2か月前
サンデン株式会社
スクロール圧縮機
1か月前
小倉クラッチ株式会社
ルーツブロア
4か月前
株式会社坂製作所
スクロール圧縮機
4か月前
株式会社ノーリツ
ロータリー圧縮機
4か月前
サンデン株式会社
スクロール圧縮機
1か月前
サンデン株式会社
スクロール圧縮機
1か月前
サンデン株式会社
可変容量型圧縮機
28日前
樫山工業株式会社
真空ポンプ
1か月前
株式会社不二越
ベーンポンプ
4か月前
エドワーズ株式会社
真空ポンプ
2か月前
株式会社島津製作所
真空ポンプ
2か月前
株式会社クボタ
作業機
21日前
株式会社島津製作所
真空ポンプ
3か月前
株式会社アイシン
ポンプケース
2か月前
株式会社チロル
送風機、送風機付衣服
3か月前
株式会社豊田自動織機
流体機械
2か月前
株式会社ナノバブル研究所
気液駆動装置
2か月前
NTN株式会社
電動オイルポンプ
1か月前
株式会社豊田自動織機
電動圧縮機
3か月前
已久工業股ふん有限公司
空気圧縮機構造
3か月前
株式会社豊田自動織機
電動圧縮機
4か月前
株式会社豊田自動織機
電動圧縮機
3か月前
株式会社豊田自動織機
電動圧縮機
3か月前
続きを見る
他の特許を見る