TOP
|
特許
|
意匠
|
商標
特許ウォッチ
Twitter
他の特許を見る
公開番号
2025171003
公報種別
公開特許公報(A)
公開日
2025-11-20
出願番号
2024075936
出願日
2024-05-08
発明の名称
故障診断システム
出願人
パナソニックIPマネジメント株式会社
代理人
弁理士法人クシブチ国際特許事務所
主分類
F24F
11/38 20180101AFI20251113BHJP(加熱;レンジ;換気)
要約
【課題】故障が無い場合に、故障が有ると判定するような誤判定を減少させることができる故障診断システムを提供する。
【解決手段】冷媒漏洩診断システム1000は、空気調和装置1の運転データD1に基づき空気調和装置1の冷媒漏洩の有無を診断する。冷媒漏洩診断システム1000は、運転データD1から複数の運転データ群DG1を取得するデータ取得部503と、運転データ群DG1ごとに冷媒漏洩の有無を診断する診断部505と、診断部505により診断された複数の診断結果に基づき、冷媒漏洩の有無を判定して判定結果を出す判定部506と、を備える。
【選択図】図2
特許請求の範囲
【請求項1】
冷凍サイクル装置の運転データに基づき前記冷凍サイクル装置の故障の有無を診断する故障診断システムであって、
前記運転データから複数の運転データ群を取得する取得部と、
前記運転データ群ごとに故障の有無を診断する診断部と、
前記診断部により診断された複数の診断結果に基づき、故障の有無を判定して判定結果を出す判定部と、を備える、
故障診断システム。
続きを表示(約 1,400 文字)
【請求項2】
前記取得部は、所定期間ごとに前記運転データ群を取得し、
直近の複数の前記診断結果と、今回の前記診断結果の内、所定の閾値以上の診断結果が故障が有るとの診断である場合、
前記判定部は、故障が有ると判定する、
請求項1に記載の故障診断システム。
【請求項3】
前記取得部は、所定期間ごとに前記運転データ群を取得し、前記所定期間ごとに取得された前記運転データ群から、さらに所定条件に応じて前記運転データ群を取得し、
前記診断部が、前記所定期間における複数の前記診断結果の内、所定の閾値以上の診断結果が故障が有るとの診断をした場合、
前記判定部は、前記所定期間における故障が有ると判定する、
請求項1に記載の故障診断システム。
【請求項4】
前記所定条件は、前記冷凍サイクル装置が設置された環境の状態、又は前記冷凍サイクル装置の運転の状態の少なくともいずれかが類似するか否かである、
請求項3に記載の故障診断システム。
【請求項5】
前記取得部により前記所定条件に応じて取得されなかった前記運転データ群については、前記診断部は、故障の有無の診断を行わない、
請求項4に記載の故障診断システム。
【請求項6】
前記取得部は、
所定期間ごとに取得した前記運転データ群から、所定条件によりさらに前記運転データ群を取得し、
前記診断部は、
前記所定条件に応じて取得された前記運転データ群それぞれについて故障の有無を診断し、
前記所定条件に応じて診断された第2診断結果の内、前記所定の閾値以上の前記第2診断結果が、故障が有るとの診断である場合、
前記所定期間における前記診断結果を、故障が有るとの診断とする、
請求項2に記載の故障診断システム。
【請求項7】
前記判定部の前記判定結果に基づいて、故障の状態を通知する通知部を備える、
請求項1から6のいずれかに記載の故障診断システム。
【請求項8】
前記通知部は、故障が有るとの前記判定結果である場合、故障が有る旨を通知し、
故障が無いとの前記判定結果である場合、且つ、故障が無いとの判定に用いられた前記診断部による診断結果が、全て故障が無いとの診断である場合、故障が無い旨を通知し、
故障が無いとの前記判定結果である場合、且つ、故障が無いとの判定に用いられた前記診断結果が、少なくとも1つ以上故障が有るとの診断である場合、前記故障が有る旨と、前記故障が無い旨と、いずれとも異なる旨を通知する、
請求項7に記載の故障診断システム。
【請求項9】
前記冷凍サイクル装置を使用する使用者が使用する第1端末装置と、前記冷凍サイクル装置の故障に対応する対応者が使用する第2端末装置とを備え、
前記通知部は、
前記判定部の前記判定結果に基づいて、前記第1端末装置と、前記第2端末装置とそれぞれを介して故障の状態を通知し、
故障が無いとの前記判定結果であり、且つ、故障が無いとの判定に用いられた前記診断部による診断結果が、少なくとも1つ以上故障が有るとの診断である場合、
前記第1端末装置と前記第2端末装置とに異なる内容を出力する、
請求項7に記載の故障診断システム。
発明の詳細な説明
【技術分野】
【0001】
本開示は故障診断システムに関する。
続きを表示(約 1,600 文字)
【背景技術】
【0002】
特許文献1は、冷媒漏洩の状態を検出部の検出結果に基づいて、冷媒回路からの冷媒漏洩の有無を判断する冷媒漏洩管理システムを開示する。
【先行技術文献】
【特許文献】
【0003】
特開2022-179215号公報
【発明の概要】
【発明が解決しようとする課題】
【0004】
本開示は、故障が無い場合に、故障が有ると判定するような誤判定を減少させることができる故障診断システムを提供する。
【課題を解決するための手段】
【0005】
本開示における故障診断システムは、冷凍サイクル装置の運転データに基づき前記冷凍サイクル装置の故障の有無を診断する故障診断システムであって、前記運転データから複数の運転データ群を取得する取得部と、前記運転データ群ごとに故障の有無を診断する診断部と、前記診断部により診断された複数の診断結果に基づき、故障の有無を判定して判定結果を出す判定部と、を備える。
【発明の効果】
【0006】
本開示における故障診断システムは、運転データから取得された運転データ群に基づいて、故障の有無を判定する。よって、故障が無い場合に、故障が有ると判定するような誤判定を減少させることができる。
【図面の簡単な説明】
【0007】
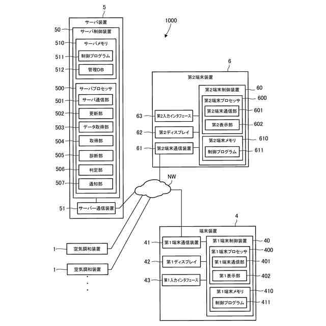
実施の形態1における冷媒漏洩診断システムの構成を示す図
実施の形態1における空気調和装置1、サーバ装置、第1端末装置、及び第2端末装置の構成を示す図
実施の形態1における管理DBの一例を示す図
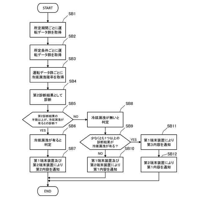
実施の形態1におけるサーバ装置の動作を示すフローチャート
実施の形態2におけるサーバ装置の動作を示すフローチャート
実施の形態3におけるサーバ装置の動作を示すフローチャート
【発明を実施するための形態】
【0008】
(本開示の基礎となった知見等)
発明者らが本開示に想到するに至った当時、特許文献1のように、冷媒漏洩の有無を診断する技術があった。しかしながら、従来の技術では、冷媒漏洩を含む、故障の有無を診断するために用いる運転データが変動しやすいため、運転データに基づいて故障の有無を診断すると、実際に故障が無い場合に、故障が有ると判定してしまうような誤判定が起きやすい、と言う課題を発明者らは発見し、その課題を解決するために、本開示の主題を構成するに至った。
そこで、本開示は、故障が無い場合に、故障が有ると判定するような誤判定を減少させることができる故障診断システムを提供する。
【0009】
以下、図面を参照しながら実施の形態を詳細に説明する。但し、必要以上に詳細な説明を省略する場合がある。例えば、既によく知られた事項の詳細説明、または、実質的に同一の構成に対する重複説明を省略する場合がある。
なお、添付図面および以下の説明は、当業者が本開示を十分に理解するために提供されるのであって、これらにより特許請求の範囲に記載の主題を限定することを意図していない。
【0010】
(実施の形態1)
[1-1.構成]
[1-1-1.冷媒漏洩診断システムの構成]
図1は、実施の形態1における冷媒漏洩診断システム1000の構成を示す図である。
冷媒漏洩診断システム1000は、空気調和装置1の冷媒漏洩を診断するシステムである。本実施の形態おいて、冷媒漏洩の診断は、冷媒漏洩が発生しているか否かの診断、すなわち冷媒漏洩の有無の診断を含む。
空気調和装置1は、「冷凍サイクル装置」の一例である。
冷媒漏洩診断システム1000は、「故障診断システム」の一例である。冷媒漏洩は、「故障」の一例である。
(【0011】以降は省略されています)
この特許をJ-PlatPat(特許庁公式サイト)で参照する
関連特許
個人
集熱器具
19日前
株式会社トヨトミ
五徳
1か月前
株式会社コロナ
空調装置
3か月前
株式会社コロナ
給湯装置
3か月前
個人
UFO型空気清浄機
7日前
株式会社コロナ
空調装置
4か月前
株式会社コロナ
空調装置
2か月前
株式会社コロナ
空調装置
1か月前
株式会社コロナ
空調装置
1か月前
株式会社コロナ
加湿装置
2か月前
個人
油ハネ防止カーテン
22日前
株式会社コロナ
空調装置
1か月前
株式会社コロナ
空調装置
1か月前
個人
太陽光パネル傾斜装置
1か月前
株式会社コロナ
空気調和機
3か月前
株式会社コロナ
風呂給湯機
2か月前
株式会社コロナ
空気調和機
3か月前
個人
住宅換気空調システム
3か月前
株式会社コロナ
貯湯式給湯機
2か月前
株式会社コロナ
直圧式給湯機
3か月前
ホーコス株式会社
排気フード
3か月前
株式会社コロナ
直圧式給湯機
4か月前
株式会社コロナ
貯湯式給湯機
1か月前
個人
シンプルクーラー
1か月前
株式会社コロナ
暖房システム
1か月前
株式会社パロマ
給湯器
4か月前
株式会社コロナ
温水暖房装置
1か月前
三菱電機株式会社
換気扇
1か月前
三菱電機株式会社
換気扇
1か月前
株式会社コロナ
貯湯式給湯装置
4か月前
三菱電機株式会社
換気扇
1か月前
ホーコス株式会社
換気扇取付枠
2か月前
株式会社コロナ
輻射式冷房装置
3か月前
三菱電機株式会社
送風装置
3か月前
株式会社パロマ
給湯暖房機
4か月前
株式会社パロマ
給湯暖房機
4か月前
続きを見る
他の特許を見る