TOP
|
特許
|
意匠
|
商標
特許ウォッチ
Twitter
他の特許を見る
公開番号
2025170508
公報種別
公開特許公報(A)
公開日
2025-11-19
出願番号
2024075129
出願日
2024-05-07
発明の名称
和服飾り
出願人
個人
代理人
弁理士法人アローレインターナショナル
主分類
A41D
1/00 20180101AFI20251112BHJP(衣類)
要約
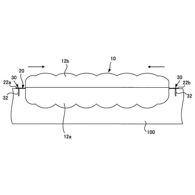
【課題】 和服の装飾性を容易に高めることができる和服飾りを提供する。
【解決手段】 装飾体10および紐状体20を備え、和服帯または和服衿に取り付けて使用する和服飾り1であって、装飾体10は、帯状に形成されて、長手方向に延びる縁部に沿って収容部11が設けられており、収容部11を固定具30によって和服帯または和服衿に着脱可能に取り付けることで、和服帯または和服衿の表側の少なくとも一部を覆うことができ、紐状体20は、収容部11に長手方向の両端開口から突出するように挿通されており、装飾体10を紐状体20に対して扱き縮めることでフリルが形成される。
【選択図】 図1
特許請求の範囲
【請求項1】
装飾体および紐状体を備え、和服帯または和服衿に取り付けて使用する和服飾りであって、
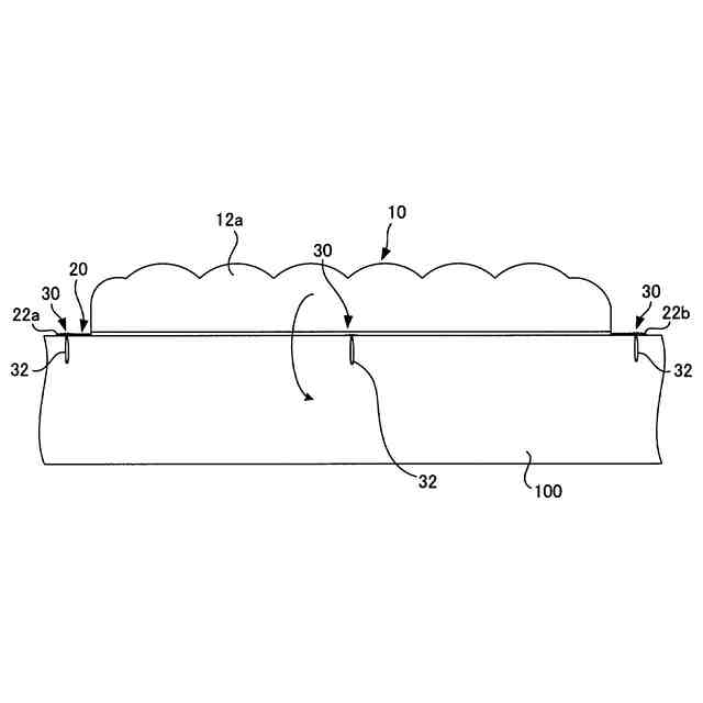
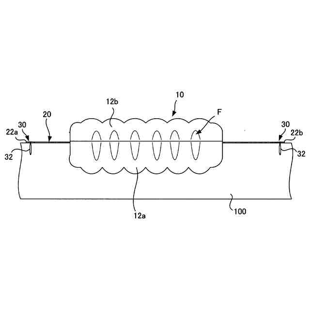
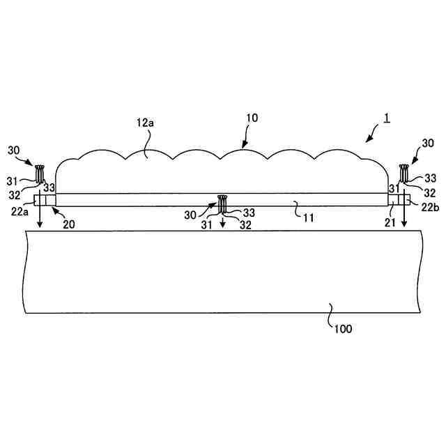
前記装飾体は、帯状に形成されて、長手方向に延びる縁部に沿って収容部が設けられており、前記収容部を固定具によって和服帯または和服衿に着脱可能に取り付けることで、和服帯または和服衿の表側の少なくとも一部を覆うことができ、
前記紐状体は、前記収容部に長手方向の両端開口から突出するように挿通されており、
前記装飾体を前記紐状体に対して扱き縮めることでフリルが形成される和服飾り。
続きを表示(約 600 文字)
【請求項2】
前記紐状体は、長手方向中央部において前記収容部に固定されている請求項1に記載の和服飾り。
【請求項3】
前記装飾体は、互いに重なり合う状態で前記収容部に連接された複数の重畳帯を備えており、
前記収容部が和服帯または和服衿に取り付けられた状態で、前記重畳帯のいずれかを短手方向に折り返すことで前記装飾体を広げることができる請求項1に記載の和服飾り。
【請求項4】
複数の前記重畳帯は、短手方向長さが互いに相違する請求項3に記載の和服飾り。
【請求項5】
前記固定具は、前記収容部の表裏にそれぞれ固定されている請求項1に記載の和服飾り。
【請求項6】
前記固定具は、前記紐状体の長手方向中央部において、前記紐状体と共に前記収容部に固定されている請求項1に記載の和服飾り。
【請求項7】
前記紐状体は、複数の係合部が長手方向に間隔をあけて設けられており、
前記収容部の長手方向両端部には、前記係合部のいずれかと係合する被係合部が設けられている請求項1に記載の和服飾り。
【請求項8】
前記係合部は、スナップボタンを構成する雄部材または雌部材の一方からなり、
前記被係合部は、前記スナップボタンを構成する雄部材または雌部材の他方からなる請求項7に記載の和服飾り。
発明の詳細な説明
【技術分野】
【0001】
本発明は、和服飾りに関し、より詳しくは、和服帯または和服衿に取り付けて使用する和服飾りに関する。
続きを表示(約 1,200 文字)
【背景技術】
【0002】
和服は日本古来の文化であるが、着用者は激減して風前の灯火である。和服の着用は難しく、古臭いと敬遠されがちだが、そのイメージを払拭するためには、現代人のニーズに合う魅力的で画期的な新しい和服の装飾品を開発しなければならない。このため、帯飾りや衿飾りなどの和服飾りが従来から種々検討されている。
従来の和服の装飾方法として、特許文献1には、着物や浴衣の着付けの際に使用する帯板にレースを取り付けて、使用する際にレースを帯から出して装飾することが開示されている。また、特許文献2には、レース等の装飾テープを着物用の帯に縫い込んで、装飾テープの一部を縁部から突出させることにより、縁部の装飾性を高めることが開示されている。
【先行技術文献】
【特許文献】
【0003】
登録実用新案第3123916号公報
特開平10-245706号公報
【発明の概要】
【発明が解決しようとする課題】
【0004】
従来の和服の装飾は、和服帯等に対してレース等の装飾体を単に取り付けて行うものに過ぎないことから、装飾効果を高める上で更に改良の余地があった。
【0005】
そこで、本発明は、和服の装飾性を容易に高めることができる和服飾りの提供を目的とする。
【課題を解決するための手段】
【0006】
本発明の前記目的は、装飾体および紐状体を備え、和服帯または和服衿に取り付けて使用する和服飾りであって、前記装飾体は、帯状に形成されて、長手方向に延びる縁部に沿って収容部が設けられており、前記収容部を固定具によって和服帯または和服衿に着脱可能に取り付けることで、和服帯または和服衿の表側の少なくとも一部を覆うことができ、前記紐状体は、前記収容部に長手方向の両端開口から突出するように挿通されており、前記装飾体を前記紐状体に対して扱き縮めることでフリルが形成される和服飾りにより達成される。
【0007】
この和服飾りにおいて、前記紐状体は、長手方向中央部において前記収容部に固定されていることが好ましい。
【0008】
前記装飾体は、互いに重なり合う状態で前記収容部に連接された複数の重畳帯を備えていることが好ましく、前記収容部が和服帯または和服衿に取り付けられた状態で、前記重畳帯のいずれかを短手方向に折り返すことで前記装飾体を広げることができる。複数の前記重畳帯は、短手方向長さが互いに相違することが好ましい。
【0009】
前記固定具は、前記収容部の表裏にそれぞれ固定することができる。
【0010】
前記固定具は、前記紐状体の長手方向中央部において、前記紐状体と共に前記収容部に固定されていることが好ましい。
(【0011】以降は省略されています)
この特許をJ-PlatPat(特許庁公式サイト)で参照する
関連特許
個人
衿芯
4か月前
個人
シャツ
2か月前
個人
中間着
21日前
個人
ネクタイ
2か月前
個人
防虫服
21日前
個人
多機能装身具
3か月前
個人
マスク
2か月前
東レ株式会社
防護服
1か月前
個人
:マスクカバー
3か月前
東洋紡株式会社
マスク
1か月前
株式会社聖
手足保護具
1か月前
個人
内フィルムマスク
1か月前
個人
車椅子用グローブ
3か月前
個人
被介護者用上衣
4か月前
株式会社マルイチ
二部式帯
1か月前
個人
マスク(多機能マスク)
3か月前
個人
ブラカップを有する衣類
2か月前
個人
ブラカップを有する衣類
2か月前
株式会社マルイチ
2部式着物
2か月前
個人
着物ワンピース(ドレス)
3か月前
株式会社ユイ
五本指靴下
23日前
イイダ靴下株式会社
衣類
4か月前
株式会社カネカ
汎用かつら
2か月前
ハイドサイン株式会社
衣服
20日前
株式会社ケアウィル
膝掛け
1か月前
株式会社りらいぶ
パジャマ
4か月前
株式会社TAT
被服
1か月前
個人
冷却衣服
23日前
ハイドサイン株式会社
衣服
3か月前
コーマ株式会社
着圧調整被服
1か月前
岡本株式会社
脚装着具
1か月前
岡本株式会社
肢装着具
1か月前
株式会社AOKI
靴下
1か月前
エステー株式会社
作業用手袋
4か月前
大王製紙株式会社
マスク
1か月前
個人
ヘアエクステンション
3か月前
続きを見る
他の特許を見る