TOP
|
特許
|
意匠
|
商標
特許ウォッチ
Twitter
他の特許を見る
10個以上の画像は省略されています。
公開番号
2025139941
公報種別
公開特許公報(A)
公開日
2025-09-29
出願番号
2024039042
出願日
2024-03-13
発明の名称
膝掛け
出願人
株式会社ケアウィル
代理人
個人
主分類
A41D
13/06 20060101AFI20250919BHJP(衣類)
要約
【課題】様々なタイプの車椅子に対応可能で車椅子の利用者が扱いやすい膝掛けを提供する。
【解決手段】膝掛け10は、前身頃を有する本体部12と、本体部12に取付けられる左右一対の帯状のストラップ14と、を有し、ストラップ14が基端において本体部12に回転可能に取付けられる。膝掛け10はストラップ14により車椅子16あるいは利用者18に取付け可能である。
【選択図】図1
特許請求の範囲
【請求項1】
前身頃を有する本体部と、
前記本体部に取付けられる左右一対の帯状のストラップと、
を有する膝掛けであって、
前記ストラップが基端において前記本体部に回転可能に取付けられる膝掛け。
続きを表示(約 910 文字)
【請求項2】
請求項1において、
前記ストラップはスナップボタンにより前記基端において前記本体部に着脱自在、かつ、回転可能に取付けられる膝掛け。
【請求項3】
請求項1において、
前記一対のストラップは先端側がループになっており、前記ループの先端に両者を連結するためのスナップボタンが備えられた膝掛け。
【請求項4】
請求項1において、
前記各ストラップは基端ストラップと、アジャスタと、メインストラップと、第1の面ファスナー要素と、第2の面ファスナー要素と、第3の面ファスナー要素とを有して構成され、
前記基端ストラップは前記本体部に回転可能に取付けられるとともに前記アジャスタに連結され、
前記メインストラップは前記アジャスタに挿通され挿通位置を調整することにより長さを調整可能であり、
前記第1の面ファスナー要素は前記基端ストラップに設置され、
前記第2の面ファスナー要素及び前記第3の面ファスナー要素は前記メインストラップの両端部に設置され、
前記第2の面ファスナー要素は同じストラップの前記第1の面ファスナー要素と着脱自在であり、
一方の前記ストラップの前記第3の面ファスナー要素は他方の前記ストラップの前記第3の面ファスナー要素と着脱自在である膝掛け。
【請求項5】
請求項1において、
前記本体部の上端部に沿って帯状の芯材が設置され、前記芯材と重なる位置において前記ストラップの基端が前記本体部に取付けられる膝掛け。
【請求項6】
請求項5において、
前記芯材は前記前身頃の上端部に設置された主部と、前記主部の左右に連結された一対の延在部と、を有し、前記前身頃の上端部の左右の端部において前記延在部が前記主部に対して折り曲げ可能である膝掛け。
【請求項7】
請求項6において、
前記本体部は前記前身頃の左右の端部に下肢の側面を覆うための側部を備え、
前記芯材の延在部は前記側部の上端部に設置された膝掛け。
発明の詳細な説明
【技術分野】
【0001】
本発明は、レインウェアや防寒着として着用される車椅子の利用者のための膝掛けに関する。
続きを表示(約 2,500 文字)
【背景技術】
【0002】
車椅子の利用者のための様々なタイプのレインウェアや防寒着が市販されている。その一つとして膝掛けが知られている。なお、膝掛けがボトムスとして着用され、トップスとしてマント、ポンチョ、コート等が着用されることがある。膝掛けはシンプルな形態で下肢の上に載せるだけで容易に着用できる一方、風でずれたり捲れたりしやすい。このためストラップ等を介して膝掛けが車椅子や利用者に取付けられることがある。
【0003】
特許文献1には、一対の帯状体からなる引掛手段を車椅子の肘掛や移動用の取っ手等に巻き付けた後にホックを係合して閉ループ状に引っ掛け、膝掛の本体シートのずれ落ちを防止することが記載されている。
また、特許文献2には、ベルトと面ファスナーから形成される止着手段が車椅子の肘掛け部に着脱自在に巻回支持され、膝掛の前身頃部が不必要に搖動したり、空間が生じて妄りに風雨が侵入したりすることを防止することが記載されている。
また、特許文献3には、ひざ掛け的下半身カバーを留め付ける方法として、ウェストベルトの両サイドにスナップテープを付け、ウェストに巻き付けたり車椅子のパイプに巻き付け留めることが記載されている。
【先行技術文献】
【特許文献】
【0004】
特開2005-023433号公報
特開2006-249640号公報
特開2013-079458号公報
【発明の概要】
【発明が解決しようとする課題】
【0005】
しかしながら、車椅子の利用者は足が不自由であることに加え腕も不自由であることが少なくい。このためストラップをウェストに巻き付ける作業が困難な場合がある。また、アームレストやパイプ等の形状や配置は車椅子により異なる。このためアームレストやパイプ等にストラップを取付けても膝掛けのずれや捲れを充分に抑制できない場合がある。
本発明は以上の問題点に鑑みてなされたものであって、様々なタイプの車椅子に対応可能で車椅子の利用者が扱いやすい膝掛けを提供することを課題とする。
【課題を解決するための手段】
【0006】
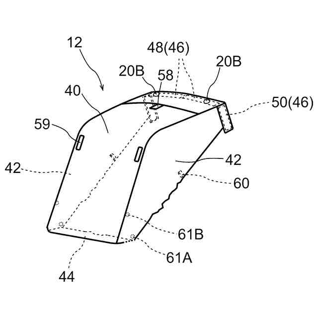
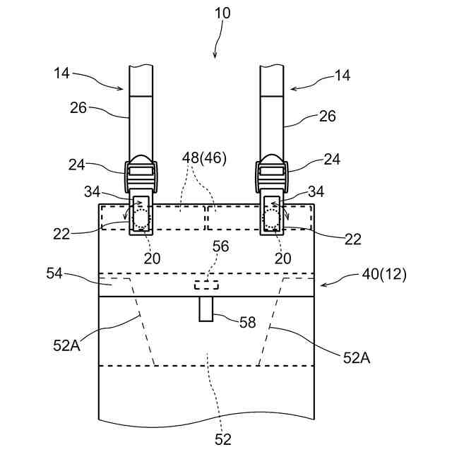
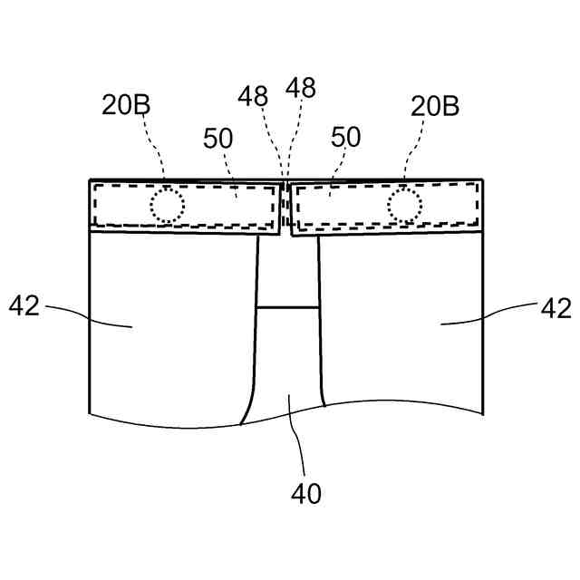
本発明は、前身頃を有する本体部と、本体部に取付けられる左右一対の帯状のストラップと、を有する膝掛けであって、ストラップが基端において本体部に回転可能に取付けられる膝掛けにより上記課題を解決したものである。
【0007】
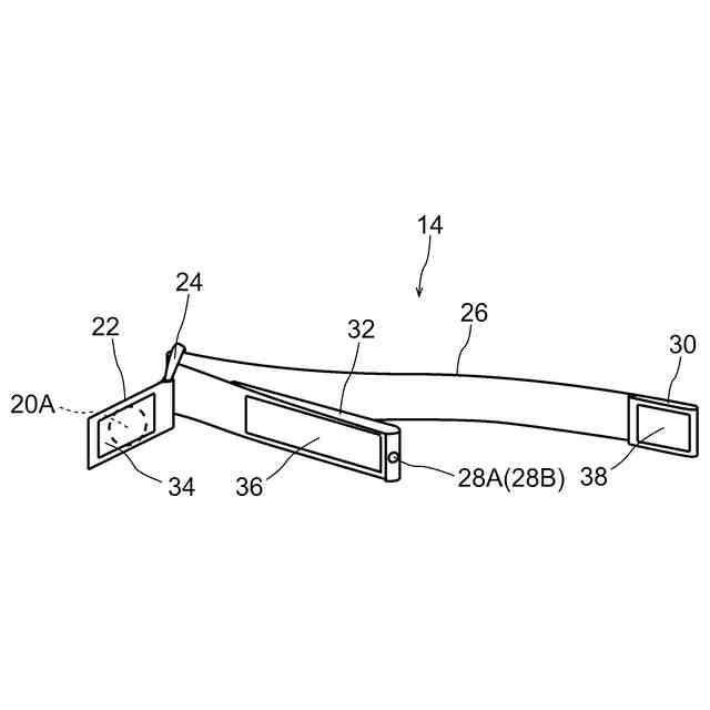
この膝掛けはストラップが帯状で幅方向に変形しにくいので腕が不自由でも扱いやすい。さらにストラップが基端において本体部に回転可能に取付けられるので、様々な態様でストラップを車椅子の利用者や車椅子の構成要素に取付けることができる。例えば上下方向に延在するように一対のストラップを配置して両者を連結すれば車椅子の利用者の首にストラップを掛けることができる。また、左右方向に延在するように一対のストラップを配置して車椅子のアームレストにストラップを取付けることも可能である。また、安全ベルトを使用する場合、上下方向に延在するように一対のストラップを配置してそれぞれのストラップを安全ベルトに取付けることも可能である。また、左右方向に延在するように一対のストラップを配置して両者を連結し車椅子の利用者のウェストにストラップを取付けることも可能である。このように様々な態様でストラップを車椅子の利用者や車椅子の構成要素に取付けることができるので、様々なタイプの車椅子に対応可能で車椅子の利用者が扱いやすい。
【0008】
また、ストラップはスナップボタンにより基端において本体部に着脱自在、かつ、回転可能に取付けられてもよい。ストラップがスナップボタンにより本体部に着脱自在であれば、例えば予め一対のストラップの先端側を連結し利用者の首やウェストに回してからストラップの基端を本体部に取付けることができる。また、予め各ストラップを車椅子のアームレストやパイプ、安全ベルト等に取付けてからストラップの基端を本体部に取付けることもできる。このようにストラップの取付け方のバリエーションが増えるのでストラップの取付けの容易化に寄与する。また、スナップボタンは着脱自在の機能に加え回転機能も兼ね備えるので構成のシンプル化にも寄与する。
【0009】
一対のストラップは先端側がループになっており、ループの先端に両者を連結するためのスナップボタンが備えられていてもよい。一対のストラップを連結し利用者の首やウェストに回して着用する場合、このようなスナップボタンが備えられていれば、一対のストラップの連結や取外しが容易である。また、ストラップの先端側がループであれば利用者が把持しやすいので一対のストラップの連結、取外し作業の容易化に寄与する。さらにループの先端にスナップボタンが備えられていれば一対のストラップが連結された状態で連結部分からストラップの端部が周囲に延在することがないので好適である。なお、介助者がループを車椅子のハンドルに掛けて膝掛を車椅子に取付けることも可能である。
【0010】
各ストラップは基端ストラップと、アジャスタと、メインストラップと、第1の面ファスナー要素と、第2の面ファスナー要素と、第3の面ファスナー要素とを有して構成され、基端ストラップは本体部に回転可能に取付けられるとともにアジャスタに連結され、メインストラップはアジャスタに挿通され挿通位置を調整することにより長さを調整可能であり、第1の面ファスナー要素は基端ストラップに設置され、第2の面ファスナー要素及び第3の面ファスナー要素はメインストラップの両端部に設置され、第2の面ファスナー要素は同じストラップの第1の面ファスナー要素と着脱自在であり、一方のストラップの第3の面ファスナー要素は他方のストラップの第3の面ファスナー要素と着脱自在であってもよい。
(【0011】以降は省略されています)
この特許をJ-PlatPat(特許庁公式サイト)で参照する
関連特許
個人
衿芯
3か月前
個人
和服
5か月前
個人
シャツ
1か月前
個人
二部式袍
9か月前
個人
ネクタイ
1か月前
個人
下着
4か月前
個人
衣装
6か月前
個人
靴下
10か月前
個人
多機能装身具
2か月前
個人
簡単帯
10か月前
個人
マスク装着具
11か月前
個人
マスク
1か月前
個人
作業補助ミトン
8か月前
個人
手首穴付き手袋
11か月前
個人
シャツ改造方法
6か月前
東レ株式会社
防護服
21日前
個人
肩章付き衣服。
4か月前
個人
ボクサーパンツ
11か月前
個人
:マスクカバー
2か月前
個人
ショーツ
10か月前
個人
健康靴下
11か月前
個人
ソフトキャミブラ
6か月前
東洋紡株式会社
マスク
27日前
個人
車椅子用グローブ
2か月前
個人
手袋
7か月前
個人
内フィルムマスク
29日前
個人
足首用サポーター
8か月前
有限会社原電業
指手袋
11か月前
株式会社聖
手足保護具
9か月前
株式会社聖
手足保護具
14日前
個人
靴下
11か月前
個人
レインコート
5か月前
興和株式会社
マスク
8か月前
個人
和装下着の半衿カバー
11か月前
個人
被介護者用上衣
3か月前
グンゼ株式会社
衣服
6か月前
続きを見る
他の特許を見る