TOP
|
特許
|
意匠
|
商標
特許ウォッチ
Twitter
他の特許を見る
公開番号
2025167901
公報種別
公開特許公報(A)
公開日
2025-11-07
出願番号
2024072914
出願日
2024-04-26
発明の名称
衣服
出願人
ハイドサイン株式会社
代理人
個人
主分類
A41D
13/002 20060101AFI20251030BHJP(衣類)
要約
【課題】衣服本体内の空気の流れが妨げられるのを防ぐ。
【解決手段】衣服1は、電動ファン18が装着される、長袖のブルゾンタイプの衣服本体2と、衣服本体2の内側に取り付けられて、電動ファン18を吊り下げるように支持するテープ状又は紐状の第1のパーツ19とを備える。衣服本体2の電動ファン18が装着される領域に芯地11が設けられており、第1のパーツ19は、一端部19aが肩部に取り付けられ、他端部19bが芯地11に取り付けられる。
【選択図】図3
特許請求の範囲
【請求項1】
電動ファンが装着される衣服本体と、
前記衣服本体の内側に取り付けられて、前記電動ファンを吊り下げるように支持するテープ状又は紐状の第1のパーツとを備えたことを特徴とする衣服。
続きを表示(約 660 文字)
【請求項2】
前記衣服本体の前記電動ファンが装着される領域に芯地が設けられており、
前記第1のパーツは、一端部が前記衣服本体に取り付けられ、他端部が前記芯地に取り付けられることを特徴とする請求項1に記載の衣服。
【請求項3】
前記衣服本体は上着であり、
前記第1のパーツが肩部に取り付けられることを特徴とする請求項1又は2に記載の衣服。
【請求項4】
前記第1のパーツの長さを調整可能にしたことを特徴とする請求項1又は2に記載の衣服。
【請求項5】
前記衣服本体は上着であり、
一端部が襟部の付け根に取り付けられ、他端部がアームホールに取り付けられるテープ状又は紐状の第2のパーツを備えたことを特徴とする請求項1又は2に記載の衣服。
【請求項6】
前記第2のパーツの長さを調整可能にしたことを特徴とする請求項5に記載の衣服。
【請求項7】
前記衣服本体は上着であり、
前記電動ファンは背面部に装着され、
前記背面部の内側に面状の第3のパーツが設けられ、
前記電動ファンにより空気の流れが発生するときに、前記第3のパーツに対して前記背面部が外側に膨らんで導風路が確保されることを特徴とする請求項1又は2に記載の衣服。
【請求項8】
前記背面部に、着丈方向の途中位置から襟部の上端に到る範囲に、左右にマチがある帯状部が設けられることを特徴とする請求項7に記載の衣服。
発明の詳細な説明
【技術分野】
【0001】
本発明は、EF(ELECTRIC FAN)ウェアと呼ばれる衣服に関する。
続きを表示(約 1,400 文字)
【背景技術】
【0002】
衣服本体に電動ファンが装着される、EFウェアと呼ばれる衣服が提供されている(例えば特許文献1を参照)。
【先行技術文献】
【特許文献】
【0003】
特開2018-12900号公報
【発明の概要】
【発明が解決しようとする課題】
【0004】
EFウェアにおいては、電動ファンの重さにより、衣服本体が着用者の身体に密着して、衣服本体内の空気の流れが妨げられて、快適性が損なわれることがある。
【0005】
本発明は、衣服本体内の空気の流れが妨げられるのを防ぐことを目的とする。
【課題を解決するための手段】
【0006】
本発明の衣服は、電動ファンが装着される衣服本体と、前記衣服本体の内側に取り付けられて、前記電動ファンを吊り下げるように支持するテープ状又は紐状の第1のパーツとを備えたことを特徴とする。
【発明の効果】
【0007】
本発明によれば、衣服本体内の空気の流れが妨げられるのを防ぐことが可能になる。
【図面の簡単な説明】
【0008】
実施形態に係るEFウェアの正面図である。
実施形態に係るEFウェアの背面図である。
図1Bのa-a線断面を模式的に示す図である。
実施形態に係るEFウェアの構成を説明するための図である。
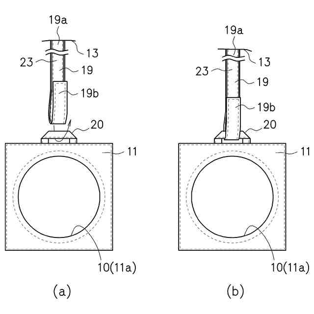
芯地及び第1のパーツの構成を示す図である。
【発明を実施するための形態】
【0009】
以下、添付図面を参照して、本発明の好適な実施形態について説明する。
図1A及び図1Bは、実施形態に係るEFウェア1を示す図であり、それぞれ正面図、背面図である。図2は、図1Bのa-a線断面を模式的に示す図である。
図1A及び図1Bに示すように、実施形態に係るEFウェア1は、長袖のブルゾンタイプの衣服本体2を備える。衣服本体2は、着用者Pの胴を被う胴部3を有し、スライドファスナ等による前開き構造となっている。胴部3は、前身頃4と、肩ヨーク5a及び後身頃5bからなる背面部5とにより構成する。胴部3は、肩部6を有する。また、胴部3の左右のアームホール7には、長袖の袖部8が縫い付けられる。また、胴部3の首まわりには、スタンドカラータイプの襟部9が縫い付けられる。
【0010】
図1Bに示すように、胴部3の背面部5において、後身頃5bの左右に、電動ファン(図1Bでは不図示)を着脱自在に装着するための装着孔10が形成される。電動ファンは、例えば特許文献1にあるように、ファン本体のフランジと固定リングとの間に衣服本体を挟み込む構成を備える。装着孔10を含む領域は、電動ファンを支持することから、衣服本体2の生地よりも固い芯地11が設けられ、型くずれを防止するようになっている。芯地11は、図4に示すように、装着孔10に対応する孔11aが形成された四角形の布パーツであり、後身頃5bの内側に縫い付けられる。図1Bにおいて、装着孔10の周囲の矩形状をなす点線は芯地11を縫い付ける糸を示す。なお、芯地11が縫い付けられるとしたが、後身頃5bに接着等されるものでもよい。また、芯地11には、布素材に加えて又は替えて、樹脂素材等が用いられてもよい。
(【0011】以降は省略されています)
この特許をJ-PlatPat(特許庁公式サイト)で参照する
関連特許
個人
和服
6か月前
個人
衿芯
4か月前
個人
シャツ
2か月前
個人
中間着
21日前
個人
ネクタイ
2か月前
個人
衣装
7か月前
個人
下着
5か月前
個人
多機能装身具
3か月前
個人
マスク
2か月前
個人
防虫服
21日前
個人
:マスクカバー
3か月前
個人
シャツ改造方法
7か月前
東レ株式会社
防護服
1か月前
個人
肩章付き衣服。
5か月前
個人
車椅子用グローブ
3か月前
東洋紡株式会社
マスク
1か月前
個人
ソフトキャミブラ
7か月前
株式会社聖
手足保護具
1か月前
個人
内フィルムマスク
1か月前
個人
レインコート
6か月前
個人
被介護者用上衣
4か月前
株式会社マルイチ
二部式帯
1か月前
グンゼ株式会社
衣服
7か月前
個人
ブラカップを有する衣類
2か月前
個人
ブラカップを有する衣類
2か月前
株式会社マルイチ
2部式着物
2か月前
個人
マスク(多機能マスク)
3か月前
株式会社ユイ
五本指靴下
23日前
個人
着物ワンピース(ドレス)
3か月前
合同会社BIARCH
ガードル
6か月前
イイダ靴下株式会社
衣類
4か月前
有限会社青葉
ボトム衣料
6か月前
株式会社カネカ
汎用かつら
2か月前
個人
発泡スチロール着物木目込み
5か月前
株式会社TAT
被服
1か月前
個人
冷却衣服
23日前
続きを見る
他の特許を見る