TOP
|
特許
|
意匠
|
商標
特許ウォッチ
Twitter
他の特許を見る
公開番号
2025165014
公報種別
公開特許公報(A)
公開日
2025-11-04
出願番号
2024068850
出願日
2024-04-22
発明の名称
五本指靴下
出願人
株式会社ユイ
代理人
個人
主分類
A41B
11/00 20060101AFI20251027BHJP(衣類)
要約
【課題】本発明は、丸編み靴下編機によりヒトの小指の配置を他の指と独立させた編成方法及びその方法によって作られた五本指靴下を提供することを目的とする。
【解決手段】本発明の五本指靴下の編成方法は、丸編み靴下編機において、履き口部から足底部および足甲部の編地を編成した後、足底部側編針の端部の複数本の編針のみを用いて、編機のシリンダを正逆往復回動させつつ、複数本の編針の両端から徐々に減らし目を行い、続いて徐々に増やし目を行う第五指用指袋の編成し、第五指用指袋の編成終了後に第一の移行コース編成工程と、その後順次第四指用指袋から第一指用指袋を編成する編成工程と、第四指用袋から第一指用袋の編成終了後に第二の移行コース編成工程と、全編針により第二の移行コース編成後、第四指用指袋から第一指用指袋にかけてロッソコース部を編成する工程とを、含むからなり、ロッソコース部は該第五指用指袋には設けない。
【選択図】図1
特許請求の範囲
【請求項1】
円形の針床を有する丸編み靴下編機における五本指靴下の編成において、第五指用指袋を、それ以外の指袋の編成とは独立して編成し、ロッソコース部は該第五指用指袋には設けないことを特徴とする五本指靴下の編成方法。
続きを表示(約 2,100 文字)
【請求項2】
円形の針床を有する丸編み靴下編機における靴下の編成において、履き口部から足底部および足甲部の編地を編成した後、足底部側編針の端部の複数本の編針のみを用いて、編機のシリンダを正逆往復回動させつつ、前記複数本の編針の両端から徐々に減らし目を行い、続いて徐々に増やし目を行う第五指用指袋の編成し、
第五指用指袋の編成終了後に、シリンダを一方向に回転して、全編針により数コース編成する第一の移行コース編成工程と、
前記第五指用袋部を編成する編針以外の足底部側編針、または該足底部側編針およびこれに続く複数本の足甲部側編針、を用いて、編機のシリンダを正逆往復回動させつつ、前記一群の編針の両端から徐々に減らし目を行い、続いて徐々に増やし目を行う第四指用指袋の編成工程と、
前記第四指用指袋を編成した編針のうち端の複数本の編針とそれに続く複数本の編針とからなる一群の編針を用いて、編機のシリンダを正逆往復回動させつつ、前記一群の編針の両端から徐々に減らし目を行い、続いて徐々に増やし目を行う第三指用指袋の編成工程と、
前記第三指用指袋を編成した編針のうち端の複数本の編針とそれに続く複数本の編針とからなる一群の編針を用いて、編機のシリンダを正逆往復回動させつつ、前記一群の編針の両端から徐々に減らし目を行い、続いて徐々に増やし目を行う第二指用指袋の編成工程と、
前記第二指用指袋を編成した編針のうち端の複数本の編針とそれに続く複数本の編針とからなる一群の編針を用いて、編機のシリンダを正逆往復回動させつつ、前記一群の編針の両端から徐々に減らし目を行い、続いて徐々に増やし目を行う第一指用指袋の編成工程とを含む足底部側編針による指袋編成工程において、
第四指用袋から第一指用袋の編成終了後に、シリンダを一方向に回転して、全編針により数コース編成する第二の移行コース編成工程と、
全編針により前記第二の移行コース編成後、第四指用袋から第一指用袋にかけてロッソコース部を編成する工程とを、含み、
前記第一の移行コースは前記第二の移行コースに比べて、コース数が多いことを特徴とする五本指靴下の編成方法。
【請求項3】
円形の針床を有する丸編み靴下編機における靴下の編成において、履き口部から足底部および足甲部の編地を編成した後、足甲部側編針の端部の複数本の編針のみを用いて、編機のシリンダを正逆往復回動させつつ、前記複数本の編針の両端から徐々に減らし目を行い、続いて徐々に増やし目を行う第五指用指袋の編成し、
第五指用指袋の編成終了後に、シリンダを一方向に回転して、全編針により数コース編成する第一の移行コース編成工程と、
前記第五指用袋部を編成する編針以外の足甲部側編針、または該足甲部側編針およびこれに続く複数本の足底部側編針、を用いて、編機のシリンダを正逆往復回動させつつ、前記一群の編針の両端から徐々に減らし目を行い、続いて徐々に増やし目を行う第四指用指袋の編成工程と、
前記第四指用指袋を編成した編針のうち端の複数本の編針とそれに続く複数本の編針とからなる一群の編針を用いて、編機のシリンダを正逆往復回動させつつ、前記一群の編針の両端から徐々に減らし目を行い、続いて徐々に増やし目を行う第三指用指袋の編成工程と、
前記第三指用指袋を編成した編針のうち端の複数本の編針とそれに続く複数本の編針とからなる一群の編針を用いて、編機のシリンダを正逆往復回動させつつ、前記一群の編針の両端から徐々に減らし目を行い、続いて徐々に増やし目を行う第二指用指袋の編成工程と、
前記第二指用指袋を編成した編針のうち端の複数本の編針とそれに続く複数本の編針とからなる一群の編針を用いて、編機のシリンダを正逆往復回動させつつ、前記一群の編針の両端から徐々に減らし目を行い、続いて徐々に増やし目を行う第一指用指袋の編成工程とを含む足甲部側編針による指袋編成工程において、
第四指用袋から第一指用袋の編成終了後に、シリンダを一方向に回転して、全編針により数コース編成する第二の移行コース編成工程と、
全編針により前記第二の移行コース編成後、第四指用袋から第一指用袋にかけてロッソコース部を編成する工程とを、含み、
前記第一の移行コースは前記第二の移行コースに比べて、コース数が多いことを特徴とする五本指靴下の編成方法。
【請求項4】
円形の針床を有する丸編み靴下編機で編成された五本指靴下において、ロッソコース部は第四指用袋から第一指用袋の各付け根にかけて設けられ、第五指用指袋には設けられないことを特徴とする五本指靴下。
【請求項5】
請求項1に記載された編成方法により編成された五本指靴下。
【請求項6】
請求項2に記載された編成方法により編成された五本指靴下。
【請求項7】
請求項3に記載された編成方法により編成された五本指靴下。
発明の詳細な説明
【技術分野】
【0001】
本発明は五本指靴下に関し、特に丸編み靴下編機を使用した五本指靴下及びその編成方法に関するものである。
続きを表示(約 3,100 文字)
【背景技術】
【0002】
5つの指袋を有する五本指靴下は横編機で編成したものと、丸編み靴下編機で編成したものとがある。
一対の針床を配置した横編機で五本指靴下を編成する場合は、まず第一指(親指)の指袋の指先部分から編み始め、第二指、第三指、第四指、第五指(小指)の指袋を編成し、その後に足部、踵部、身部そして履き口部へと順次編成してゆく。これに対して、丸編み靴下編機で五本指靴下を編成する場合は、履き口部から筒状に編成を開始し、身部まで筒状に編成し、次ぎに踵部、そして足部と編成し、最後に5つの指袋を編成する。
このように横編機と丸編み靴下編機で五本指靴下を編成する場合、編成工程が全く異なる。
【0003】
しかしながら、横編機では一部の定型的な柄しか出せず、複雑な柄ができないので、編成された靴下はファッション性が乏しくなり、商品の付加価値が少ない。一方、丸編み靴下編機で編成した靴下はファッション性の高いものを製造できるものの、五本指靴下は通常の編成方法では、指の配列が直列的になり、実際の足の指の配置、特に小指の配置に合致しない。
【0004】
特許文献1に係る発明は、横編機で編成した五本指靴下は指の付け根部分と指先の先端部分までの編成コースが同じであるために、指袋に指を挿入するのが極めて大変であるという問題を解決するために、丸編機のみを用いて複数本の指袋を有する靴下の編成方法が開示されている。この編成方法によれば、第一指(親指)用指袋から編成し、続いて第二指、第三指、第四指、第五指(小指)用指袋を編成し、この指袋の編成に際して、目減らしおよび目増やしを行い、爪先に向かうに従って細くなる指袋を編成し、指を挿入しやすいものとすることが開示されている。
特許文献2には、丸編み靴下編機で五本指靴下を編成する場合、爪先部の編成に際して第五指(小指)を覆う指袋から編成し、第四指、第三指、第二指および第一指を順次編成していくことが開示されている。
【先行技術文献】
【特許文献】
【0005】
特開2007-39815号公報
特開2006-348428号公報
【発明の概要】
【発明が解決しようとする課題】
【0006】
ところが、特許文献1及び2に係る靴下は、前述した小指の配置の問題を解決しない。
【0007】
本発明は、このような問題に鑑み、丸編み靴下編機によりヒトの小指の配置を他の指と独立させた編成方法及びその方法によって作られた五本指靴下を提供することを目的とする。
【課題を解決するための手段】
【0008】
上記問題を解決するために、本発明の五本指靴下の編成方法は、円形の針床を有する丸編み靴下編機における五本指靴下の編成において、第五指用指袋を、それ以外の指袋の編成とは独立して編成し、ロッソコース部は該第五指用指袋には設けないことを特徴とする。
【0009】
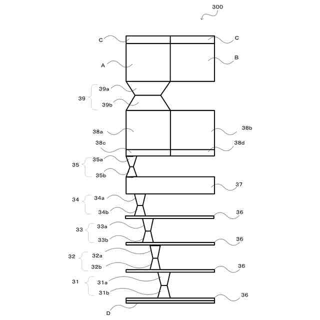
また、本発明の五本指靴下の編成方法は、円形の針床を有する丸編み靴下編機における靴下の編成において、履き口部から足底部および足甲部の編地を編成した後、足底部側編針の端部の複数本の編針のみを用いて、編機のシリンダを正逆往復回動させつつ、複数本の編針の両端から徐々に減らし目を行い、続いて徐々に増やし目を行う第五指用指袋の編成し、
第五指用指袋の編成終了後に、シリンダを一方向に回転して、全編針により数コース編成する第一の移行コース編成工程と、
第五指用袋部を編成する編針以外の足底部側編針、または該足底部側編針およびこれに続く複数本の足甲部側編針、を用いて、編機のシリンダを正逆往復回動させつつ、一群の編針の両端から徐々に減らし目を行い、続いて徐々に増やし目を行う第四指用指袋の編成工程と、
第四指用指袋を編成した編針のうち端の複数本の編針とそれに続く複数本の編針とからなる一群の編針を用いて、編機のシリンダを正逆往復回動させつつ、一群の編針の両端から徐々に減らし目を行い、続いて徐々に増やし目を行う第三指用指袋の編成工程と、
第三指用指袋を編成した編針のうち端の複数本の編針とそれに続く複数本の編針とからなる一群の編針を用いて、編機のシリンダを正逆往復回動させつつ、前記一群の編針の両端から徐々に減らし目を行い、続いて徐々に増やし目を行う第二指用指袋の編成工程と、
第二指用指袋を編成した編針のうち端の複数本の編針とそれに続く複数本の編針とからなる一群の編針を用いて、編機のシリンダを正逆往復回動させつつ、一群の編針の両端から徐々に減らし目を行い、続いて徐々に増やし目を行う第一指用指袋の編成工程とを含む足底部側編針による指袋編成工程において、
第四指用袋から第一指用袋の編成終了後に、シリンダを一方向に回転して、全編針により数コース編成する第二の移行コース編成工程と、
全編針により第二の移行コース編成後、第四指用指袋から第一指用指袋にかけてロッソコース部を編成する工程とを、含み、
第一の移行コースは前記第二の移行コースに比べて、コース数が多いことを特徴とする。
【0010】
さらに、本発明の五本指靴下の編成方法は、円形の針床を有する丸編み靴下編機における靴下の編成において、履き口部から足底部および足甲部の編地を編成した後、足甲部側編針の端部の複数本の編針のみを用いて、編機のシリンダを正逆往復回動させつつ、複数本の編針の両端から徐々に減らし目を行い、続いて徐々に増やし目を行う第五指用指袋の編成し、
第五指用指袋の編成終了後に、シリンダを一方向に回転して、全編針により数コース編成する第一の移行コース編成工程と、
第五指用袋部を編成する編針以外の足甲部側編針、または該足甲部側編針およびこれに続く複数本の足底部側編針、を用いて、編機のシリンダを正逆往復回動させつつ、一群の編針の両端から徐々に減らし目を行い、続いて徐々に増やし目を行う第四指用指袋の編成工程と、
第四指用指袋を編成した編針のうち端の複数本の編針とそれに続く複数本の編針とからなる一群の編針を用いて、編機のシリンダを正逆往復回動させつつ、前記一群の編針の両端から徐々に減らし目を行い、続いて徐々に増やし目を行う第三指用指袋の編成工程と、
第三指用指袋を編成した編針のうち端の複数本の編針とそれに続く複数本の編針とからなる一群の編針を用いて、編機のシリンダを正逆往復回動させつつ、一群の編針の両端から徐々に減らし目を行い、続いて徐々に増やし目を行う第二指用指袋の編成工程と、
第二指用指袋を編成した編針のうち端の複数本の編針とそれに続く複数本の編針とからなる一群の編針を用いて、編機のシリンダを正逆往復回動させつつ、一群の編針の両端から徐々に減らし目を行い、続いて徐々に増やし目を行う第一指用指袋の編成工程とを含む足甲部側編針による指袋編成工程において、
第四指用袋から第一指用袋の編成終了後に、シリンダを一方向に回転して、全編針により数コース編成する第二の移行コース編成工程と、
全編針により第二の移行コース編成後、第四指用袋から第一指用袋にかけてロッソコース部を編成する工程とを、含み、
第一の移行コースは前記第二の移行コースに比べて、コース数が多いことを特徴とする。
(【0011】以降は省略されています)
この特許をJ-PlatPat(特許庁公式サイト)で参照する
関連特許
株式会社ユイ
五本指靴下
今日
個人
上階床下地用パネル及び該上階床下地用パネルを使用した防音・断熱工法
8日前
個人
和服
6か月前
個人
衿芯
3か月前
個人
シャツ
1か月前
個人
二部式袍
9か月前
個人
ネクタイ
1か月前
個人
下着
5か月前
個人
靴下
10か月前
個人
衣装
6か月前
個人
マスク
1か月前
個人
多機能装身具
2か月前
個人
簡単帯
10か月前
個人
:マスクカバー
2か月前
個人
肩章付き衣服。
4か月前
東レ株式会社
防護服
28日前
個人
作業補助ミトン
9か月前
個人
シャツ改造方法
6か月前
個人
ショーツ
10か月前
個人
手首穴付き手袋
11か月前
個人
ボクサーパンツ
11か月前
個人
健康靴下
11か月前
個人
手袋
7か月前
個人
内フィルムマスク
1か月前
有限会社原電業
指手袋
11か月前
個人
車椅子用グローブ
2か月前
個人
足首用サポーター
8か月前
東洋紡株式会社
マスク
1か月前
個人
ソフトキャミブラ
6か月前
株式会社聖
手足保護具
9か月前
株式会社聖
手足保護具
21日前
個人
レインコート
5か月前
株式会社マルイチ
二部式帯
28日前
個人
和装下着の半衿カバー
11か月前
グンゼ株式会社
衣服
6か月前
個人
被介護者用上衣
3か月前
続きを見る
他の特許を見る