TOP
|
特許
|
意匠
|
商標
特許ウォッチ
Twitter
他の特許を見る
10個以上の画像は省略されています。
公開番号
2025136113
公報種別
公開特許公報(A)
公開日
2025-09-19
出願番号
2024034323
出願日
2024-03-06
発明の名称
ブラカップを有する衣類
出願人
個人
代理人
主分類
A41C
3/12 20060101AFI20250911BHJP(衣類)
要約
【課題】 ブラカップ内の内カップによる適切なバストの補正効果を向上させ理想のバストラインに保つことができるブラカップを有する衣類を提供する。
【解決手段】 ブラカップ内のバスト中段16からバスト下段17にかけて肩側トップからバージスラインに沿って胸側縁まで伸張素材の第1内カップを設け、第1内カップを長手方向に内側2箇所にブラカップ頂点側からバージスラインに向けて最短距離となる方向に向けてV字型溝を設け、その溝を基点に第1内カップを脇部、下部、胸側中心部の3区間に分けてバストをブラカップ内に包み込み補正させ、さらにV字型溝の底部からバージスラインに向けて条溝又は長孔を設け、第1内カップの伸張作用の向上を図る。
【選択図】 図1
特許請求の範囲
【請求項1】
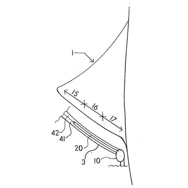
女性の左右のバストを覆い補正する左右独立したバストを包む円錐形の形状としたブラカップにおいて、前記ブラカップの内部に伸張素材の第1内カップを設け、前記第1内カップは、前記ブラカップの肩側トップを始点として、前記ブラカップのバストの基底ラインであるバージスラインに沿って、前記ブラカップの胸側縁を終点として前記第1内カップの幅は最も幅の広い場所にて前記バージスラインからブラカップ頂点までの距離の2/3の範囲内とした区間に前記第1内カップを設けることを特徴とするブラカップを有する衣類。
続きを表示(約 980 文字)
【請求項2】
前記第1内カップは、前記ブラカップの外周に接する前記ブラカップの前記肩側トップを始点とし、前記バージスラインに接する線と終点である前記ブラカップの前記胸側縁に接する箇所は前記ブラカップに縫着されており、他の前記ブラカップ頂点に面している箇所は前記ブラカップには縫着されていないことを特徴とする請求項1に記載のブラカップを有する衣類。
【請求項3】
前記第1内カップは、前記ブラカップ頂点に面した長手方向内側の2箇所に前記ブラカップの前記バージスラインに向けて最短距離となる方向に第1溝と第2溝が設けられ、前記第1内カップを前記ブラカップの前記肩側トップから前記バージスラインに沿って前記ブラカップの前記胸側縁にかけて、第1内カップ脇部と第1内カップ下部と第1内カップ胸側中心部の3分割とした時に、前記第1溝は、前記第1内カップ脇部と前記第1内カップ下部の境界に設けられ、前記第2溝は、前記第1内カップ下部と前記第1内カップ胸側中心部の境界に設けられていることを特徴とする請求項2に記載のブラカップを有する衣類。
【請求項4】
前記第1内カップの前記ブラカップ頂点に面した長手方向内側の2箇所に設けられた前記第1溝と前記第2溝とも溝の形をV字型とし前記第1溝と前記第2溝のV字型溝の深さを0.5mm~1.5mmとすることを特徴とする請求項3に記載のブラカップを有する衣類。
【請求項5】
前記第1内カップの肌側に対して、前記第1溝の底部から前記バージスラインまでを結ぶ最短距離の線上に条溝を設け、さらに前記第2溝の底部から前記バージスラインまでを結ぶ最短距離の線上にも前記条溝を設けることを特徴とする請求項3に記載のブラカップを有する衣類。
【請求項6】
前記第1内カップの前記第1溝の底部から前記バージスラインまでを結ぶ最短距離の線上の中間付近に長孔を設け、さらに前記第2溝の底部から前記バージスラインまでを結ぶ最短距離の線上の中間付近にも前記長孔を設けることを特徴とする請求項3に記載のブラカップを有する衣類。
【請求項7】
前記ブラカップのバストの基底ラインである前記バージスラインにワイヤーを設けることを特徴とする請求項1に記載のブラカップを有する衣類。
発明の詳細な説明
【技術分野】
【0001】
本発明は、ブラジャーに代表される女性の左右の乳房を覆い補正する左右独立した乳房を包む円錐形の形状としたブラカップを有する女性用衣類において、ブラカップ内に肩側トップから脇そしてバージスラインに沿って伸張素材の第1内カップを設け、第1内カップを長手方向に内側2箇所にブラカップ頂点側からバージスラインに向けて溝を設け、その溝を基点に内カップを内カップ脇部と内カップ下部と内カップ胸側中心部の3区間に分けてバストをブラカップ内に包み込み補正させ、さらに併用法としてバージスライン内にワイヤー設けてバストをブラカップ内に包み込み補正させるように構成したブラカップを有する衣類に関するものである。
続きを表示(約 3,500 文字)
【背景技術】
【0002】
従来のブラカップを有する女性用下着の代表であるブラジャーにおいて、バストをブラカップ部にて着用者が意図とするバストを形成するために一つの方法としてブラカップ自体が伸張するモールドカップ形式のブラジャーがある。モールドカップ形式のブラジャーは、ブラカップを構成する複数の生地が伸張素材にて構成され、ブラカップ内にてバスト(乳房)をサポートするためにブラカップ内部にはポリウレタンフォーム製の内カップを設けられた構造としたブラジャーがある。
【0003】
ところが、ブラカップ内に設けられた内カップの伸張性(伸縮性)を高めると、対応できるバスト(乳房)の大きさの範囲は広がるが、ブラジャーの着用者のバスト(乳房)の形状によっては、サポート力が弱まり、着用者の挙動変化に伴ってブラカップが浮きやすくブラカップ内にてバストが自由に動いてしまいバストを補正し、しっかりとホールドできない問題も生じている。逆にブラカップ内に設けられた内カップにてバストを補正し、しっかりとホールド性を高めるために内カップの伸張性(伸縮性)を低めると、特にバストへの締め付け感が強くなる威圧感に関する問題も生じている。
【0004】
そこでブラカップ内に設ける内カップに関して伸張性(伸縮性)や変形性を高めた内カップが幾つか考案されている。例えば特許文献1では、内カップに多数のスリットが設けられ、各スリットは上下方向に延在している。ブラジャーが身体に装着されるとスリットが開き、通気性が向上すると共に、伸度を調整する事ができるブラジャーが考案されている。特許文献2では、ブラカップ内部に伸張性のある内カップを備え、内カップは円周方向に複数の長孔を有し上辺部は波形形状の構造とした衣類が考案されている。特許文献2では、内カップに多数のスリットが設けられ、各スリットは上下方向に延在している。ブラジャーが身体に装着されるとスリットが開き、通気性が向上すると共に、伸度を調整する事ができるブラジャーが考案されている。
【0005】
ところが特許文献1では、内カップに多数のスリットが設けられ、各スリットは上下方向に延在している。ブラジャーが身体に装着されるとスリットが開き、通気性が向上すると共に、伸度を調整する事ができるブラジャーであるが、内カップがブラカップ全体を覆っており、ホールド性を高めるために内カップの伸張性を低めると、特にバストトップ辺りの締め付け感が強くなり威圧感に関する問題も生じると考えられる。またブラカップ内でのバストからブラカップに対しての負荷が異なるブラカップの脇部とバスト下部に対してブラカップを介してバストに的圧になることについての内カップ自体の構造に関しては触れられていない。特許文献2では、ブラカップ内部に伸張性のある内カップを備え、内カップは円周方向に複数の長孔を有し上辺部は波形形状の構造としたブラジャーであるが、内カップがブラカップ全体を覆っており、ホールド性を高めるために内カップの伸張性を低めると、特にバストトップ辺りの締め付け感が強くなり威圧感に関する問題も生じると考えられる。またブラカップ内でのバストからブラカップに対しての負荷が異なるブラカップの脇部とバスト下部に対してブラカップを介してバストに的圧になることについての内カップ自体の構造に関しては触れられていない。
【先行技術文献】
【特許文献】
【0006】
特開2009-179891号報
【0007】
国際公開番号W02019/163201号報
【発明の概要】
【発明が解決しようとする課題】
【0008】
そこで本発明は、ブラカップ内に内カップが設けられているブラジャーに代表されるブラカップを有する衣類において、ブラカップ内に設けられた内カップの伸張性(伸縮性)を高めると、サポート力が弱まり、しっかりとホールドできない問題と、一方、逆に内カップの伸張性(伸縮性)を低めた場合に、バストへの締め付け感が強くなり威圧感が生じる問題を鑑み、女性によって異なるバストの形状に対して無理なく順応させるべく、バストから最も負荷がかかるブラカップの中段と下段に対して、ブラカップ内に設けられた内カップによるバストの補正方法によって、女性がブラジャー又はブラカップを有する衣類を着用した時に圧迫感や威圧感を緩和しつつ適切なバストの補正効果を向上させることのできるブラカップを有する衣類を提供することを目的としている。
【課題を解決するための手段】
【0009】
本発明では、上記の課題を解決すべく、
1.女性の左右のバストを覆い補正する左右独立したバストを包む円錐形の形状としたブラカップにおいて、前記ブラカップの内部に伸張素材の第1内カップを設け、前記第1内カップは、前記ブラカップの肩側トップを始点として、前記ブラカップのバストの基底ラインであるバージスラインに沿って、前記ブラカップの胸側縁を終点として前記第1内カップの幅は最も幅の広い場所にて前記バージスラインからブラカップ頂点までの距離の2/3の範囲内とした区間に前記第1内カップを設けることを特徴としている。
2.前記第1内カップは、前記ブラカップの外周に接する前記ブラカップの前記肩側トップを始点とし、前記バージスラインに接する線と終点である前記ブラカップの前記胸側縁に接する箇所は前記ブラカップに縫着されており、他の前記ブラカップ頂点に面している箇所は前記ブラカップには縫着されていないことを特徴としている。
3.前記第1内カップは、前記ブラカップ頂点に面した長手方向内側の2箇所に前記ブラカップの前記バージスラインに向けて最短距離となる方向に第1溝と第2溝が設けられ、前記第1内カップを前記ブラカップの前記肩側トップから前記バージスラインに沿って前記ブラカップの前記胸側縁にかけて、第1内カップ脇部と第1内カップ下部と第1内カップ胸側中心部の3分割とした時に、前記第1溝は、前記第1内カップ脇部と前記第1内カップ下部の境界に設けられ、前記第2溝は、前記第1内カップ下部と前記第1内カップ胸側中心部の境界に設けられていることを特徴としている。
4.前記第1内カップの前記ブラカップ頂点に面した長手方向内側の2箇所に設けられた前記第1溝と前記第2溝とも溝の形をV字型とし前記第1溝と前記第2溝のV字型溝の深さを0.5mm~1.5mmとすることを特徴としている。
5.前記第1内カップの肌側に対して、前記第1溝の底部から前記バージスラインまでを結ぶ最短距離の線上に条溝を設け、さらに前記第2溝の底部から前記バージスラインまでを結ぶ最短距離の線上にも前記条溝を設けることを特徴としている。
6.前記第1内カップの前記第1溝の底部から前記バージスラインまでを結ぶ最短距離の線上の中間付近に長孔を設け、さらに前記第2溝の底部から前記バージスラインまでを結ぶ最短距離の線上の中間付近にも前記長孔を設けることを特徴としている。
7.前記ブラカップのバストの基底ラインである前記バージスラインにワイヤーを設けることを特徴としている。
【発明の効果】
【0010】
第1の発明から第2の発明によれば、不特定多数のブラジャーの着用者に対し変化に富んだバスト(乳房)の大きさ、形などに対応すべく、ブラカップの内部に伸張素材の第1内カップを設け、設置場所を第1内カップは、ブラカップの肩側トップを始点として、ブラカップのバストの基底ラインであるバージスラインに沿って、ブラカップの胸側縁を終点として第1内カップの幅は最も幅の広い場所にてバージスラインからブラカップ頂点までの距離の2/3の範囲内とした区間に第1内カップを設け、第1内カップは、ブラカップの肩側トップを始点としてバージスラインに接する線上と終点であるブラカップの胸側縁に接するまでの区間は、ブラカップに縫着されており、他のブラカップの頂点に面している箇所はブラカップには縫着されていないこととした第1内カップによって、最もバストからブラカップに負荷がかかるバスト下段からバスト中段にかけてバストを伸張生地によって包み込み、的圧にてバストの下部からバスト脇側を支え理想とするバスト形成を行うことができる。
(【0011】以降は省略されています)
この特許をJ-PlatPat(特許庁公式サイト)で参照する
関連特許
個人
和服
5か月前
個人
衿芯
3か月前
個人
シャツ
1か月前
個人
ネクタイ
1か月前
個人
衣装
6か月前
個人
下着
4か月前
個人
多機能装身具
1か月前
個人
マスク
1か月前
個人
:マスクカバー
2か月前
東レ株式会社
防護服
19日前
個人
シャツ改造方法
6か月前
個人
肩章付き衣服。
4か月前
個人
内フィルムマスク
27日前
株式会社聖
手足保護具
12日前
東洋紡株式会社
マスク
25日前
個人
ソフトキャミブラ
6か月前
個人
車椅子用グローブ
2か月前
個人
レインコート
5か月前
グンゼ株式会社
衣服
5か月前
個人
被介護者用上衣
3か月前
株式会社マルイチ
二部式帯
19日前
個人
マスク(多機能マスク)
2か月前
株式会社マルイチ
2部式着物
1か月前
個人
ブラカップを有する衣類
1か月前
個人
ブラカップを有する衣類
1か月前
有限会社青葉
ボトム衣料
5か月前
イイダ靴下株式会社
衣類
3か月前
個人
着物ワンピース(ドレス)
2か月前
合同会社BIARCH
ガードル
5か月前
株式会社ケアウィル
膝掛け
27日前
株式会社カネカ
汎用かつら
1か月前
株式会社りらいぶ
パジャマ
3か月前
ハイドサイン株式会社
衣服
2か月前
個人
発泡スチロール着物木目込み
4か月前
ハイドサイン株式会社
衣服
6か月前
株式会社TAT
被服
12日前
続きを見る
他の特許を見る