TOP
|
特許
|
意匠
|
商標
特許ウォッチ
Twitter
他の特許を見る
公開番号
2025150455
公報種別
公開特許公報(A)
公開日
2025-10-09
出願番号
2024051325
出願日
2024-03-27
発明の名称
着圧調整被服
出願人
コーマ株式会社
代理人
個人
主分類
A41B
11/00 20060101AFI20251002BHJP(衣類)
要約
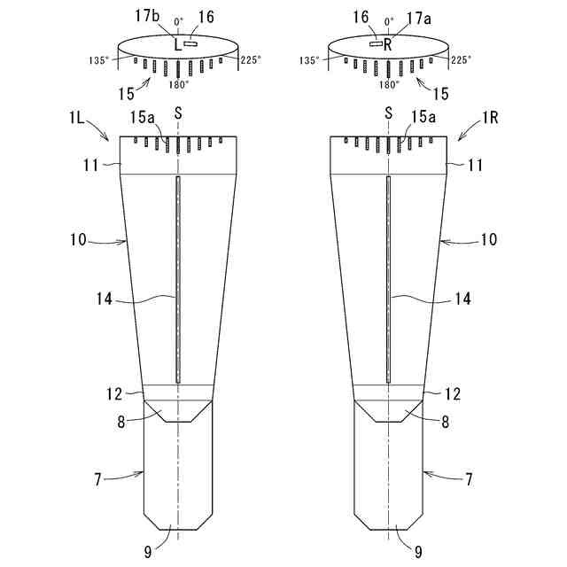
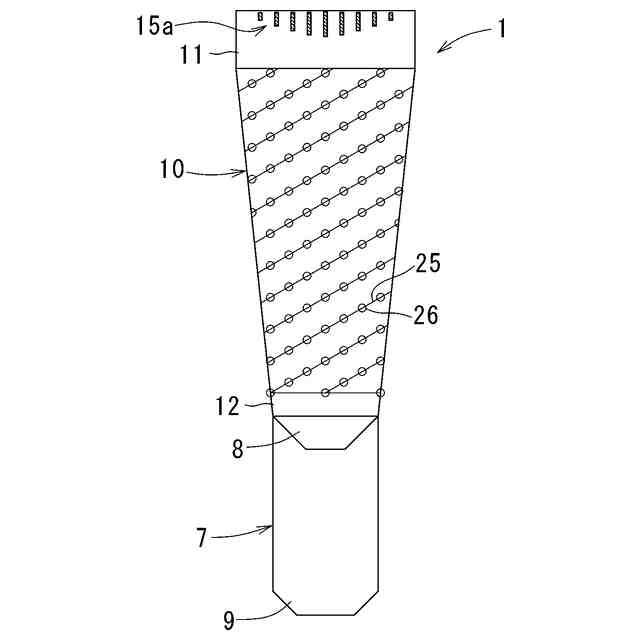
【課題】捩じり易く、皺が生じないうえ、状況に応じて締付量を容易に調整することができ、むくみ等の改善の効果も確認できる着圧調整被服を提供する。
【解決手段】弾性糸を挿入した挿入編で編成された筒状部10を有し、筒状部10を周方向に捩じることで着圧を調整できるようにした着圧調整被服1において、筒状部10は、コース方向に一定の間隔毎に表糸の編目が無い部分を、ウェール方向に直線状に設ける。筒状部10の履き口部11の長さは、履き口部11の半周長の1/5~1/2である。履き口部11は、外側部と内側部とからなり、内側部は外側部よりも皮膚に対する摩擦性が高い。履き口部11は、履き口部11以外の筒状部10よりも厚みが大きい。筒状部10に、周方向に沿って着圧調整マークが設けられている。また、筒状部10に、一端(履き口)側と他端(踵)側の間に着圧確認ラインが設けられている。
【選択図】図11
特許請求の範囲
【請求項1】
弾性糸を挿入した挿入編で編成された筒状部を有し、前記筒状部を周方向に捩じることで着圧を調整できるようにした着圧調整被服において、
前記筒状部は、コース方向に一定の間隔毎に表糸の編目が無い部分を、ウェール方向に直線状に設けたことを特徴とする着圧調整被服。
続きを表示(約 520 文字)
【請求項2】
前記筒状部の履き口部の長さは、前記履き口部の半周長の1/5~1/2であることを特徴とする請求項1に記載の着圧調整被服。
【請求項3】
前記履き口部は、外側部と、前記外側部の上端から折り返した内側部とからなり、前記内側部は、前記外側部よりも皮膚に対する摩擦性が高いことを特徴とする請求項2に記載の着圧調整被服。
【請求項4】
前記履き口部は、前記履き口部以外の前記筒状部よりも厚みが大きいことを特徴とする請求項2に記載の着圧調整被服。
【請求項5】
前記筒状部に、周方向に沿って着圧調整マークが設けられていることを特徴とする請求項1に記載の着圧調整被服。
【請求項6】
前記筒状部に、一端側と他端側の間に着圧確認ラインが設けられていることを特徴とする請求項1に記載の着圧調整被服
【請求項7】
前記筒状部に、被服を捩じる方向を示す方向マークが設けられていることを特徴とする請求項1に記載の着圧調整被服。
【請求項8】
前記筒状部に、被服の左右を示す左右識別マークとが設けられていることを特徴とする請求項1に記載の着圧調整被服。
発明の詳細な説明
【技術分野】
【0001】
本発明は、着圧が調整可能な靴下、ストッキング、大腿や下腿、上腕等に装着するサポータ等の着圧調整被服に関する。
続きを表示(約 1,600 文字)
【背景技術】
【0002】
従来、一般医療機器として、むくみ防止、血流改善、血行促進等のために、足首部から脹脛部にかけて、強圧、中圧、弱圧と段階的に着圧を変化させた着圧ソックスが実用化されている。このような着圧ソックスは、足首部を脹脛部より収縮性の大きい素材で編成するか、足首部の度目の大きさと弾性糸の挿入量をともに小さく、脹脛部の度目の大きさと弾性糸の挿入量をともに大きくすることで、着圧を変化させている。例えば、足首部は21~32hPa、脹脛最大周囲長部は17~23Paに設定される。
【0003】
下腿の太さや形状が人によって異なるため、従来の着圧ソックスは、各自の下腿の太さや形状に応じて個別に作成したり、相当数のタイプの品揃えが必要であったり、下腿の太さや形状の測定が難しいうえ、サイズの選択が難しいという問題があった。
【0004】
着圧ソックスは、朝夕の下腿のむくみの差を解消したり、運動時の不要な動きを抑制し、静脈還流を促進する等の様々な用途があり、運動時、運動後、安静時、活動時等の使用時期も異なる。また、高齢者や、障害のある人、症状のある人には、履き易いうえ、十分な着圧機能が発揮される必要がある。このように、様々な状況に応じて使い分けができる着圧ソックスが要望されている。
【0005】
着圧ソックスは、下部ほど強くしたり、ヒラメ筋付近を強くする等、機能コンセプト毎に商品を買い揃えるのではなく、その時々に必要な機能に合わせて着圧を設定して、個々の人の脚の太さや形に合わせたり、日々の体調や朝夕のむくみの差、改善の具合によって調整できる着圧ソックスも要望されている。
【0006】
特許文献1には、一端が一方の開口側、他端が他方の開口側に位置する長尺状の弾性生地部と、中間生地部とが円周方向に交互に配置され、一方の開口側を他方の開口側に対して捻転させることにより、締付力を加減可能としたサポータ及びこれを備えた靴下が記載されている。このサポータ及び靴下では、一方の開口側を他方の開口側に対して捻転して脹ら脛等に取り付けると、サポータが径方向に縮んで脹ら脛等を締め付け、絞るのでむくみを効果的にとることができる。また、着用する際に、捻転量を変えれば、径方向に縮む量も変わるので、脹ら脛等の着用先の太さに合わせて適度な締付力で着用することができるとされている。
【0007】
しかし特許文献1のサポータでは、弾性生地部がスパイラル状に配置され、捻転したときに生地に歪みが生じるので皺が発生したり、外観が悪化し、皺に沿って皮膚が部分的に圧迫されるうえ、捩じるときの持ち手が少ないため、捩じりにくいという不具合があった。また、着用する毎に締め具合いが変わり、状況に応じて調整することは困難であった。さらに、締め過ぎたり、むくみ等の改善の効果が分かりにくい等の問題があった。
【先行技術文献】
【特許文献】
【0008】
実用新案登録第3091572号明細書
【発明の概要】
【発明が解決しようとする課題】
【0009】
本発明は前記従来の問題の問題点に鑑みてなされたもので、捩じり易く、捩じったときに皺が生じないうえ、状況に応じて締付量を容易に調整することができ、むくみ等の改善の効果も確認できる着圧調整被服を提供することを課題とする。
【課題を解決するための手段】
【0010】
前記課題を解決するための手段は、
弾性糸を挿入した挿入編で編成された筒状部を有し、前記筒状部を周方向に捩じることで着圧を調整できるようにした着圧調整被服において、
前記筒状部は、コース方向に一定の間隔毎に表糸の編目が無い部分を、ウェール方向に直線状に設けたことを特徴としている。
(【0011】以降は省略されています)
この特許をJ-PlatPat(特許庁公式サイト)で参照する
関連特許
コーマ株式会社
着圧調整被服
1か月前
個人
和服
6か月前
個人
衿芯
4か月前
個人
中間着
21日前
個人
シャツ
2か月前
個人
ネクタイ
2か月前
個人
二部式袍
10か月前
個人
衣装
7か月前
個人
下着
5か月前
個人
靴下
11か月前
個人
防虫服
21日前
個人
マスク
2か月前
個人
多機能装身具
3か月前
個人
簡単帯
11か月前
個人
作業補助ミトン
9か月前
東レ株式会社
防護服
1か月前
個人
肩章付き衣服。
5か月前
個人
シャツ改造方法
7か月前
個人
健康靴下
12か月前
個人
:マスクカバー
3か月前
個人
手首穴付き手袋
12か月前
個人
ショーツ
11か月前
株式会社聖
手足保護具
1か月前
個人
手袋
8か月前
個人
内フィルムマスク
1か月前
個人
車椅子用グローブ
3か月前
株式会社聖
手足保護具
10か月前
個人
ソフトキャミブラ
7か月前
有限会社原電業
指手袋
12か月前
東洋紡株式会社
マスク
1か月前
個人
足首用サポーター
9か月前
個人
レインコート
6か月前
グンゼ株式会社
衣服
7か月前
個人
被介護者用上衣
4か月前
興和株式会社
マスク
9か月前
株式会社マルイチ
二部式帯
1か月前
続きを見る
他の特許を見る