TOP
|
特許
|
意匠
|
商標
特許ウォッチ
Twitter
他の特許を見る
公開番号
2025170495
公報種別
公開特許公報(A)
公開日
2025-11-19
出願番号
2024075103
出願日
2024-05-07
発明の名称
触感付与装置
出願人
株式会社テージーケー
代理人
弁理士法人インターブレイン
主分類
G06F
3/041 20060101AFI20251112BHJP(計算;計数)
要約
【課題】防水機能を有する製品において疑似的な触感を付与する。
【解決手段】触感付与装置は、タッチパネルと、タッチパネルにおけるタッチ面に対するタッチ操作を検出するタッチ検出部と、タッチ面を上としたとき、タッチパネルの下部に設置される振動子と、防水性のシートと、を備える。振動子は、タッチ検出部によりタッチ操作が検出されたとき、一軸上を往復運動することによりタッチパネルを振動させる。シートは、振動子の上部に設置されることにより、振動子を含む空間を防水する。
【選択図】図1
特許請求の範囲
【請求項1】
タッチパネルと、
前記タッチパネルにおけるタッチ面に対するタッチ操作を検出するタッチ検出部と、
前記タッチ面を上としたとき、前記タッチパネルの下部に設置される振動子と、
防水性のシートと、を備え、
前記振動子は、前記タッチ検出部により前記タッチ操作が検出されたとき、一軸上を往復運動することにより前記タッチパネルを振動させ、
前記シートは、前記振動子の上部に設置されることにより、前記振動子を含む空間を防水する、触感付与装置。
続きを表示(約 780 文字)
【請求項2】
前記タッチパネルおよび情報表示パネルを含む表示装置と、を更に備える、請求項1に記載の触感付与装置。
【請求項3】
線状あるいは帯状の形状記憶合金により構成される伸縮部材への通電を制御する通電制御部と、を更に備え、
前記振動子は、前記伸縮部材を含み、
前記通電制御部は、前記タッチ操作が前記タッチ検出部により検出されたとき、前記伸縮部材に流れる電流を変化させることで、前記伸縮部材の温度を変化させ、
前記伸縮部材は、前記温度変化によって伸縮し、
前記振動子は、一部が前記伸縮部材の伸縮に伴い駆動することにより、往復運動する、請求項2に記載の触感付与装置。
【請求項4】
前記振動子は、
長尺状の固定子と、
前記固定子の長手方向と直交する方向にて前記固定子と対向して配置され、その直交す
る方向を可動方向として移動可能な可動子と、を更に備え、
前記固定子と前記可動子には、前記長手方向に互い違いに複数の凸部が設けられ、
前記伸縮部材は、前記固定子の前記凸部と前記可動子の前記凸部に交互に掛けるように
張り渡されるアクチュエータである、請求項3に記載の触感付与装置。
【請求項5】
前記シートは、前記タッチパネルと前記振動子との間隙に設置される、請求項1から4のいずれかに記載の触感付与装置。
【請求項6】
前記タッチパネルにおける前記タッチ面はガラス製である、請求項5に記載の触感付与装置。
【請求項7】
前記情報表示パネルは、前記タッチパネルの下部に設置され、
前記振動子は、前記情報表示パネルではなく、前記タッチパネルに接触する位置に設置される、請求項2に記載の触感付与装置。
発明の詳細な説明
【技術分野】
【0001】
本発明は、ユーザに触感を付与するための技術に関する。
続きを表示(約 1,600 文字)
【背景技術】
【0002】
ハプティクス(Haptics)とは、物体を振動させることにより、物体に触れたユーザに対して疑似的な触感を付与する技術である。ハプティクスの実現方法の一つとして、形状記憶合金(SMA:Shape Memory Alloy)を用いたアクチュエータ(以下、単に「アクチュエータ」とよぶ)により物体を振動させる方法がある。より具体的には、アクチュエータは形状記憶合金製の伸縮部材を備える。伸縮部材は温度変化に伴い伸縮する性質をもつ。この性質を利用することにより、アクチュエータを装着した物体を振動させる。
【先行技術文献】
【特許文献】
【0003】
特開2020-172863号公報
【発明の概要】
【発明が解決しようとする課題】
【0004】
ハプティクスを実現するため、アクチュエータは、たとえばパネル等の平板に装着される。位置を固定されず自由駆動可能なパネルにアクチュエータを装着した場面を想定する。アクチュエータが振動するとパネルに振動が直接伝達され、アクチュエータとともにパネルが駆動する。パネルに触れたユーザには、アクチュエータが作り出す振動によって疑似的な触感が付与される。
【0005】
しかし、たとえば防水機能を有する機械製品においては、内部機構への水の侵入を防ぐ必要がある。こうした製品に搭載されるパネルは筐体に対して全面接着あるいはオーリングパッキンによって固定される。すなわちパネルは自由駆動できない状態となる。このような場合、アクチュエータの振動をパネルに反映できず、ユーザに疑似的な触感を付与することが困難となる。
【0006】
本発明はこのような事情に鑑みてなされたものであり、その目的の一つは、防水機能を有する製品において疑似的な触感を付与するための技術を提供することにある。
【課題を解決するための手段】
【0007】
本発明のある態様における触感付与装置は、タッチパネルと、タッチパネルにおけるタッチ面に対するタッチ操作を検出するタッチ検出部と、タッチ面を上としたとき、タッチパネルの下部に設置される振動子と、防水性のシートと、を備える。振動子は、タッチ検出部によりタッチ操作が検出されたとき、一軸上を往復運動することによりタッチパネルを振動させる。シートは、振動子の上部に設置されることにより、振動子を含む空間を防水する。
【発明の効果】
【0008】
本発明によれば、防水機能を有する製品において疑似的な触感を付与しやすくする。
【図面の簡単な説明】
【0009】
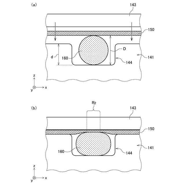
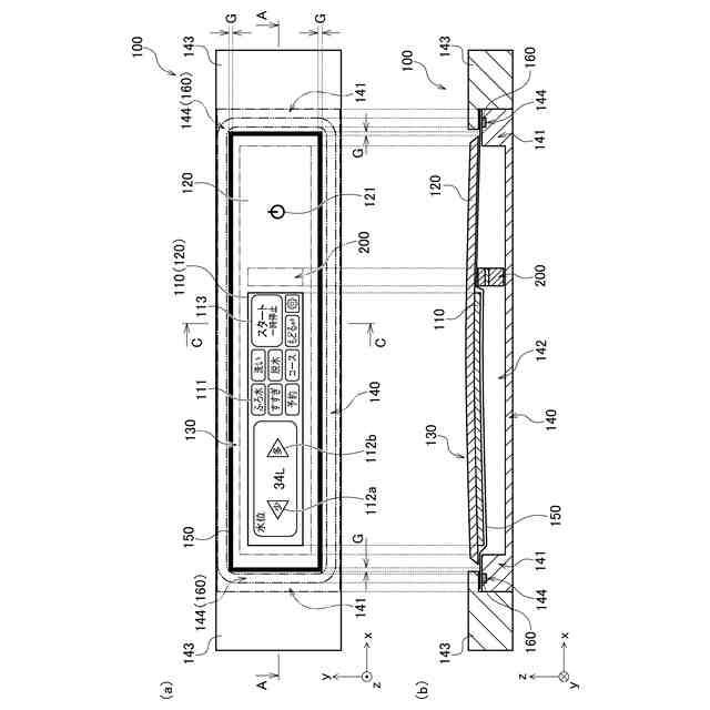
図1(a)は、操作盤の平面図である。図1(b)は、図1(a)のA-A断面図である。
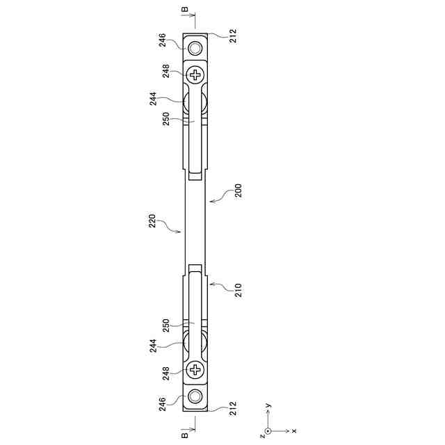
アクチュエータの平面図である。
図2のB-B断面図である。
操作盤の機能ブロック図である。
ユーザがタッチパネルにタッチしたときのアクチュエータを示す模式図である。
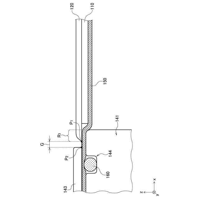
表示装置支持部の周辺部の拡大図である。
図7(a)は、操作盤カバーが表示装置支持部に固定される前のオーリングパッキンの拡大図である。図7(b)は、操作盤カバーが表示装置支持部に固定された後のオーリングパッキンの拡大図である。
【発明を実施するための形態】
【0010】
以下、図面を参照しつつ本発明の内容について説明する。本実施形態においては触感付与装置の具体例として、洗濯機の上面に装着される、防水機能を備えた操作盤について説明する。はじめに操作盤の概要について説明する。つぎに操作盤に搭載されるアクチュエータの構成について説明する。続いて操作盤の機能的構成について説明する。さらに操作盤によるハプティクスの実現方法の詳細について説明する。おわりに操作盤における防水の実現方法の詳細について説明する。
(【0011】以降は省略されています)
この特許をJ-PlatPat(特許庁公式サイト)で参照する
関連特許
株式会社テージーケー
触感付与装置
4日前
株式会社テージーケー
車両用冷凍サイクルに用いられるデバイスおよび配管構造
16日前
個人
詐欺保険
1か月前
個人
縁伊達ポイン
1か月前
個人
RFタグシート
27日前
個人
5掛けポイント
16日前
個人
職業自動販売機
9日前
個人
ペルソナ認証方式
24日前
個人
地球保全システム
1か月前
個人
QRコードの彩色
1か月前
個人
情報処理装置
19日前
個人
自動調理装置
26日前
個人
表変換編集支援システム
2か月前
個人
農作物用途分配システム
1か月前
個人
残土処理システム
1か月前
個人
サービス情報提供システム
11日前
個人
タッチパネル操作指代替具
1か月前
個人
インターネットの利用構造
23日前
個人
知的財産出願支援システム
1か月前
個人
行動時間管理システム
2か月前
個人
携帯端末障害問合せシステム
1か月前
個人
パスワード管理支援システム
2か月前
個人
スケジュール調整プログラム
1か月前
株式会社キーエンス
受発注システム
1か月前
個人
海外支援型農作物活用システム
2か月前
株式会社キーエンス
受発注システム
1か月前
個人
AIキャラクター制御システム
2か月前
株式会社キーエンス
受発注システム
1か月前
個人
食品レシピ生成システム
1か月前
個人
エリアガイドナビAIシステム
24日前
個人
システム及びプログラム
2か月前
個人
SaaS型勤務調整支援システム
2か月前
株式会社ワコム
電子ペン
18日前
キヤノン株式会社
情報処理装置
17日前
キヤノン株式会社
画像認識装置
3日前
個人
音声・通知・再配達UX制御構造
1か月前
続きを見る
他の特許を見る