TOP
|
特許
|
意匠
|
商標
特許ウォッチ
Twitter
他の特許を見る
公開番号
2025170181
公報種別
公開特許公報(A)
公開日
2025-11-17
出願番号
2024075013
出願日
2024-05-05
発明の名称
無水湯煎器及び当該機器を備えた食品用縦型ミキサー
出願人
株式会社愛工舎製作所
代理人
個人
主分類
A47J
27/14 20060101AFI20251110BHJP(家具;家庭用品または家庭用設備;コーヒーひき;香辛料ひき;真空掃除機一般)
要約
【課題】湯水などを使用せず微温によるデリケートな加熱・保温を行うことができる無水湯煎器を提供する。
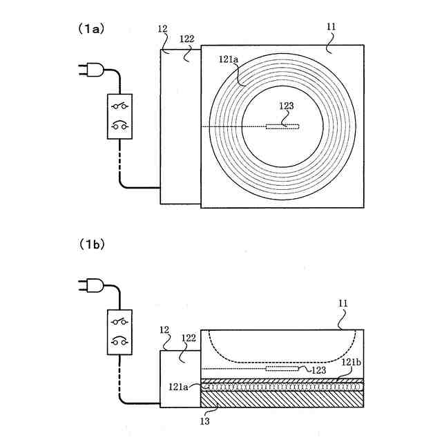
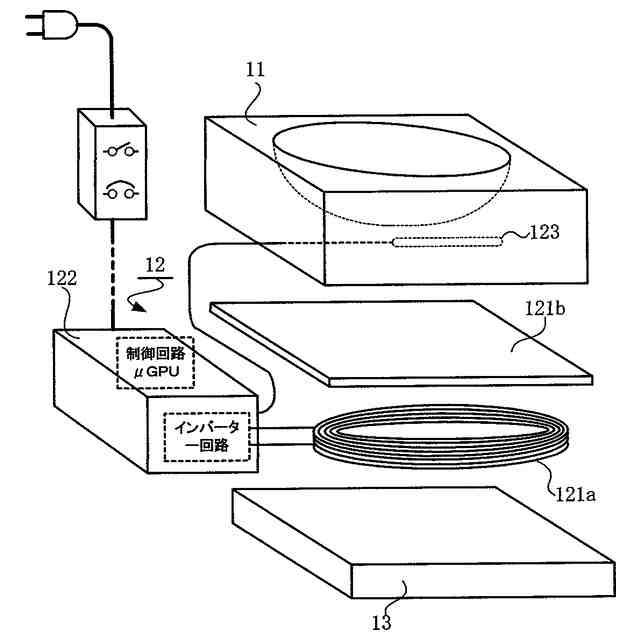
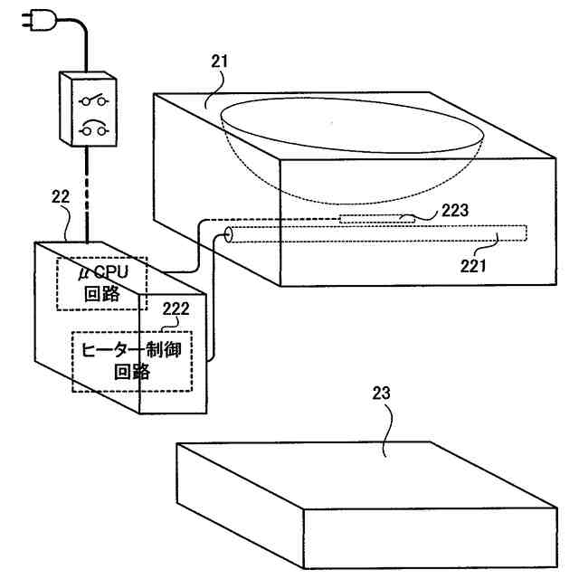
【解決手段】熱伝導機能及び蓄熱機能を兼ね備えた金属ブロック11と、ブロックに所定の熱量を供給する発熱手段12とを含み、ブロックはその水平上面に凹曲面状凹部を有し、発熱手段は電気発熱体、温度制御ユニット122、及び温度検知センサー123を含み、電気発熱体はブロックの内部又は底面に埋設若しくは装着され、温度センサーはブロック内の略中央部に埋設され、温度制御ユニットはブロックの外部側面に装着されており、温度制御ユニットは温度検知センサーからの温度検知信号に基づいて電気発熱体から金属ブロックに供給される熱量を制御して該ブロックを微温加熱・保温する。
【選択図】図2
特許請求の範囲
【請求項1】
熱伝導機能及び蓄熱機能を兼ね備えた金属ブロックと、該ブロックに当接され該ブロックに所定の熱量を供給する発熱手段とを含む無水湯煎器であって、
前記金属ブロックは、その水平上面に凹曲面状凹部を有し、
前記発熱手段は、温度制御ユニットと、同ユニットに接続された電気発熱体及び温度検知センサーを含み、
前記電気発熱体は前記金属ブロックの内部又は底面に埋設若しくは装着され、前記温度検知センサーは前記金属ブロック内の略中央部に埋設され、前記温度制御ユニットは前記金属ブロックの外部側面に装着されており、
前記温度制御ユニットは、前記温度検知センサーから通知される温度検知信号に基づき前記電気発熱体を制御し、該電気発熱体より前記金属ブロックに供給される熱量を調整して前記金属ブロックを微温加熱・保温することを特徴とした無水湯煎機器。
続きを表示(約 340 文字)
【請求項2】
前記金属ブロックは、単一のアルミ鋼材を削り出して成形することを特徴とした請求項1に記載の無水湯煎器。
【請求項3】
前記電気発熱体は、電熱線ヒーター又は、電磁誘導コイルと磁性体板との組み合わせであることを特徴とした請求項1に記載の無水湯煎器。
【請求項4】
前記金属ブロック水平上面の凹曲面部の内側には、該凹曲面内側から着脱自在であり所定の厚みを有して耐熱性及び熱伝導性を具備し、かつ柔軟・伸縮性を備えた樹脂製の内張り(ライナー)が粘・圧着されることを特徴とした請求項1に記載の無水湯煎器。
【請求項5】
請求項1乃至4の少なくとも何れか一つに記載された無水湯煎器を備えたことを特徴とする食品用縦型ミキサー。
発明の詳細な説明
【技術分野】
【0001】
本発明は、主に食材用の大型ミキサーによって食材の、撹拌/混錬、或は泡立てなどを行う際に、被撹拌食材について適度な微温により加熱並びに保温を行う無水湯煎器、及び当該機器を備えた食品用の縦型ミキサーに関するものである。
続きを表示(約 1,700 文字)
【背景技術】
【0002】
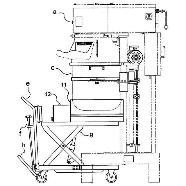
食品製造業界や製菓業界においては、クリームやケーキ生地などの食品、或は卵白や卵黄など卵製品等の比較的に食感がデリケートな食材の撹拌/混錬、或は泡立てを行う事が多い。このような作業には、例えば、添付図面9に示すような大型の業務用縦型ミキサーが一般に用いられる。
【0003】
すなわち、これらの食材を図中のボウル(食材容器)cに入れて縦型ミキサーaの固定アームdにセットし、続いてボウルcの中に所定の攪拌子bを没入させて、食材の撹拌/混錬/泡立てなどの作業を行うのである。ちなみに、当該ミキサーが「縦型」と称される所以は、撹拌子を含む撹拌機構と食材を入れたボウルcが鉛直方向、つまり縦方向に配置されるためと言われている。
【0004】
前述のように、これらの被攪拌食材はその食感がデリケートであるため、上記所定の作業を行うにあたって、作業中の被攪拌食材の温度管理が極めて重要となる。例えば、卵製品の場合、人肌(摂氏38度程度)程度の微温に暖めながら泡立てを行うと極めて効率よく、かつ高品質な食感を保ちながら、その泡立てを行うことができるとされている。そして、この様な微温による加熱・保温を実現し維持するため、被攪拌食材の収納ボウルに対して、いわゆる湯煎による微温加熱・保温処理が加えられることが多い。
【0005】
すなわち、係る作業において図9に示すボウルcよりも一回り大きなボウルや桶など(図示せず)を別途用意し、そこに所定温度の温水や湯を張り、係る桶などにボウルcの外側を浸けるのである。このような湯煎処理を加えることによって、被撹拌食材に対し微温によるデリケートな加熱が可能となり、かつ被撹拌食について繊細な保温状態を維持することができる。
【0006】
しかしながら、係る湯煎処理においてはボウルcの外側を湯や温水に直接浸すため、ボウルを湯煎から引き揚げる際にボウルの外面から床に湯が滴り落ち、或は湯煎に用いる湯量などを間違えて湯が溢れるなど、ミキサー周囲の床面を水で汚すこともしばしば発生することになる。特に昨今は、感染症予防の観点からも食品製造現場のクリーン化が叫ばれており、食品製造現場の環境改善が強く求められる事となった。そして、このような問題点を解消すべく、例えば、特許文献1や特許文献2に示されるような従来技術が開示されている。
【0007】
特開2000-245632号公報
特開2015-013093号公報
【発明の概要】
【発明が解決しようとする課題】
【0008】
ちなみに、特許文献1に示された従来技術は、食材収容ボウル底面の外周面全体に多数の強磁性体の小板を分散配置し、電磁誘導コイルにより各々の強磁性体板を電磁誘導加熱してボウル内に収納された食材を加熱・保温するものである。しかしながら、食材収容ボウルにおいて電磁誘導版が当接された部位と、その他の部位で熱量分布にムラが生じやすく、極端な場合、電磁誘導版が当接された部位に相当するボウルの内側において、過剰加熱により被攪拌食材がボウルの内側に焦げ付いてしまうような事態が散見される。
【0009】
また、特許文献2に示された従来技術では、食材収容ボウル底面の下に電磁誘導や電熱線ヒーターなどの電気加熱手段を配置して、直接にボウル全体を加熱する方式である。係る方式は構造が簡単であり、かつ容易に実現することが可能であるが、ややもすると加熱量が過大或は過小となってしまい、前述の湯煎を用いるようなデリケートな微温による加熱・保温処理を実現することが難しかった。
【0010】
本願発明は、このような課題を解決するために為されたものであり、湯水などの液体を使用せずに従来の湯煎処理と同様の、被攪拌食材を収納したボウルに対して、微温によるデリケートな加熱・保温を行うことができる無水湯煎器を提供することを目的とする。
【課題を解決するための手段】
(【0011】以降は省略されています)
特許ウォッチbot のツイートを見る
この特許をJ-PlatPat(特許庁公式サイト)で参照する
関連特許
株式会社愛工舎製作所
無水湯煎器及び当該機器を備えた食品用縦型ミキサー
1日前
個人
箸
1か月前
個人
椅子
2か月前
個人
家具
4か月前
個人
掃除機
8か月前
個人
自助箸
7か月前
個人
枕
8か月前
個人
掃除用具
3か月前
個人
ソファー
2か月前
個人
枕
5か月前
個人
屋外用箒
7か月前
個人
多用途紐
1か月前
個人
体洗い具
10か月前
個人
耳拭き棒
11か月前
個人
ハンガー
7か月前
個人
掃除道具
8か月前
個人
物品
3か月前
個人
片手代替具
11か月前
個人
掃除シート
9か月前
個人
開閉トング
6か月前
個人
組立式棚板
7か月前
個人
省煙消臭器
8か月前
個人
エコ掃除機
12か月前
個人
バターナイフ
1か月前
個人
洗面台
10か月前
個人
転倒防止装置
5か月前
個人
ゴミ袋保持枠
7か月前
個人
受け皿
5か月前
個人
紙コップ 蓋
2か月前
個人
シャワー装置
6か月前
個人
経典表示装置
4か月前
個人
靴ベラ
2か月前
個人
中身のない枕
7か月前
個人
首支持具
3か月前
個人
コーナーシール
9か月前
個人
矯正用枕
4か月前
続きを見る
他の特許を見る