TOP
|
特許
|
意匠
|
商標
特許ウォッチ
Twitter
他の特許を見る
10個以上の画像は省略されています。
公開番号
2025169925
公報種別
公開特許公報(A)
公開日
2025-11-14
出願番号
2025076089
出願日
2025-05-01
発明の名称
シート組立体およびその組立方法
出願人
リア・コーポレーション
,
Lear Corporation
代理人
個人
,
個人
,
個人
,
個人
,
個人
,
個人
主分類
A47C
27/12 20060101AFI20251107BHJP(家具;家庭用品または家庭用設備;コーヒーひき;香辛料ひき;真空掃除機一般)
要約
【課題】シート組立体とシート組立体を組み立てる方法を提供することにある。
【解決手段】
シートアセンブリおよび組立方法であって、シートアセンブリは、フレーム、クッション、および締結装置を備え、クッションはフレーム上に配置され、ポリマー材料のフィラメントのセットを含むメッシュ部材を備え、締結装置は、フレーム内の開口を通って延在し、クッションをフレームに固定する。
【選択図】図1
特許請求の範囲
【請求項1】
開口を備えるフレームと、
ポリマー材料の一式のフィラメントを有するメッシュ部材を備えるクッションであって、前記一式のフィラメントの少なくとも2つの部材はループ状で互いに結合しており、前記クッションは前記フレーム上に配置されるクッションと、
前記クッションを前記フレームに固定する締結装置であって、前記フレームの中の前記開口を貫通するように延在する締結装置と、を備えるシート組立体。
続きを表示(約 800 文字)
【請求項2】
前記クッションの上に配置されたトリムカバーをさらに備え、前記締結装置は前記トリムカバーを支持し、前記トリムカバーから分離される請求項1に記載のシート組立体。
【請求項3】
前記締結装置が前記クッションの穴を通って延在する請求項1に記載のシート組立体。
【請求項4】
前記クッションの前記穴は、前記フレームに対向する前記クッションの第1の側から前記第1の側と反対に配置された前記クッションの第2の側まで延在する貫通穴である請求項3に記載のシート組立体。
【請求項5】
前記クッションの前記穴は、前記クッションの第2の側から延在する窪みと、前記窪みから前記クッションの第1の側まで延在する連結部と、をさらに備え、
前記窪みは、前記連結部から延在する窪み底部と、前記窪み底部から前記第2の側に向かって延在する窪み周部とによって少なくとも部分的に画定される請求項4に記載のシート組立体。
【請求項6】
記締結装置は、前記窪みに配置されたアンカーを備える請求項5に記載のシート組立体。
【請求項7】
前記締結装置は、前記アンカーから前記クッションの前記穴の前記連結部に延在する接続部材を備える請求項6に記載のシート組立体。
【請求項8】
前記締結装置は、前記フレームと係合して前記締結装置を前記フレームに固定する取付部を備える請求項7に記載のシート組立体。
【請求項9】
前記取付部と前記接続部材は前記フレームの反対側に配置される請求項8に記載のシート組立体。
【請求項10】
前記取付部は、前記フレームの前記開口を通って延在し、前記接続部材の周りに少なくとも部分的に延在する請求項8に記載のシート組立体。
(【請求項11】以降は省略されています)
発明の詳細な説明
【技術分野】
【0001】
本発明は、シート組立体およびシート組立体の組立方法に関する。
続きを表示(約 2,300 文字)
【発明の概要】
【発明が解決しようとする課題】
【0002】
シート組立体とシート組立体を組み立てる方法を提供することにある。
【課題を解決するための手段】
【0003】
開口を備えるフレームと、ポリマー材料の一式のフィラメントを有するメッシュ部材を備えるクッションであって、前記一式のフィラメントの少なくとも2つの部材はループ状で互いに結合しており、前記クッションは前記フレーム上に配置されるクッションと、前記クッションを前記フレームに固定する締結装置であって、前記フレームの中の前記開口を貫通するように延在する締結装置と、を備えるシート組立体により解決する。
【0004】
クッションをフレームの上に位置決めする位置決め工程であって、前記クッションはポリマー材料の一式のフィラメントを有するメッシュ部材を備え、前記一式のフィラメントの少なくとも2つの部材はループ状で互いに結合していて、前記フレームは開口を備える位置決め工程と、締結装置で前記クッションを前記フレームに固定する固定工程であって、前記締結装置は前記フレーム内の前記開口を貫通して延在する固定工程と、を備えるシート組立体を組み立てる組立方法により解決する。
【図面の簡単な説明】
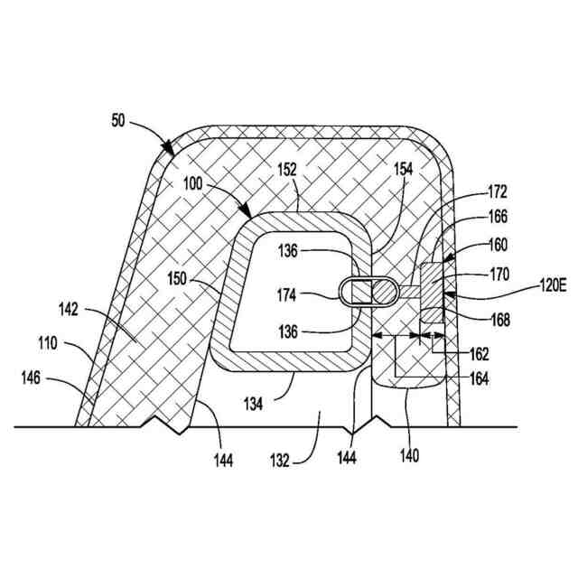
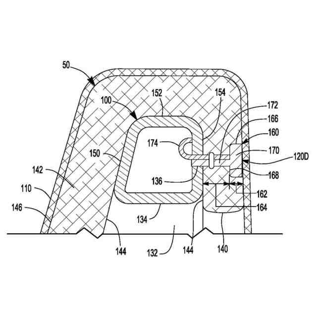
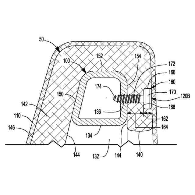
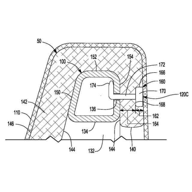
【0005】
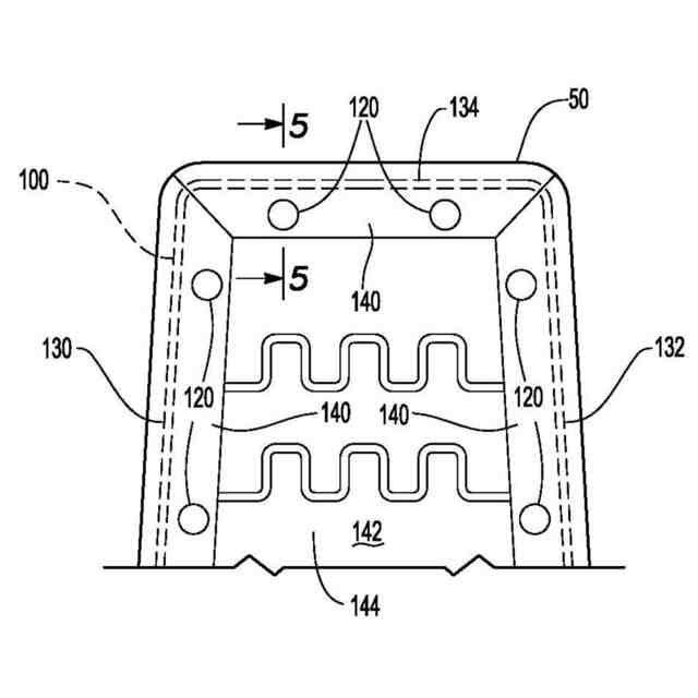
フィラメントメッシュ構造を含むシート組立体の一例の斜視図である。
フィラメントメッシュ構造を含むシート組立体の一例の斜視図である。
フィラメントメッシュ構造の一例の拡大図である。
明確にするためにトリムカバーを省略したシート組立体の一部の側面図である。
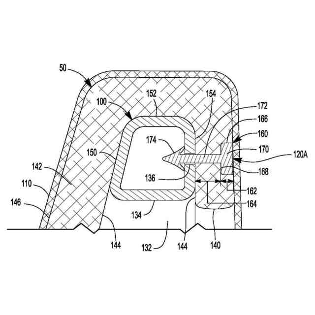
トリムカバーおよび締結装置の第1の例を含む、セクションライン5-5に沿ったシート組立体の断面図である。
シート組立体の断面図および締結装置の第2の例である。
シート組立体の断面図および締結装置の第3の例である。
シート組立体の断面図および締結装置の第4の例である。
シート組立体の断面図および締結装置の第5の例である。
シート組立体の断面図および締結装置の第6の例である。
シート組立体の断面図および締結装置の第6の例である。
シート組立体の断面図および締結装置の第6の例である。
シート組立体の断面図および締結装置の第6の例である。
【発明を実施するための形態】
【0006】
実施形態を詳細に参照し、その実施形態の例を添付図面に示す。以下の詳細な説明では、記載された様々な実施形態を完全に理解するために、多数の特定の詳細が記載されている。しかし、記載された様々な実施形態は、これらの特定の詳細なしに実施することができることは、当業者には明らかであろう。他の例では、周知の方法、手順、構成要素、回路、およびネットワークは、実施形態の態様を不必要に不明瞭にしないように、詳細には記載されていない。
【0007】
開示された実施形態は単なる例示であり、様々な代替形態が可能であることを理解されたい。図は必ずしも縮尺通りではない。特定の構成要素の詳細を示すために、一部の特徴が誇張または最小化されてもよい。したがって、本明細書に開示された特定の構造的および機能的詳細は、限定するものとして解釈されるべきではなく、開示に従って実施形態を様々に使用することを当業者に教えるための代表的な基礎としてのみ解釈されるべきである。
【0008】
「1つ以上」は、1つの要素によって実行される機能、複数の要素によって実行される機能、例えば、分散された様式で、1つの要素によって実行されるいくつかの機能、複数の要素によって実行されるいくつかの機能、または上記の任意の組み合わせを含む。
【0009】
第1、第2などの用語は、いくつかの例では、様々な要素を説明するために本明細書で使用されるが、これらの要素はこれらの用語によって限定されるべきではないことも理解されよう。これらの用語は、1つの要素を別の要素から区別するためにのみ使用される。例えば、記載された様々な実施形態の範囲から逸脱することなく、第1の接点を第2の接点と呼ぶことができ、同様に、第2の接点を第1の接点と呼ぶことができる。第1の接点および第2の接点は両方とも接点であるが、それらは同じ接点ではない。
【0010】
本明細書に記載された様々な実施形態の説明において使用される用語は、特定の実施形態のみを説明することを目的としており、限定することを意図していない。本明細書に記載された様々な実施形態および添付の請求項の説明において使用されるように、単数形としての不定冠詞および定冠詞およびは、文脈が明確に示さない限り、複数形も含むことを意図している。また、本明細書において使用される用語「および/または」は、関連するリストされた項目の1つ以上の任意およびすべての可能な組み合わせを指し、包含することも理解されよう。本明細書において使用される場合、用語「含む」、「含む」、「含む」、および/または「含む」は、記載された特徴、整数、ステップ、操作、要素、および/または構成要素の存在を特定するが、1つ以上の他の特徴、整数、ステップ、操作、要素、構成要素、および/またはそれらのグループの存在または追加を排除しないことがさらに理解されよう。
(【0011】以降は省略されています)
この特許をJ-PlatPat(特許庁公式サイト)で参照する
関連特許
個人
箸
1か月前
個人
椅子
2か月前
個人
家具
4か月前
個人
掃除機
8か月前
個人
自助箸
7か月前
個人
枕
8か月前
個人
掃除用具
3か月前
個人
ソファー
2か月前
個人
枕
5か月前
個人
屋外用箒
7か月前
個人
多用途紐
1か月前
個人
体洗い具
10か月前
個人
耳拭き棒
11か月前
個人
ハンガー
7か月前
個人
掃除道具
8か月前
個人
物品
3か月前
個人
片手代替具
11か月前
個人
掃除シート
9か月前
個人
開閉トング
6か月前
個人
組立式棚板
7か月前
個人
省煙消臭器
8か月前
個人
エコ掃除機
12か月前
個人
バターナイフ
1か月前
個人
洗面台
10か月前
個人
転倒防止装置
5か月前
個人
ゴミ袋保持枠
7か月前
個人
受け皿
5か月前
個人
紙コップ 蓋
2か月前
個人
シャワー装置
6か月前
個人
経典表示装置
4か月前
個人
靴ベラ
2か月前
個人
中身のない枕
7か月前
個人
首支持具
3か月前
個人
コーナーシール
9か月前
個人
矯正用枕
4か月前
個人
補助寝具
8か月前
続きを見る
他の特許を見る