TOP
|
特許
|
意匠
|
商標
特許ウォッチ
Twitter
他の特許を見る
10個以上の画像は省略されています。
公開番号
2025169803
公報種別
公開特許公報(A)
公開日
2025-11-14
出願番号
2024074930
出願日
2024-05-02
発明の名称
座椅子
出願人
上海坤健家具有限公司
代理人
個人
,
個人
主分類
A47C
3/16 20060101AFI20251107BHJP(家具;家庭用品または家庭用設備;コーヒーひき;香辛料ひき;真空掃除機一般)
要約
【課題】使用者の腰部や尾骨を支える上で、使用者の負担軽減を図ることができる座椅子を提供する。
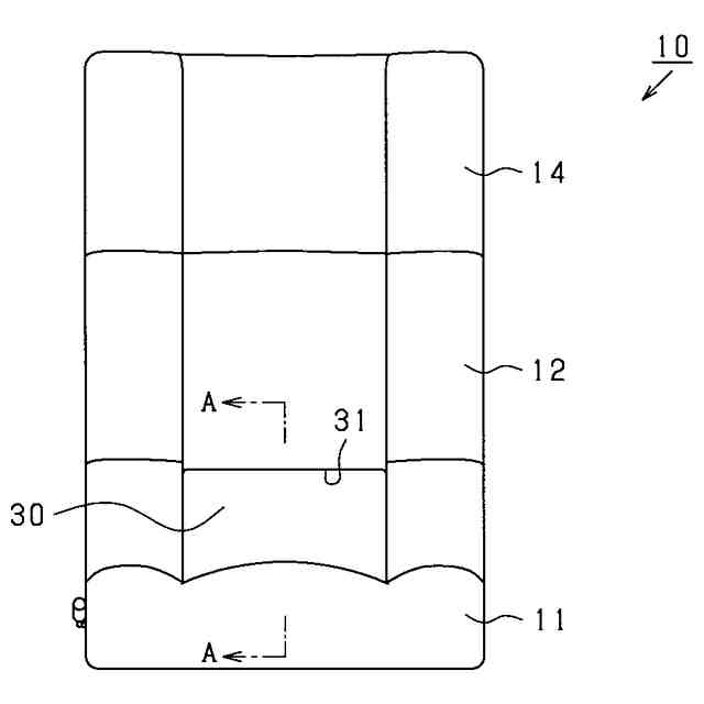
【解決手段】座椅子10は、使用者が着座する座部11と、使用者の背中を支える背もたれ部12とを備える。背もたれ部12の下部には開口部31が形成され、その開口部31には使用者の腰部を後方から受ける腰受け部30が設けられている。腰受け部30は、回動機構により、上部が前方に倒れるようにして回動可能とされている。腰受け部30は、回動可能な範囲のいずれの位置にある場合にも、前側の表面が側方から見て使用者側に凸となる曲面形状となるように形成されている。
【選択図】 図7
特許請求の範囲
【請求項1】
使用者が着座する座部と、
前記使用者の腰部を後方から受ける腰受け部と、を備える座椅子であって、
前記腰受け部の上部が前方に倒れるように前記腰受け部を回動可能とする回動機構を備え、
前記腰受け部は、前記回動可能な範囲のいずれの位置にある場合にも、前側の表面が側方から見て前記使用者側に凸となる曲面形状となるように形成されている、座椅子。
続きを表示(約 920 文字)
【請求項2】
前記回動機構は、
回動軸と、
前記回動軸よりも上方に延び、前記回動軸を中心として前方に回動可能な支持フレームとを有し、
前記腰受け部は、前記支持フレームと一体で設けられているとともに、板状のクッション部と、前記クッション部を内部に収容し前記腰受け部の表面を形成するカバー材とを有しており、
前記クッション部は、前記支持フレームを前方、上方及び後方から囲むように湾曲された状態で前記カバー材の内部に収容されている、請求項1に記載の座椅子。
【請求項3】
前記クッション部は、厚み方向に積層された複数のクッション材を有して形成され、
前記複数のクッション材のうち、外側のクッション材は内側のクッション材よりも前記囲む方向の長さが長くなっている、請求項2に記載の座椅子。
【請求項4】
前記支持フレームと前記クッション部との間に介在されたスペーサ部を備える、請求項2又は3に記載の座椅子。
【請求項5】
前記腰受け部の前記回動可能な範囲には、前記腰受け部の上部が最も前方に倒れる位置である最前位置が含まれており、
前記腰受け部が前記最前位置に位置する場合に、前記腰受け部の表面のうち最も前方に位置する箇所は、前記座部の座面からの高さ寸法が10~80mmの範囲内である、請求項1乃至3のいずれか一項に記載の座椅子。
【請求項6】
前記腰受け部の前記回動可能な範囲には、前記腰受け部の高さ位置が最も高い位置となる最高位置が含まれており、
前記腰受け部が前記最高位置に位置する場合に、前記腰受け部の表面のうち最も前方に位置する箇所は、前記座部の座面からの高さ寸法が90~150mmの範囲内である、請求項5に記載の座椅子。
【請求項7】
前記腰受け部が前記回動可能な範囲のいずれの位置にある場合にも、前記腰受け部の前側の表面のうち最も前方に位置する箇所から上下方向の距離が10mm以内の範囲においては前記曲面形状の曲率半径が50~300mmとされている、請求項1乃至3のいずれか一項に記載の座椅子。
発明の詳細な説明
【技術分野】
【0001】
本発明は、座椅子に関するものである。
続きを表示(約 1,300 文字)
【背景技術】
【0002】
従来より、和室等において座る際に座椅子が用いられることがある。座椅子は、使用者が着座する座部と、使用者の背中を支える背もたれ部とを備えている。
【0003】
特許文献1には、背もたれ部の下部に開口部が形成され、その開口部に使用者の腰部を支える補助クッションが設けられた座椅子が開示されている。この座椅子では、補助クッションが、その上部に設けられた軸部により回動可能に支持されている。この場合、補助クッションは、その下部が前方に持ち上がるようにして回動するようになっている。かかる構成によれば、補助クッションを回動させて、補助クッションを背もたれ部よりも前方に突出させることで、補助クッションにより使用者の腰部を後方から支えることが可能となる。
【0004】
ところで、上記特許文献1の座椅子において、補助クッションにより使用者の臀部にある尾骨を後方から支えることが考えられる。この場合、骨盤が立って姿勢よく座ることが可能となる。しかしながら、上記特許文献1の座椅子では、補助クッションが前方に回動するほど上方に変位するため、補助クッションにより尾骨を後方から支えるのが難しいと考えられる。
【0005】
そこで、そのような点に鑑み、特許文献2には、補助クッションを、その下部に設けた軸部により回動可能に支持したものが提案されている。この場合、補助クッションは、その上部が前方に倒れるようにして回動する。かかる構成では、補助クッションを前方に倒すことにより、補助クッションにより使用者の尾骨を後方から支えることが可能となる。
【先行技術文献】
【特許文献】
【0006】
特許第5753670号公報
実用新案登録第3205742号公報
【発明の概要】
【発明が解決しようとする課題】
【0007】
ところで、上述した特許文献2には、補助クッションの形状について何も開示がされていない。特許文献2において、補助クッションは、例えば所定の厚みを有する板状に形成されることが考えられる。
【0008】
しかしながら、補助クッションの形状が板状である場合、補助クッションの上部を前方に倒して、補助クッションにより尾骨を支える際に、補助クッションの角部が尾骨に当たるおそれがある。その場合、使用者は局所的な圧迫感や不快感等の負担を感じるおそれがある。
【0009】
また、補助クッションの形状が板状である場合、補助クッションにより腰部を支える際に、補助クッションの角部が腰部に当たるおそれもある。そのため、この場合にも、使用者は圧迫感や不快感等の負担を感じるおそれがある。
【0010】
本発明は、上記事情に鑑みてなされたものであり、使用者の腰部や尾骨を支える上で、使用者の負担軽減を図ることができる座椅子を提供することを主たる目的とする。
【課題を解決するための手段】
(【0011】以降は省略されています)
この特許をJ-PlatPat(特許庁公式サイト)で参照する
関連特許
上海坤健家具有限公司
座椅子
4日前
個人
箸
1か月前
個人
椅子
2か月前
個人
家具
4か月前
個人
掃除機
8か月前
個人
自助箸
7か月前
個人
枕
8か月前
個人
掃除用具
3か月前
個人
ソファー
2か月前
個人
枕
5か月前
個人
屋外用箒
7か月前
個人
多用途紐
1か月前
個人
体洗い具
10か月前
個人
耳拭き棒
11か月前
個人
ハンガー
7か月前
個人
掃除道具
8か月前
個人
物品
3か月前
個人
片手代替具
11か月前
個人
掃除シート
9か月前
個人
開閉トング
6か月前
個人
組立式棚板
7か月前
個人
省煙消臭器
8か月前
個人
エコ掃除機
12か月前
個人
バターナイフ
1か月前
個人
洗面台
10か月前
個人
転倒防止装置
5か月前
個人
ゴミ袋保持枠
7か月前
個人
受け皿
5か月前
個人
紙コップ 蓋
2か月前
個人
シャワー装置
6か月前
個人
経典表示装置
4か月前
個人
靴ベラ
2か月前
個人
中身のない枕
7か月前
個人
首支持具
3か月前
個人
コーナーシール
9か月前
個人
矯正用枕
4か月前
続きを見る
他の特許を見る