TOP
|
特許
|
意匠
|
商標
特許ウォッチ
Twitter
他の特許を見る
10個以上の画像は省略されています。
公開番号
2025169638
公報種別
公開特許公報(A)
公開日
2025-11-14
出願番号
2024074537
出願日
2024-05-01
発明の名称
壁掛家具の脱落防止構造
出願人
株式会社arne
代理人
弁理士法人フェニックス特許事務所
主分類
A47G
29/00 20060101AFI20251107BHJP(家具;家庭用品または家庭用設備;コーヒーひき;香辛料ひき;真空掃除機一般)
要約
【課題】 壁面のフックが目視可能で設置工程の施工性が向上し、かつ、ストッパーの着脱が容易であり、壁掛家具の浮き上がりを規制して脱落を確実に防止することができる壁掛家具の脱落防止構造を提供すること。
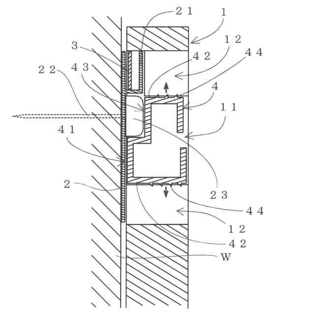
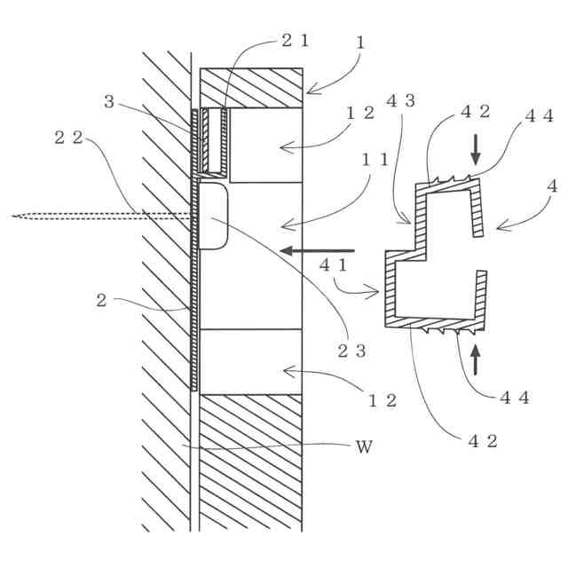
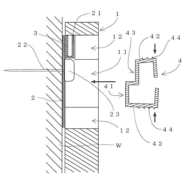
【解決手段】 壁面Wには、鉛直上方に爪部21が突成されたフック2を、固定具22によって固定する一方、壁掛家具の背板1における壁面対向側には掛止具3を配設して、この掛止具3と前記フック2の爪部21とを掛合可能にして、かつ、前記背板1における前記掛止具3の配設部位近傍には、貫通孔11を形成して、この貫通孔11の内部には、弾性変形可能なストッパー4を嵌着可能にして、前記掛止具3と前記フック2の爪部21との掛合状態において、前記ストッパー4の突出部41を、前記固定具22の頭部23と前記背板1の貫通孔11の下面との隙間に嵌挿する。
【選択図】 図8
特許請求の範囲
【請求項1】
壁面から側方に持ち出した状態で支持される壁掛家具において、
前記壁面には、鉛直上方に爪部が突成されたフックが、固定具によって固定されている一方、
前記壁掛家具の背板における壁面対向側には掛止具が配設され、この掛止具と前記フックの爪部とが掛合可能であって、
かつ、前記背板における前記掛止具の配設部位近傍には、貫通孔が形成されており、
この貫通孔の内部には、弾性変形可能なストッパーが嵌着可能であって、
前記掛止具と前記フックの爪部との掛合状態において、前記ストッパーの突出部が、前記固定具の頭部と前記背板の貫通孔の下面との隙間に嵌挿されることによって、前記壁掛家具の背板の浮き上がりを規制して脱落を防止できるように構成したことを特徴とする壁掛家具の脱落防止構造。
続きを表示(約 310 文字)
【請求項2】
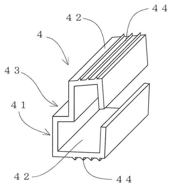
前記ストッパーが、テーパ状に拡開する一対の面部が連結部で連結された折曲板状に形成されており、前記背板の貫通孔の内部に付勢状態で嵌着可能であることを特徴とする請求項1記載の壁掛家具の脱落防止構造。
【請求項3】
前記ストッパーの面部の表面に防滑部が形成されており、この防滑部が前記貫通孔の内面に押圧されて、横ズレを防止可能であることを特徴とする請求項2記載の壁掛家具の脱落防止構造。
【請求項4】
前記背板の貫通孔の周縁に切欠部が形成されており、この切欠部に指先を入れて前記ストッパーを摘んで操作可能であることを特徴とする請求項1記載の壁掛家具の脱落防止構造。
発明の詳細な説明
【技術分野】
【0001】
本発明は、壁掛家具の支持構造の改良、更に詳しくは、壁面のフックが目視可能で設置工程の施工性が向上し、かつ、ストッパーの着脱が容易であり、壁掛家具の浮き上がりを規制して脱落を確実に防止することができる壁掛家具の脱落防止構造に関するものである。
続きを表示(約 1,400 文字)
【背景技術】
【0002】
周知のとおり、収納家具のデザインとして、床置き式だけではなく、壁面から側方に持ち出した状態で支持される壁掛式のもの(壁掛家具)がある。
【0003】
従来、壁掛家具を支持する構造として、壁面にフックを固定して、このフックに引っ掛けるものが開示されている(例えば、特許文献1参照)。
【0004】
しかしながら、家具を壁面に設置する際には、壁面に固定されたフックと家具側の取付具との位置を合わせる必要があるが、家具の裏側は死角になるためにどうしても勘に頼った手探りの作業になってしまい、設置作業が面倒であり、かつ、上手く引っ掛かっていないまま手を離してしまうと家具の落下してしまい、家具が破損したり、作業者が負傷してしまうおそれがある。
【0005】
また、地震などの振動で、上方に浮き上がる力が加わっても家具が脱落しないようにする安全対策を講じる必要があるが、家具を設置した後に壁面にピンを打ち込むためには、作業が難しく、また、ケガをする危険性もある。
【先行技術文献】
【特許文献】
【0006】
特開2013-162956号公報
【発明の概要】
【発明が解決しようとする課題】
【0007】
本発明は、従来の壁掛家具の支持構造に上記のような問題があったことに鑑みて為されたものであり、その目的とするところは、壁面のフックが目視可能で設置工程の施工性が向上し、かつ、ストッパーの着脱が容易であり、壁掛家具の浮き上がりを規制して脱落を確実に防止することができる壁掛家具の脱落防止構造を提供することにある。
【課題を解決するための手段】
【0008】
本発明者が上記技術的課題を解決するために採用した手段を、添付図面を参照して説明すれば、次のとおりである。
【0009】
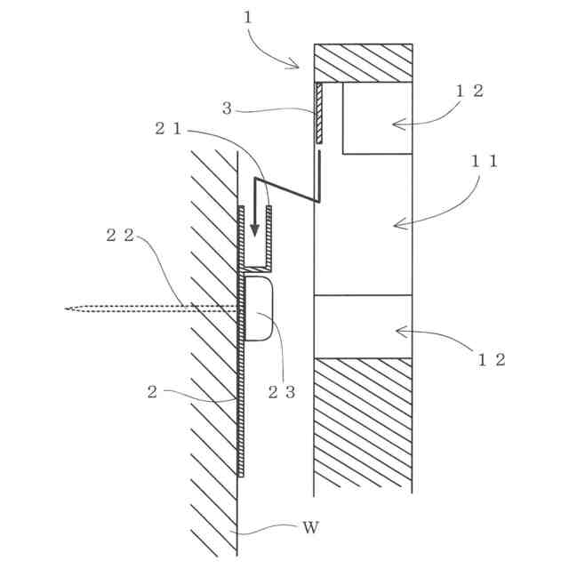
即ち、本発明は、壁面Wから側方に持ち出した状態で支持される壁掛家具において、
前記壁面Wには、鉛直上方に爪部21が突成されたフック2を、固定具22によって固定する一方、
前記壁掛家具の背板1における壁面対向側には掛止具3を配設して、この掛止具3と前記フック2の爪部21とを掛合可能にして、
かつ、前記背板1における前記掛止具3の配設部位近傍には、貫通孔11を形成して、
この貫通孔11の内部には、弾性変形可能なストッパー4を嵌着可能にして、
前記掛止具3と前記フック2の爪部21との掛合状態において、前記ストッパー4の突出部41を、前記固定具22の頭部23と前記背板1の貫通孔11の下面との隙間に嵌挿することによって、前記壁掛家具の背板1の浮き上がりを規制して脱落を防止できるように構成するという技術的手段を採用したことによって、壁掛家具の脱落防止構造を完成させた。
【0010】
また、本発明は、上記課題を解決するために、必要に応じて上記手段に加え、前記ストッパー4を、テーパ状に拡開する一対の面部42が連結部43で連結された折曲板状に形成して、前記背板1の貫通孔11の内部に付勢状態で嵌着可能にするという技術的手段を採用することもできる。
(【0011】以降は省略されています)
この特許をJ-PlatPat(特許庁公式サイト)で参照する
関連特許
株式会社arne
壁掛家具の脱落防止構造
4日前
個人
箸
1か月前
個人
椅子
2か月前
個人
家具
4か月前
個人
掃除機
8か月前
個人
自助箸
7か月前
個人
枕
8か月前
個人
掃除用具
3か月前
個人
ソファー
2か月前
個人
枕
5か月前
個人
屋外用箒
7か月前
個人
多用途紐
1か月前
個人
体洗い具
10か月前
個人
耳拭き棒
11か月前
個人
ハンガー
7か月前
個人
掃除道具
8か月前
個人
物品
3か月前
個人
片手代替具
11か月前
個人
掃除シート
9か月前
個人
開閉トング
6か月前
個人
組立式棚板
7か月前
個人
省煙消臭器
8か月前
個人
エコ掃除機
12か月前
個人
バターナイフ
1か月前
個人
洗面台
10か月前
個人
転倒防止装置
5か月前
個人
ゴミ袋保持枠
7か月前
個人
受け皿
5か月前
個人
紙コップ 蓋
2か月前
個人
シャワー装置
6か月前
個人
経典表示装置
4か月前
個人
靴ベラ
2か月前
個人
中身のない枕
7か月前
個人
首支持具
3か月前
個人
コーナーシール
9か月前
個人
矯正用枕
4か月前
続きを見る
他の特許を見る