TOP
|
特許
|
意匠
|
商標
特許ウォッチ
Twitter
他の特許を見る
10個以上の画像は省略されています。
公開番号
2025169636
公報種別
公開特許公報(A)
公開日
2025-11-14
出願番号
2024074525
出願日
2024-05-01
発明の名称
アダプター
出願人
コシオカ産業株式会社
代理人
弁理士法人井澤国際特許事務所
,
個人
,
個人
,
個人
主分類
A47G
29/00 20060101AFI20251107BHJP(家具;家庭用品または家庭用設備;コーヒーひき;香辛料ひき;真空掃除機一般)
要約
【課題】突っ張り棒を設置したままの状態で、取り付けあるいは取り外し可能なアダプターを提供する。
【解決手段】アダプター10は、突っ張り棒590に取り付けるための主部材100と、主部材を、突っ張り棒を挟んで取り外し可能に取り付けるための副部材と、を有し、主部材は、溝状の溝部と、を有し、副部材は溝部と係合する溝係合部と、を有する。
【選択図】図1
特許請求の範囲
【請求項1】
突っ張り棒に取り付けるための主部材と、
前記主部材を、前記突っ張り棒を挟んで取り外し可能に取り付けるための副部材と、を有し、
前記主部材は、溝状の溝部と、を有し、
前記副部材は前記溝部と係合する溝係合部と、を有するアダプター。
続きを表示(約 1,100 文字)
【請求項2】
突っ張り棒に取り付けるための主部材と、
前記主部材を、前記突っ張り棒を挟んで取り外し可能に取り付けるための副部材と、を有し、
前記主部材は、溝状の溝部と、を有し、
前記副部材は前記溝部と係合する溝係合部と、を有し、
前記溝部は、底となる底部と、を有し、
前記溝部と前記溝係合部が係合し、
当該溝係合部は、前記底部と当接するアダプター。
【請求項3】
突っ張り棒に取り付けるための主部材と、
前記主部材を、前記突っ張り棒を挟んで取り外し可能に取り付けるための副部材と、を有し、
前記主部材は、溝状の溝部と、を有し、
前記副部材は前記溝部と係合する溝係合部と、を有し、
前記溝係合部の上端部に、外方に突出する係合部と、を有し、
前記溝部は、上端に係合部受け部と、下端部に底となる底部と、を有し、
前記溝部と前記溝係合部が係合し、
前記係合部は、前記係合部受け部に載置するとともに、
当該溝係合部は、前記底部と当接するアダプター。
【請求項4】
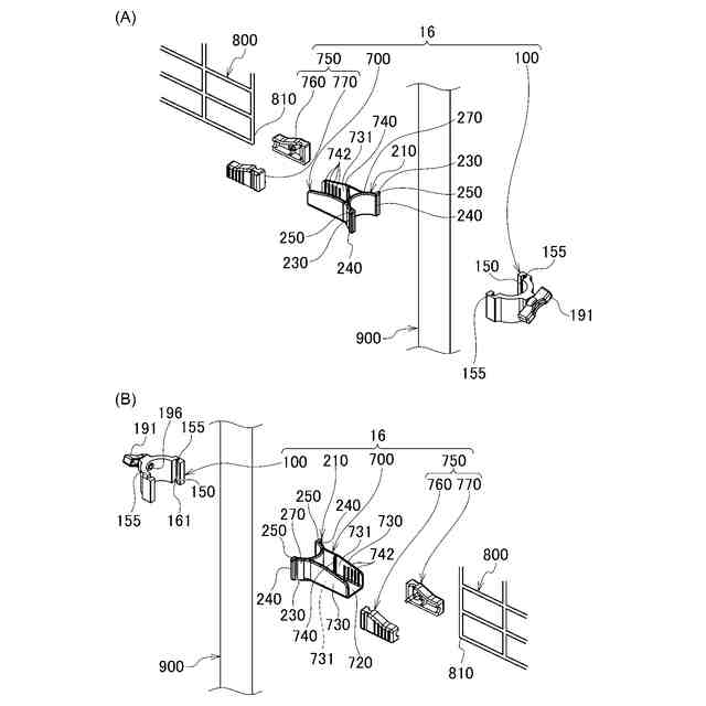
前記副部材は、Jの字状のフック、棚としての棚部、ハンガーを吊り下げる吊り下げ部、突っ張り棒を取り付けるための突っ張り棒取り付け部、渡し突っ張り棒を取り付けるための渡し突っ張り棒取り付け部、網を取り付けるためのホルダーを保持するホルダー受け部、のいずれかを有する請求項1から3のいずれかに記載のアダプター。
【請求項5】
前記主部材は、前記突っ張り棒に固定する固定部と、を有し、
前記固定部は、つまみとなるつまみ部と雄螺子となる雄螺子部と、を有し、
前記本体部は、外面である主外面と、内面である主内面と、前記主外面と前記主内面とを貫通する雌螺子部と、を有し、
前記雄螺子部は、前記雌螺子部と螺合する請求項1から3のいずれかに記載のアダプター。
【請求項6】
前記副部材は、Jの字状のフック、棚としての棚部、ハンガーを吊り下げる吊り下げ部、突っ張り棒を取り付けるための突っ張り棒取り付け部、し突っ張り棒を取り付けるための渡し突っ張り棒取り付け部、網を取り付けるためのホルダーを保持するホルダー受け部、のいずれかを有し、
前記主部材は、前記突っ張り棒に固定する固定部と、を有し、
前記固定部は、つまみとなるつまみ部と雄螺子となる雄螺子部と、を有し、
前記本体部は、外面である主外面と、内面である主内面と、前記主外面と前記主内面とを貫通する雌螺子部と、を有し、
前記雄螺子部は、前記雌螺子部と螺合する請求項1から3のいずれかに記載のアダプター。
発明の詳細な説明
【技術分野】
【0001】
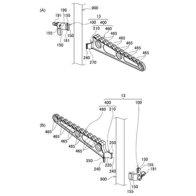
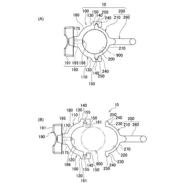
本発明は、特に突っ張り棒に取り付けるアダプターに関するものである。
続きを表示(約 1,400 文字)
【背景技術】
【0002】
突っ張り棒は、全体として伸縮性を有するように構成されており、例えば、長尺のパイプ材の中にそれよりも径が小のパイプ材が格納されており、その小のパイプ材が、内蔵されているバネにより伸長する方向に付勢され、出没可能に構成されているものが知られている。
【0003】
このような突っ張り棒は、室内のいわゆるデッドスペースに取り付けることができ、この取り付けられた突っ張り棒に、棚、ハンガー、小物を吊り下げるフックを取り付けることができる。
【0004】
例えば、特開2017-70681号公報において、脚台4から伸縮式に立ち上がるポール9、10に、放射型物干しアーム1を2段に設け、その上方位置にハンガーごと干し掛けるためのハンガー掛けバー2とハンガー掛けリング3を設け、放射型・バー型・リング型いずれも、固定グリップハンドル16とスライドストッパーリング13a、13b、13cによって、各々の制約された範囲で自由に位置移動ができ、収納も低く小さく縮められる構成とするツリー型部屋干しスタンドと呼ばれる突っ張り棒が開示されている。
【0005】
上述のツリー型部屋干しスタンドと呼ばれる突っ張り棒には、放射型物干しアーム(1)や、ハンガー掛けバー(2)あるいは、ハンガー掛けリング(3)を取り付けることができるが、ポール外面に添ってスライド可能な内径を有する短い筒体状の胴部即ち掛けバー軸胴部(17)と呼ばれる筒状の部材をあらかじめ突っ張り棒である基幹ポール(9)に挿入する必要がある。
【0006】
しかしながら、一度使用した後に不要となった場合や、新たに、他のハンガー等を基幹ポールである突っ張り棒に取り付けるためには、突っ張り棒を、すでに設置した場所から取り外し、その不要となった掛けバー軸胴部(17)を取り外し、新たなハンガーや棚を取り付けるための掛けバー軸胴部(17)に相当するアダプターを取り付け、再び設置した場所にその突っ張り棒を設置しなければならず、極めて不利不便である。
【先行技術文献】
【特許文献】
【0007】
特開2017-70681号公報
【発明の概要】
【発明が解決しようとする課題】
【0008】
本発明は前記の実情に鑑みてなされたもので、その課題は、突っ張り棒を設置したままの状態で、取り付けあるいは取り外し可能なアダプターを提供することである。
【課題を解決するための手段】
【0009】
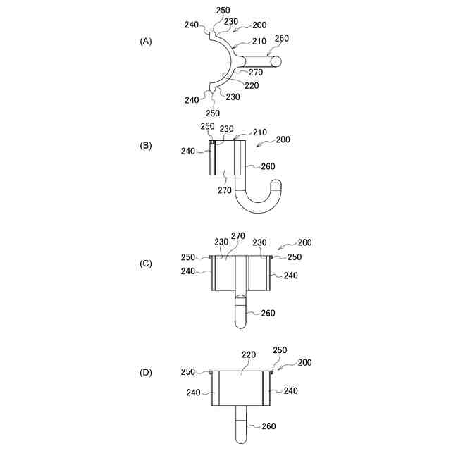
前記の課題を解決するため、第1観点のアダプターは、突っ張り棒に取り付けるための主部材と、主部材を、突っ張り棒を挟んで取り外し可能に取り付けるための副部材と、を有し、主部材は、溝状の溝部と、を有し、副部材は溝部と係合する溝係合部と、を有するというものである。
【0010】
前記の課題を解決するため、第2観点のアダプターは、突っ張り棒に取り付けるための主部材と、主部材を、突っ張り棒を挟んで取り外し可能に取り付けるための副部材と、を有し、主部材は、溝状の溝部と、を有し、副部材は溝部と係合する溝係合部と、を有し、溝部は、底となる底部と、を有し、溝部と溝係合部が係合し、溝係合部は、底部と当接するというものである。
(【0011】以降は省略されています)
この特許をJ-PlatPat(特許庁公式サイト)で参照する
関連特許
コシオカ産業株式会社
アダプター
4日前
個人
箸
1か月前
個人
椅子
2か月前
個人
家具
4か月前
個人
掃除機
8か月前
個人
自助箸
7か月前
個人
枕
8か月前
個人
掃除用具
3か月前
個人
ソファー
2か月前
個人
枕
5か月前
個人
屋外用箒
7か月前
個人
多用途紐
1か月前
個人
体洗い具
10か月前
個人
耳拭き棒
11か月前
個人
ハンガー
7か月前
個人
掃除道具
8か月前
個人
物品
3か月前
個人
片手代替具
11か月前
個人
掃除シート
9か月前
個人
開閉トング
6か月前
個人
組立式棚板
7か月前
個人
省煙消臭器
8か月前
個人
エコ掃除機
12か月前
個人
バターナイフ
1か月前
個人
洗面台
10か月前
個人
転倒防止装置
5か月前
個人
ゴミ袋保持枠
7か月前
個人
受け皿
5か月前
個人
紙コップ 蓋
2か月前
個人
シャワー装置
6か月前
個人
経典表示装置
4か月前
個人
靴ベラ
2か月前
個人
中身のない枕
7か月前
個人
首支持具
3か月前
個人
コーナーシール
9か月前
個人
矯正用枕
4か月前
続きを見る
他の特許を見る