TOP
|
特許
|
意匠
|
商標
特許ウォッチ
Twitter
他の特許を見る
公開番号
2025169609
公報種別
公開特許公報(A)
公開日
2025-11-14
出願番号
2024074467
出願日
2024-05-01
発明の名称
宅配ボックス
出願人
株式会社ナスタ
代理人
個人
,
個人
主分類
A47G
29/12 20060101AFI20251107BHJP(家具;家庭用品または家庭用設備;コーヒーひき;香辛料ひき;真空掃除機一般)
要約
【課題】宅配物を建物の屋外側と屋内側のどちらからでも取り出すことができるようにした宅配ボックスを提供する。
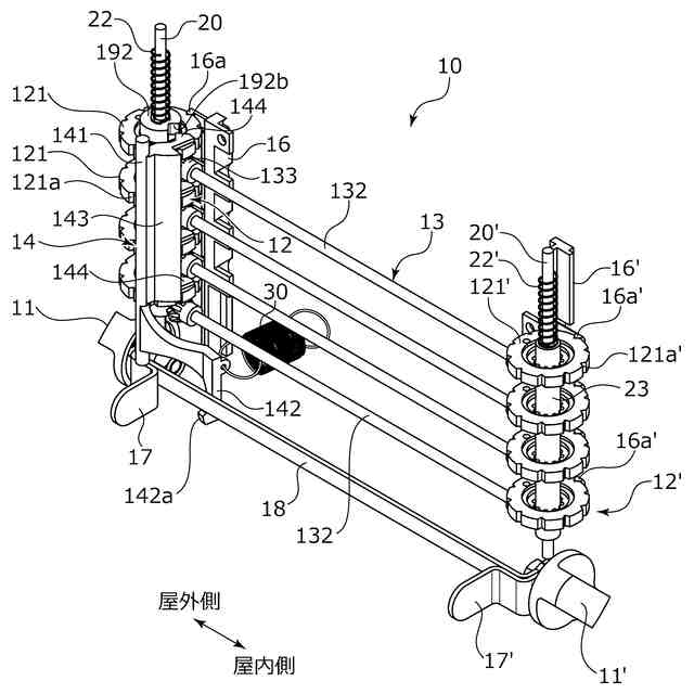
【解決手段】建物の外壁を貫通するように設置されるボックス本体2と、該ボックス本体2に形成された屋外開口4及び屋内開口5をそれぞれ開閉する外扉6及び内扉7を施解錠する施解錠機構10とを備える宅配ボックス1において、施解錠機構10は、ボックス本体2の屋外側と屋内側とにそれぞれ設けられ、外扉6及び内扉7を閉扉状態または開扉可能状態とするための可動部材17,17’を有する内外一対の操作部11,11’と、操作部11,11’の開扉操作を規制する開扉規制状態と該規制を解除する開扉規制解除状態に切り換え可能な可動切換え部材14と、可動切換え部材14を開扉規制状態または開扉規制解除状態に切り換えるための内外一対の選択錠12,12’と、選択錠12,12’同士を連動させる連動手段13を備える。
【選択図】図4
特許請求の範囲
【請求項1】
建物の外壁を貫通するように設置されるボックス本体と、該ボックス本体に形成された屋外開口及び屋内開口をそれぞれ開閉する外扉及び内扉を施解錠する施解錠機構とを備える宅配ボックスにおいて、
前記施解錠機構は、前記ボックス本体の屋外側と屋内側とにそれぞれ設けられ、前記外扉及び前記内扉を閉扉状態または開扉可能状態とするための可動部材を有する内外一対の操作部と、前記操作部の開扉操作を規制する開扉規制状態と該規制を解除する開扉規制解除状態に切り換え可能な可動切換え部材と、前記可動切換え部材を前記開扉規制状態または前記開扉規制解除状態に切り換えるための内外一対の選択錠と、前記選択錠同士を連動させる連動手段と、を備えることを特徴とする宅配ボックス。
続きを表示(約 430 文字)
【請求項2】
内外の前記操作部の前記可動部材同士は内外方向に延びる連結部材により連結されていることを特徴とする請求項1記載の宅配ボックス。
【請求項3】
前記可動切換え部材は、前記連結部材と係脱するように内外いずれか一方の前記選択錠と前記可動部材との間に配設されていることを特徴とする請求項2に記載の宅配ボックス。
【請求項4】
内外一対の前記選択錠はダイヤル錠であり、前記連動手段は前記一対のダイヤル錠に設けられた主動ギヤと、内外方向に延びる連動ロッドと、該連動ロッドの両端部に取り付けられ内外の前記主動ギヤに噛合する従動ギヤとを備えることを特徴とする請求項1に記載の宅配ボックス。
【請求項5】
前記操作部、前記可動切換え部材、前記選択錠及び前記連動手段は、前記ボックス本体と別体のケースに組み付けられ施解錠ユニットが構成されていることを特徴とする請求項1ないし4のいずれかに記載の宅配ボックス。
発明の詳細な説明
【技術分野】
【0001】
本発明は、例えばマンション等の集合住宅の外壁を貫通させて設置される宅配ボックスに関する。
続きを表示(約 2,300 文字)
【背景技術】
【0002】
近年、宅配業者と受取人が直接対面せずに宅配物の受け渡しを可能にする宅配ボックスが種々提供されている。一般的な宅配ボックスは、前面に施解錠可能な開閉扉を有し、受取人の不在時に宅配業者が開閉扉を開いて宅配物をボックス内に収容した後、施解錠装置を操作して開閉扉を施錠できるようになっており、この宅配ボックスを建物の玄関先に設置することにより受取人は開閉扉を解錠して宅配物を前方から取り出すことができる。このような一般的な宅配ボックスにおいては、開閉扉を解錠して宅配物を取り出すために受取人は一度屋外に出る必要があり、煩雑となる。
【0003】
この問題に対処可能な宅配ボックスとして、例えば特許文献1には、戸建て住宅の外壁を貫通するように設置されたボックス本体に、屋外に開口する荷挿入口と屋内に開口する荷取出口を設けるとともに、荷挿入口にはダイヤル錠等の施錠装置により施錠可能な外扉を、荷取出口にはラッチ機構により開閉可能な内扉をそれぞれ設けた宅配ボックスが記載されている。このような外壁貫通タイプの宅配ボックスにおいては、受取人は宅配物を建物の外側と内側のどちらからでも取り出すことができる。
【先行技術文献】
【特許文献】
【0004】
特開2019-154516号公報(図1、図2)
【発明の概要】
【発明が解決しようとする課題】
【0005】
しかしながら、特許文献1に記載されるような外壁貫通タイプの宅配ボックスを例えばマンション等の集合住宅のエントランスなどの外壁に複数設置し、特定の居住者宛の宅配物を空いている宅配ボックスを選択して収容する場合に、次のような問題が生じる。宅配業者が特定の居住者宛の宅配物を宅配ボックスに収容し、そのあとダイヤル錠を操作して外扉を施錠してダイヤル錠の暗証番号を記入した不在連絡票を受取人の郵便受けに投函する、または暗証番号を受取人の携帯端末に送信することで、外出先から帰宅した受取人のみが暗証番号に基づいて外扉を開いて荷挿入口から宅配物を取り出すことができる。しかしながら、内扉はラッチ機構のみで閉扉されているため、受取人以外の第3者により内扉が強引にこじ開けられて宅配物が盗難に遭うおそれがある。
【0006】
これを防止するためには、内扉にもダイヤル錠等の施解錠装置を設けることも考えられる。このようにすると、万が一、ダイヤル錠等に不具合が生じてしまった場合や、予め設定された暗証番号を忘れてしまった場合には内扉を開くことができなくなってしまうため、エントランスの外側に出て外扉を宅配業者から指定された暗証番号に基づいて開き、宅配物を外側の荷挿入口から取り出さなければならないという問題が生じる。
【0007】
本発明は、前記問題点に鑑みてなされたもので、宅配物を建物の屋外側と屋内側のどちらからでも取り出すことができるようにした宅配ボックスを提供することを目的としている。
【課題を解決するための手段】
【0008】
上記課題を解決するために、本発明の宅配ボックスは、
建物の外壁を貫通するように設置されるボックス本体と、該ボックス本体に形成された屋外開口及び屋内開口をそれぞれ開閉する外扉及び内扉を施解錠する施解錠機構とを備える宅配ボックスにおいて、前記施解錠機構は、前記ボックス本体の屋外側と屋内側とにそれぞれ設けられ、前記外扉及び前記内扉を閉扉状態または開扉可能状態とするための可動部材を有する内外一対の操作部と、前記操作部の開扉操作を規制する開扉規制状態と該規制を解除する開扉規制解除状態に切り換え可能な可動切換え部材と、前記可動切換え部材を前記開扉規制状態または前記開扉規制解除状態に切り換えるための内外一対の選択錠と、前記選択錠同士を連動させる連動手段と、を備えることを特徴としている。
この特徴によれば、可動切換え部材を開扉規制状態または開扉規制解除状態に切り換えるための内外一対の選択錠同士が連動手段により連動するため、一方の選択錠を宅配業者からの暗証番号等に基づいてロック解除操作すると他方の選択錠も同時にロック解除され、外扉と内扉が共に開扉可能状態になる。従って、内外の操作部をそれぞれ開扉操作すれば、宅配物を屋外開口と屋内開口のどちらからでも取り出すことができる。
【0009】
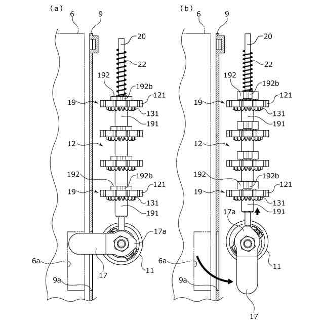
内外の前記操作部の前記可動部材同士は内外方向に延びる連結部材により連結されていることを特徴としている。
この特徴によれば、一方の操作部を回動操作して一方の可動部材を回動させ、外扉および内扉の一方を閉扉状態または開扉可能状態にすると、連結部材により他方の可動部材も連動して回動させることができ、外扉および内扉の他方を閉扉状態または開扉可能状態にすることができる。従って、屋外開口または屋内開口より宅配物を取り出す際、内外の操作部を個別に操作する必要がなくなる。
【0010】
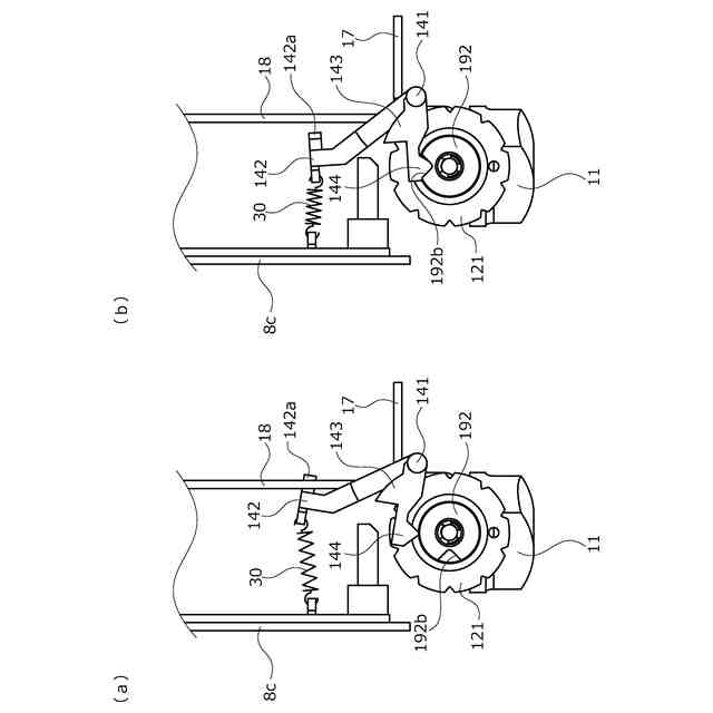
前記可動切換え部材は、前記連結部材と係脱するように内外いずれか一方の前記選択錠と前記可動部材との間に配設されていることを特徴としている。
この特徴によれば、内外いずれか一方に設けた可動切換え部材を内外の可動部材同士を連結する連結部材に係脱させることにより、開扉規制状態と開扉規制解除状態とに同時に切り換えることができるので、可動切換え部材は一つで済み、コスト低減が図れる。
(【0011】以降は省略されています)
この特許をJ-PlatPat(特許庁公式サイト)で参照する
関連特許
株式会社ナスタ
宅配ボックス
4日前
個人
箸
1か月前
個人
椅子
2か月前
個人
家具
4か月前
個人
掃除機
8か月前
個人
自助箸
7か月前
個人
枕
8か月前
個人
掃除用具
3か月前
個人
ソファー
2か月前
個人
枕
5か月前
個人
屋外用箒
7か月前
個人
多用途紐
1か月前
個人
体洗い具
10か月前
個人
耳拭き棒
11か月前
個人
ハンガー
7か月前
個人
掃除道具
8か月前
個人
物品
3か月前
個人
片手代替具
11か月前
個人
掃除シート
9か月前
個人
開閉トング
6か月前
個人
組立式棚板
7か月前
個人
省煙消臭器
8か月前
個人
エコ掃除機
12か月前
個人
バターナイフ
1か月前
個人
洗面台
10か月前
個人
転倒防止装置
5か月前
個人
ゴミ袋保持枠
7か月前
個人
受け皿
5か月前
個人
紙コップ 蓋
2か月前
個人
シャワー装置
6か月前
個人
経典表示装置
4か月前
個人
靴ベラ
2か月前
個人
中身のない枕
7か月前
個人
首支持具
3か月前
個人
コーナーシール
9か月前
個人
矯正用枕
4か月前
続きを見る
他の特許を見る