TOP
|
特許
|
意匠
|
商標
特許ウォッチ
Twitter
他の特許を見る
10個以上の画像は省略されています。
公開番号
2025169067
公報種別
公開特許公報(A)
公開日
2025-11-12
出願番号
2024074047
出願日
2024-04-30
発明の名称
電子部品および機器
出願人
キヤノン株式会社
代理人
弁理士法人大塚国際特許事務所
主分類
H10F
39/12 20250101AFI20251105BHJP()
要約
【課題】導電ワイヤに起因するゴーストの発生をさらに抑制するのに有利な技術を提供する。
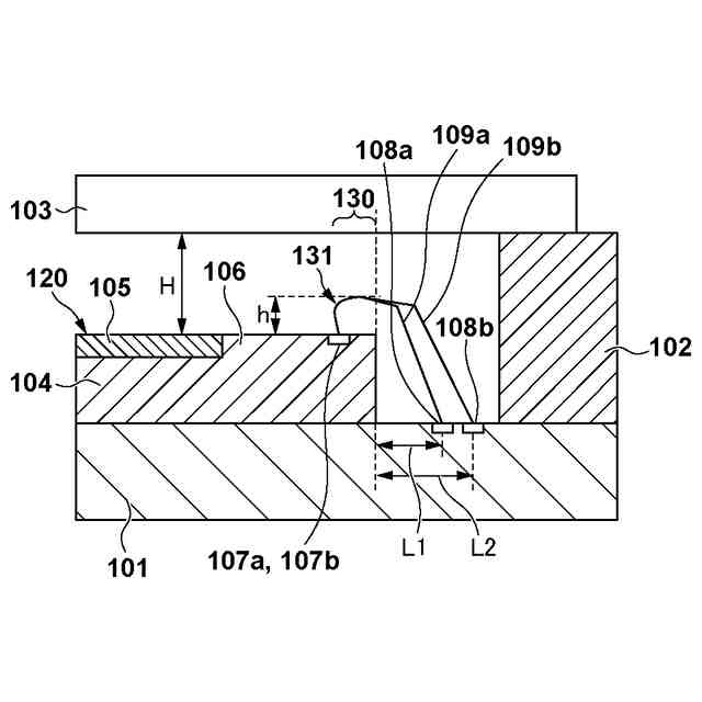
【解決手段】支持基板と、前記支持基板に固定された光電変換基板と、前記光電変換基板に向かい合うように配された光学部材と、を備え、前記光電変換基板は、複数の光電変換素子が配された光電変換領域と、第1電極が配された周辺領域と、を含む主面を備え、前記第1電極は、前記支持基板に配された第2電極に導電ワイヤを介して接続され、前記導電ワイヤのうち前記光電変換基板の上に配された第1部分は、1つ以上の屈曲部を備え、前記導電ワイヤは、前記第1電極の表面の法線方向に前記表面から200μm以下の範囲に配され、前記第1部分のうち前記第1電極から第1高さまでの部分は、前記法線方向に対する最大の角度が30°以下であり、ここで、前記第1高さは、前記法線方向における前記導電ワイヤの前記表面からの最大の高さの1/2の高さである。
【選択図】図1
特許請求の範囲
【請求項1】
支持基板と、前記支持基板に固定された光電変換基板と、前記光電変換基板に向かい合うように配された光学部材と、を備える電子部品であって、
前記光電変換基板は、複数の光電変換素子が配された光電変換領域と、第1電極が配された周辺領域と、を含む主面を備え、
前記第1電極は、前記支持基板に配された第2電極に導電ワイヤを介して接続され、
前記導電ワイヤのうち前記光電変換基板の上に配された第1部分は、1つ以上の屈曲部を備え、
前記導電ワイヤは、前記第1電極の表面の法線方向に前記表面から200μm以下の範囲に配され、
前記第1部分のうち前記第1電極から第1高さまでの部分は、前記法線方向に対する最大の角度が30°以下であり、ここで、前記第1高さは、前記法線方向における前記導電ワイヤの前記表面からの最大の高さの1/2の高さであることを特徴とする電子部品。
続きを表示(約 950 文字)
【請求項2】
前記屈曲部のうち前記第1電極に最も近い第1屈曲部が、前記表面から前記第1高さよりも離れた位置に配されていることを特徴とする請求項1に記載の電子部品。
【請求項3】
前記第1部分のうち前記第1電極から前記第1屈曲部までの部分は、前記法線方向に沿って配される、または、前記光電変換領域の側に傾くように配されていることを特徴とする請求項2に記載の電子部品。
【請求項4】
前記第1部分のうち前記第1屈曲部よりも前記第1電極から離れた部分は、前記第1屈曲部から離れるにつれて前記主面から離れるように配され、かつ、前記法線方向に対する角度が40°以上かつ50°以下の範囲にないことを特徴とする請求項2に記載の電子部品。
【請求項5】
前記屈曲部は、前記第1屈曲部および第2屈曲部を含み、
前記第1部分のうち前記第1屈曲部から前記第2屈曲部までの部分は、前記第1屈曲部から離れるにつれて前記主面から離れるように配され、かつ、前記法線方向に対する角度が40°以上かつ50°以下の範囲にないことを特徴とする請求項2に記載の電子部品。
【請求項6】
前記第2屈曲部は、前記法線方向に前記表面から前記最大の高さ未満の位置に配され、
前記第1部分のうち前記第2屈曲部よりも前記第1電極から離れた部分は、前記第2屈曲部から離れるにつれて前記主面から離れるように配されていることを特徴とする請求項5に記載の電子部品。
【請求項7】
前記第2屈曲部は、前記法線方向に前記表面から前記最大の高さの位置に配されていることを特徴とする請求項5に記載の電子部品。
【請求項8】
前記屈曲部は、R形状の屈曲部を含むことを特徴とする請求項1に記載の電子部品。
【請求項9】
前記第1屈曲部は、R形状を備えることを特徴とする請求項2に記載の電子部品。
【請求項10】
前記第1屈曲部は、R形状を備え、
前記R形状は、前記法線方向に前記表面から前記最大の高さに位置する部分を含むことを特徴とする請求項2に記載の電子部品。
(【請求項11】以降は省略されています)
発明の詳細な説明
【技術分野】
【0001】
本発明は、電子部品および機器に関する。
続きを表示(約 1,700 文字)
【背景技術】
【0002】
特許文献1には、固体撮像素子、固体撮像素子に対向して配される透明板、および、固体撮像素子の光結像面の周辺に配された電極に接続されたボンディングワイヤを備える固体撮像装置が示されている。特許文献1には、入射した光がボンディングワイヤで反射し、その反射光がさらに透明板で反射して光結像面に入射することによって発生するゴーストを抑制するための設計指針が示されている。
【先行技術文献】
【特許文献】
【0003】
特開平5-275668号公報
【発明の概要】
【発明が解決しようとする課題】
【0004】
本発明は、導電ワイヤに起因するゴーストの発生をさらに抑制するのに有利な技術を提供することを目的とする。
【課題を解決するための手段】
【0005】
上記課題に鑑みて、本発明の実施形態に係る電子部品は、支持基板と、前記支持基板に固定された光電変換基板と、前記光電変換基板に向かい合うように配された光学部材と、を備える電子部品であって、前記光電変換基板は、複数の光電変換素子が配された光電変換領域と、第1電極が配された周辺領域と、を含む主面を備え、前記第1電極は、前記支持基板に配された第2電極に導電ワイヤを介して接続され、前記導電ワイヤのうち前記光電変換基板の上に配された第1部分は、1つ以上の屈曲部を備え、前記導電ワイヤは、前記第1電極の表面の法線方向に前記表面から200μm以下の範囲に配され、前記第1部分のうち前記第1電極から第1高さまでの部分は、前記法線方向に対する最大の角度が30°以下であり、ここで、前記第1高さは、前記法線方向における前記導電ワイヤの前記表面からの最大の高さの1/2の高さであることを特徴とする。
【発明の効果】
【0006】
本発明によれば、導電ワイヤに起因するゴーストの発生をさらに抑制するのに有利な技術を提供することができる。
【図面の簡単な説明】
【0007】
本実施形態の電子部品の構成例を示す断面図。
図1の電子部品の構成例を示す上面図。
導電ワイヤに起因するゴーストの発生を説明する図。
導電ワイヤに起因するゴーストの発生を説明する図。
図1の電子部品の構成例を示す断面図。
図1の電子部品の構成例を示す断面図。
図1の電子部品の構成例を示す断面図。
図1の電子部品の構成例を示す断面図。
図1の電子部品の構成例を示す断面図。
図1の電子部品の変形例を示す断面図。
図10の電子部品の構成例を示す上面図。
図1の電子部品が組み込まれた機器の構成例を示す図。
【発明を実施するための形態】
【0008】
以下、添付図面を参照して実施形態を詳しく説明する。なお、以下の実施形態は特許請求の範囲に係る発明を限定するものではない。実施形態には複数の特徴が記載されているが、これらの複数の特徴の全てが発明に必須のものとは限らず、また、複数の特徴は任意に組み合わせられてもよい。さらに、添付図面においては、同一若しくは同様の構成に同一の参照番号を付し、重複した説明は省略する。
【0009】
以下の説明では、必要に応じて特定の方向や位置を示す用語(例えば、「上」、「下」、「右」、「左」、および、それらの用語を含む別の用語)を用いる。それらの用語の使用は、図面を参照した実施形態の理解を容易にするためであって、それらの用語の意味によって本発明の技術的範囲が限定されるものではない。
【0010】
本明細書において、平面視とは、光電変換基板が備える半導体層の光入射面に対して垂直な方向から視ることである。また、断面視とは、半導体層の光入射面に垂直な断面を視ることをいう。なお、微視的に見て半導体層の光入射面が粗面である場合は、巨視的に見たときの半導体層の光入射面を基準として平面視を定義する。
(【0011】以降は省略されています)
この特許をJ-PlatPat(特許庁公式サイト)で参照する
関連特許
キヤノン株式会社
容器
28日前
キヤノン株式会社
容器
22日前
キヤノン株式会社
トナー
14日前
キヤノン株式会社
トナー
1か月前
キヤノン株式会社
記録装置
7日前
キヤノン株式会社
記録装置
28日前
キヤノン株式会社
撮像装置
28日前
キヤノン株式会社
撮像装置
28日前
キヤノン株式会社
現像装置
1か月前
キヤノン株式会社
定着装置
7日前
キヤノン株式会社
記録装置
14日前
キヤノン株式会社
記録装置
14日前
キヤノン株式会社
表示装置
22日前
キヤノン株式会社
撮像装置
28日前
キヤノン株式会社
撮像装置
15日前
キヤノン株式会社
定着装置
7日前
キヤノン株式会社
撮像装置
1日前
キヤノン株式会社
撮像装置
1日前
キヤノン株式会社
定着装置
1日前
キヤノン株式会社
電子機器
14日前
キヤノン株式会社
電子機器
14日前
キヤノン株式会社
定着装置
7日前
キヤノン株式会社
測距装置
16日前
キヤノン株式会社
雲台装置
14日前
キヤノン株式会社
電子機器
9日前
キヤノン株式会社
測距装置
1か月前
キヤノン株式会社
定着装置
1日前
キヤノン株式会社
撮像装置
9日前
キヤノン株式会社
撮像装置
14日前
キヤノン株式会社
撮像装置
22日前
キヤノン株式会社
液体収容体
16日前
キヤノン株式会社
露光ヘッド
7日前
キヤノン株式会社
液体収容体
17日前
キヤノン株式会社
画像形成装置
1か月前
キヤノン株式会社
画像形成装置
15日前
キヤノン株式会社
画像形成装置
2日前
続きを見る
他の特許を見る