TOP
|
特許
|
意匠
|
商標
特許ウォッチ
Twitter
他の特許を見る
公開番号
2025168899
公報種別
公開特許公報(A)
公開日
2025-11-12
出願番号
2024073748
出願日
2024-04-30
発明の名称
給湯機制御装置、給湯システム、給湯機制御方法およびプログラム
出願人
三菱電機株式会社
代理人
個人
,
個人
,
個人
,
個人
,
個人
,
個人
主分類
F24H
4/02 20220101AFI20251105BHJP(加熱;レンジ;換気)
要約
【課題】湯切れの発生を抑制することができる給湯機制御装置、給湯機制御システム、給湯機制御方法およびプログラムを提供する。
【解決手段】給湯機制御装置として機能するクラウドサーバ1は、給湯機3それぞれについて沸き上げた湯の使用状況、消費電力量の特徴を示す複数の特徴量を算出するための給湯機情報を取得する給湯機情報取得部111と、給湯機3それぞれについて、過去の給湯機情報に基づいて算出された複数の特徴量から推定される追加沸き上げの発生確率に基づいて、将来における沸き上げ時間帯の夜間から昼間への変更可否を判定する昼間沸き上げ可否判定部118と、給湯機3それぞれについて判定された沸き上げ時間帯の変更可否に基づいて、給湯機3それぞれの稼働スケジュールを示すスケジュール情報を生成するスケジュール生成部122と、を備える。
【選択図】図3
特許請求の範囲
【請求項1】
複数の給湯機それぞれについて沸き上げた湯の使用状況の特徴を示す少なくとも1つの特徴量を算出するための給湯機情報を取得する給湯機情報取得部と、
前記複数の給湯機それぞれについて、第1時点よりも予め設定された基準時間だけ前の第2時点から前記第1時点までの間における前記給湯機情報に基づいて算出された前記少なくとも1つの特徴量から推定される追加沸き上げの発生確率に基づいて、前記第1時点から前記第1時点よりも前記基準時間だけ後の第3時点までの間における沸き上げ時間帯の変更可否を判定する沸き上げ時間帯変更可否判定部と、
前記複数の給湯機それぞれについて判定された前記沸き上げ時間帯の変更可否に基づいて、前記複数の給湯機それぞれの稼働スケジュールを示すスケジュール情報を生成するスケジュール生成部と、を備える、
給湯機制御装置。
続きを表示(約 2,800 文字)
【請求項2】
前記給湯機情報は、前記給湯機の貯湯タンクに貯留された湯の残湯量を示す残湯量情報と、前記給湯機での消費電力量を示す給湯機消費電力量情報と、を含み、
前記給湯機情報に含まれる前記残湯量情報に基づいて、前記第2時点から前記第1時点までの間における予め設定された第1指定時間帯における湯の利用率を前記特徴量として算出する第1指定時間帯湯利用率算出部と、
前記給湯機情報に含まれる前記給湯機消費電力量情報に基づいて、前記第2時点から前記第1時点までの間における前記給湯機での消費電力量に対する前記第1指定時間帯における前記給湯機での消費電力量の比率を前記特徴量として算出する第1指定時間帯電力利用率算出部と、
前記給湯機情報に含まれる前記残湯量情報に基づいて、前記貯湯タンクが満タン時における最大給湯可能量に対する、前記第2時点から前記第1時点までの間の予め設定された第2指定時間帯における湯の使用量の比率であるタンク利用率を前記特徴量として算出するタンク利用率算出部と、
前記給湯機情報に含まれる前記残湯量情報に基づいて、前記第2時点から前記第1時点までの間における1日当たりの使用湯量の標準偏差を前記特徴量として算出する標準偏差算出部と、を更に備え、
前記沸き上げ時間帯変更可否判定部は、前記第1指定時間帯湯利用率算出部、前記第1指定時間帯電力利用率算出部、前記タンク利用率算出部および前記標準偏差算出部それぞれにより算出された前記特徴量に基づいて、前記沸き上げ時間帯の変更可否を判定する、
請求項1に記載の給湯機制御装置。
【請求項3】
前記沸き上げ時間帯変更可否判定部は、前記複数の給湯機それぞれについて、第1時点よりも予め設定された基準時間だけ前の第2時点から前記第1時点までの間における前記給湯機情報に基づいて算出された前記少なくとも1つの特徴量から、前記第1時点から前記第1時点よりも前記基準時間だけ後の第3時点までの間における追加沸き上げ動作の発生確率を求める追加沸き上げ発生確率推定モデルを用いて、前記複数の給湯機それぞれについて、前記追加沸き上げ動作の発生確率を求め、求めた追加沸き上げ発生確率が予め設定された基準発生確率以上か否かに応じて、沸き上げ時間帯の変更可否を判定する、
請求項1または2に記載の給湯機制御装置。
【請求項4】
前記複数の給湯機それぞれについて、過去の前記追加沸き上げ動作の発生時期と、過去の前記給湯機情報から算出された前記少なくとも1つの特徴量と、に基づいて、前記追加沸き上げ発生確率推定モデルを示す追加沸き上げ発生確率推定モデル情報を生成するモデル生成部を更に備える、
請求項3に記載の給湯機制御装置。
【請求項5】
複数の給湯機と、
前記複数の給湯機それぞれについて沸き上げた湯の使用状況の特徴を示す少なくとも1つの特徴量を算出するための給湯機情報を取得する給湯機情報取得部と、
前記複数の給湯機それぞれについて、第1時点よりも予め設定された基準時間だけ前の第2時点から前記第1時点までの間における前記給湯機情報に基づいて算出された前記少なくとも1つの特徴量から推定される追加沸き上げの発生確率に基づいて、前記第1時点から前記第1時点よりも前記基準時間だけ後の第3時点までの間における沸き上げ時間帯の変更可否を判定する沸き上げ時間帯変更可否判定部と、
前記複数の給湯機それぞれについて判定された前記沸き上げ時間帯の変更可否に基づいて、前記複数の給湯機それぞれの稼働スケジュールを示すスケジュール情報を生成するスケジュール生成部と、を備える、
給湯システム。
【請求項6】
前記沸き上げ時間帯変更可否判定部は、前記複数の給湯機それぞれについて、第1時点よりも予め設定された基準時間だけ前の第2時点から前記第1時点までの間における前記給湯機情報に基づいて算出された前記少なくとも1つの特徴量から、前記第1時点から前記第1時点よりも前記基準時間だけ後の第3時点までの間における追加沸き上げ動作の発生確率を求める追加沸き上げ発生確率推定モデルを用いて、前記複数の給湯機それぞれについて、前記追加沸き上げ動作の発生確率を求め、求めた追加沸き上げ発生確率が予め設定された基準発生確率以上か否かに応じて、沸き上げ時間帯の変更可否を判定する、
請求項5に記載の給湯システム。
【請求項7】
表示部を有し前記複数の給湯機のうちの少なくとも1つを操作するための操作機器と、
前記操作機器により操作される少なくとも1つの給湯機について、前記沸き上げ時間帯が変更されなかった場合、前記沸き上げ時間帯が変更されなかったことを通知する沸き上げ時間帯維持通知情報を生成して前記操作機器へ送信する沸き上げ時間帯変更状況通知部と、を更に備え、
前記操作機器は、前記沸き上げ時間帯維持通知情報を取得すると、これに応じて、前記沸き上げ時間帯が変更されなかったことを前記操作機器の利用者に通知する沸き上げ維持通知画像を形成して前記表示部に表示させる、
請求項5または6に記載の給湯システム。
【請求項8】
前記沸き上げ維持通知画像は、前記利用者に対して前記沸き上げ時間帯の変更が発生するようにするための前記給湯機の使用方法に関するメッセージを表すメッセージ画像を含む、
請求項7に記載の給湯システム。
【請求項9】
自然エネルギを利用して発電を行う発電設備と、
前記第1時点から前記第3時点までの間における気象条件に基づいて、前記第1時点から前記第3時点までの間における前記発電設備による発電量レベルを推定する発電量レベル推定部と、を更に備え、
沸き上げ時間帯変更可否判定部は、前記少なくとも1つの特徴量とともに推定された前記発電量レベルに基づいて、前記沸き上げ時間帯の変更可否を判定する、
請求項5または6に記載の給湯システム。
【請求項10】
表示部を有する端末装置と、
前記追加沸き上げ発生確率に基づいて、湯切れ発生の可能性を示す湯切れ発生指標を算出し、算出した湯切れ発生指標を示す湯切れ発生指標情報を前記端末装置へ送信する湯切れ発生指標通知部と、を更に備え、
前記端末装置は、前記湯切れ発生指標情報を取得すると、取得した前記湯切れ発生指標情報に基づいて、前記端末装置の利用者に対して、前記複数の給湯機それぞれにおける前記湯切れ発生の可能性を通知する湯切れリスク通知画像を形成して前記表示部に表示させる、
請求項5または6のいずれか1項に記載の給湯システム。
(【請求項11】以降は省略されています)
発明の詳細な説明
【技術分野】
【0001】
本開示は、給湯機制御装置、給湯システム、給湯機制御方法およびプログラムに関する。
続きを表示(約 3,400 文字)
【背景技術】
【0002】
複数の顧客のもとに設置される電気式の給湯機それぞれにネットワークを介して接続され、給湯機の の使用実績に基づいて、ネットワークを介して給湯機を遠隔制御する管理コンピュータが提案されている(例えば特許文献1参照)。
【先行技術文献】
【特許文献】
【0003】
特開2002-31405号公報
【発明の概要】
【発明が解決しようとする課題】
【0004】
ところで、太陽光を利用した発電設備を導入している住宅では、昼間に太陽光により発電された余剰電力を用いて湯の沸き上げを行うことで、発電電力を有効に活用することが要請されている。一方、貯湯式の給湯機は、一般的に、電気料金が比較的安価である深夜時間帯に沸き上げを行って翌日の昼間に使用する分の湯をタンクに貯めておき、翌日の昼間の時間帯にタンクに貯めた湯が枯渇しそうになると、自動的に追加の沸き上げを行って昼間の時間帯に利用者に湯が供給されなくなるいわゆる湯切れが発生しないように動作する。従って、利用者が昼間の時間帯に通常よりも多くの湯を使用するような場合において、給湯機が、昼間の時間帯に前述の余剰電力による沸き上げを行っている場合、いわゆる湯切れが発生してしまう虞がある。
【0005】
本開示は上記事由に鑑みてなされたものであり、湯切れの発生を抑制することができる給湯機制御装置、給湯システム、給湯機制御方法およびプログラムを提供することを目的とする。
【課題を解決するための手段】
【0006】
上記目的を達成するため、本開示に係る給湯機制御装置は、
複数の給湯機それぞれについて沸き上げた湯の使用状況の特徴を示す少なくとも1つの特徴量を算出するための給湯機情報を取得する給湯機情報取得部と、
前記複数の給湯機それぞれについて、第1時点よりも予め設定された基準時間だけ前の第2時点から前記第1時点までの間における前記給湯機情報に基づいて算出された前記少なくとも1つの特徴量から推定される追加沸き上げの発生確率に基づいて、前記第1時点から前記第1時点よりも前記基準時間だけ後の第3時点までの間における沸き上げ時間帯の変更可否を判定する沸き上げ時間帯変更可否判定部と、
前記複数の給湯機それぞれについて判定された前記沸き上げ時間帯の変更可否に基づいて、前記複数の給湯機それぞれの稼働スケジュールを示すスケジュール情報を生成するスケジュール生成部と、を備える。
【発明の効果】
【0007】
本開示によれば、沸き上げ時間帯変更可否判定部が、複数の給湯機それぞれについて、第2時点から第1時点までの間における給湯機情報に基づいて算出された少なくとも1つの特徴量から推定される追加沸き上げの発生確率に基づいて、第1時点から第3時点までの間における沸き上げ時間帯の変更可否を判定する。そして、スケジュール生成部が、複数の給湯機それぞれについて判定された沸き上げ時間帯の変更可否に基づいて、複数の給湯機それぞれの稼働スケジュールを示すスケジュール情報を生成する。これにより、複数の給湯機のうち、追加沸き上げの発生確率が低い給湯機を除く給湯機について選択的に沸き上げ時間帯を変更する形で、複数の給湯機それぞれの稼働スケジュールを生成することができる。従って、複数の給湯機それぞれについて、稼働スケジュールに基づいて定められる沸き上げ時間帯に、追加沸き上げが必要となる時期が重複してしまうことを抑制できるので、複数の給湯機それぞれについて湯切れの発生を抑制することができる。
【図面の簡単な説明】
【0008】
本開示の実施の形態1に係る給湯システムの概略構成図
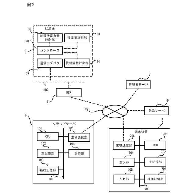
実施の形態1に係る給湯システムのハードウェア構成を示すブロック図
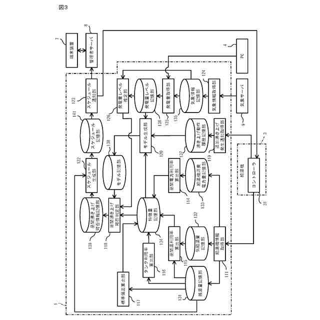
実施の形態1に係るクラウドサーバの機能構成を示すブロック図
(A)は実施の形態1に係る残湯量記憶部が記憶する情報の一例を示す図、(B)は実施の形態に係る供給湯量記憶部が記憶する情報の一例を示す図
実施の形態1に係る給湯機消費電力量記憶部が記憶する情報の一例を示す図
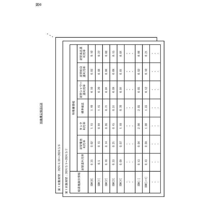
実施の形態1に係る特徴量記憶部が記憶する情報の一例を示す図
(A)は実施の形態1に係る気象情報記憶部が記憶する情報の一例を示す図、(B)は実施の形態1に係る発電量レベル記憶部が記憶する情報の一例を示す図
実施の形態1に係る沸き上げ動作履歴記憶部が記憶する情報の一例を示す図
実施の形態1に係る追加沸き上げ発生確率推定モデルの一例を示す図
実施の形態1に係る給湯システムの動作の一例を示すシーケンス図
実施の形態1に係る給湯システムの動作の一例を示すシーケンス図
実施の形態1に係る給湯システムの動作の一例を示すシーケンス図
実施の形態1に係るクラウドサーバが実行する給湯機制御処理の流れの一例を示すフローチャート
実施の形態1に係るクラウドサーバが実行する給湯機制御処理の流れの一例を示すフローチャート
実施の形態1に係るクラウドサーバが実行するモデル更新処理の流れの一例を示すフローチャート
本開示の実施の形態2に係る給湯システムの概略構成図
実施の形態2に係るクラウドサーバの機能構成を示すブロック図
実施の形態2に係る給湯システムの動作の一例を示すシーケンス図
実施の形態2に係る給湯システムの動作の一例を示すシーケンス図
実施の形態2に係るクラウドサーバが実行する給湯機制御処理の流れの一例を示すフローチャート
変形例に係る給湯機の操作機器の表示部に表示される操作画面画像の一例を示す図
変形例に係る端末装置の表示部に表示される給湯機動作状況通知画像の一例を示す図
変形例に係るクラウドサーバの機能構成を示すブロック図
【発明を実施するための形態】
【0009】
(実施の形態1)
以下、本開示の各実施の形態に係る給湯機制御装置について、図面を参照しながら説明する。本実施の形態に係る給湯機制御装置は、複数の給湯機それぞれについて沸き上げた湯の使用状況の特徴を示す少なくとも1つの特徴量を算出するための給湯機情報を取得する給湯機情報取得部と、複数の給湯機それぞれについて、第1時点よりも予め設定された基準時間だけ前の第2時点から第1時点までの間における給湯機情報に基づいて算出された少なくとも1つの特徴量から推定される追加沸き上げの発生確率に基づいて、第1時点から第1時点よりも基準時間だけ後の第3時点までの間における沸き上げ時間帯の変更可否を判定する沸き上げ時間帯変更可否判定部と、複数の給湯機それぞれについて判定された沸き上げ時間帯の変更可否に基づいて、複数の給湯機それぞれの稼働スケジュールを示すスケジュール情報を生成するスケジュール生成部と、を備える。
【0010】
本実施の形態に係る給湯システムは、例えば図1に示すような、複数の住宅H[0]、H[1]、・・・、H[i]、・・・(iは0以上の整数)それぞれに設置された給湯機3と、自然エネルギを利用した発電設備5で発電される電力を、住宅H[i]それぞれに設置された給湯機3を含む機器(図示せず)へ供給するパワーコンディショナ4と、を備える。各住宅H[i]には、給湯機3およびパワーコンディショナ4と局所ネットワークNW2を介して通信可能なブロードバンドルータ(以下、「BBR」と称する。)61が設置されている。BBR61は、インターネットのような広域ネットワークNW1に接続されている。局所ネットワークNW2は、無線LAN(Local Area Network)または有線LANである。また、本実施の形態に係る給湯システムは、住宅H[i]それぞれに設置された給湯機3を管理するいわゆるアグリゲータが管理する端末装置7と、クラウドサーバ1と、を備える。端末装置7とクラウドサーバ1とは、広域ネットワークNW1を介して通信可能となっている。
(【0011】以降は省略されています)
この特許をJ-PlatPat(特許庁公式サイト)で参照する
関連特許
三菱電機株式会社
冷蔵庫
1日前
三菱電機株式会社
電気機器
1日前
三菱電機株式会社
回路遮断器
9日前
三菱電機株式会社
加熱調理器
9日前
三菱電機株式会社
半導体装置
1日前
三菱電機株式会社
空気清浄装置
9日前
三菱電機株式会社
電磁波発生装置
1日前
三菱電機株式会社
照明制御システム
1日前
三菱電機株式会社
空気調和機の室内機
9日前
三菱電機株式会社
ヒートポンプ給湯装置
9日前
三菱電機株式会社
点灯装置および照明器具
1日前
三菱電機株式会社
電力用半導体装置及びその製造方法
1日前
三菱電機株式会社
音響制御装置及び音響制御プログラム
7日前
三菱電機株式会社
撮像位置推定装置及び撮像位置推定方法
1日前
三菱電機株式会社
通信装置、通信方法および通信プログラム
1日前
三菱電機株式会社
電力半導体装置、及び、電力半導体装置の製造方法
1日前
三菱電機株式会社
防火ダンパー、防火ダンパー装置及び換気システム
2日前
三菱電機株式会社
文書処理システム、文書処理方法、及び、プログラム
9日前
三菱電機株式会社
情報処理装置、学習装置、提案システム及び空調システム
1日前
三菱電機株式会社
空気調和装置
14日前
三菱電機株式会社
給湯機制御装置、給湯システム、給湯機制御方法およびプログラム
9日前
三菱電機株式会社
設備台帳生成システム、設備台帳生成方法および設備台帳生成プログラム
1日前
三菱電機株式会社
絶縁被膜付平角線の成形切断装置および絶縁被膜付平角線の成形切断方法
1日前
三菱電機株式会社
需要予測装置、需要予測システム、需要予測モデル生成方法およびプログラム
7日前
三菱電機株式会社
周波数制御装置、光伝送システム、周波数制御方法、及び周波数制御プログラム
2日前
三菱電機株式会社
障害物行動予測装置、移動体制御装置、障害物行動予測方法、及び移動体制御方法
1日前
三菱電機株式会社
溶接管の製造方法、溶接管の製造装置および溶接管
1日前
三菱電機株式会社
固定子、回転電機、固定子の製造方法、および、回転電機の製造方法
14日前
三菱電機ビルソリューションズ株式会社
エレベーター監視装置、エレベーター監視方法、エレベーター監視プログラム、及び記録媒体
2日前
個人
集熱器具
14日前
株式会社トヨトミ
五徳
28日前
株式会社コロナ
空調装置
1か月前
個人
油ハネ防止カーテン
17日前
個人
UFO型空気清浄機
2日前
株式会社コロナ
空調装置
28日前
株式会社コロナ
空調装置
28日前
続きを見る
他の特許を見る