TOP
|
特許
|
意匠
|
商標
特許ウォッチ
Twitter
他の特許を見る
公開番号
2025168821
公報種別
公開特許公報(A)
公開日
2025-11-12
出願番号
2024073604
出願日
2024-04-30
発明の名称
マイクロダーマブレーション装置
出願人
ロレアル
,
L’OREAL
代理人
個人
,
個人
,
個人
主分類
A61B
17/00 20060101AFI20251105BHJP(医学または獣医学;衛生学)
要約
【課題】ユーザが吸込口を皮膚と接触させて研磨面で皮膚を覆うことを容易にするマイクロダーマブレーション装置を提供すること。
【解決手段】マイクロダーマブレーション装置は、皮膚と接触するリング状の研磨面を備えた研磨先端部と、研磨先端部の吸込口と連通している吸引経路に陰圧力をかける陰圧源と、陰圧源の動作を制御する制御回路とを含み、研磨面には、皮膚との接触を検出する検出手段が設けられており、制御回路は、検出手段が皮膚との研磨面の接触を検出すると、陰圧源を動作させるように構成されている。
【選択図】図1
特許請求の範囲
【請求項1】
皮膚と接触するリング状の研磨面を備えた研磨先端部と、
前記研磨先端部の吸込口と連通している吸引経路に陰圧力をかける陰圧源と、
前記陰圧源の動作を制御する制御回路と、
を含み、
前記研磨面には、前記皮膚との接触を検出する検出手段が設けられており、
前記制御回路は、前記検出手段が前記皮膚との前記研磨面の前記接触を検出すると、前記陰圧源を動作させるように構成されている、マイクロダーマブレーション装置。
続きを表示(約 700 文字)
【請求項2】
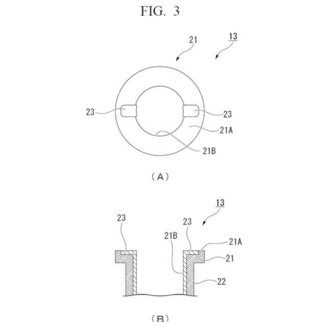
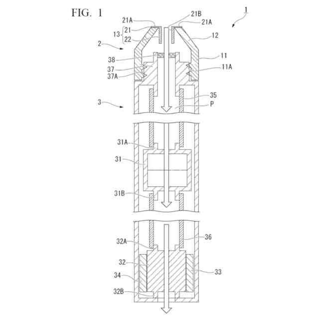
周方向スペースを有する前記吸込口の周囲には、一対の前記検出手段が配設されており、
前記制御回路は、一対の前記検出手段の両方が前記皮膚との前記研磨面の接触を検出すると、前記陰圧源を動作させるように構成されている、請求項1に記載のマイクロダーマブレーション装置。
【請求項3】
一対の前記検出手段は、前記吸込口を挟んで対向する側に配設されている、請求項2に記載のマイクロダーマブレーション装置。
【請求項4】
一対の前記検出手段は、前記研磨面上に設けられており、かつ導電領域間の非導電領域を有する前記吸込口の周囲に配設されている、一対の導電領域である、請求項2に記載のマイクロダーマブレーション装置。
【請求項5】
前記研磨先端部は導電性材料で形成されており、
前記研磨先端部は、前記吸込口の周囲で、複数の部分に分割されており、絶縁材料が前記導電部分間に配設されており、
複数の前記導電部分は前記導電領域を構成する、請求項4に記載のマイクロダーマブレーション装置。
【請求項6】
前記研磨先端部は絶縁材料で形成されており、
前記研磨面には、前記導電領域として一対の電極が設けられている、請求項4に記載のマイクロダーマブレーション装置。
【請求項7】
前記研磨先端部が設けられており、かつ前記陰圧源と前記制御回路とを含有する手持型ハウジングをさらに含み、
前記ハウジングは、前記陰圧源に電力を供給する電池を含有する、請求項1に記載のマイクロダーマブレーション装置。
発明の詳細な説明
【技術分野】
【0001】
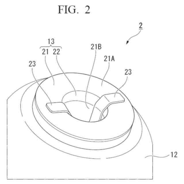
本願は、マイクロダーマブレーション装置に関する。
続きを表示(約 2,100 文字)
【背景技術】
【0002】
従来、マイクロダーマブレーションは、角質を除去するための処置として実施されて来た。マイクロダーマブレーションでは、その中心部分に吸込口を備えた研磨面が皮膚と接触させられ、面は、吸込口から皮膚を吸引しながら、皮膚に沿って移動する。それにより、研磨面は角質を除去し、吸込口を通して除去された角質を吸引し、それらを収集する。例えば、特許文献1がマイクロダーマブレーション装置を開示している。そのようなマイクロダーマブレーション装置は、その遠位端に研磨面を備えて形成されている研磨先端部を含む。研磨先端部は、通常、金属材料で形成されており、研磨面には、(ダイヤモンド粒子などの)研磨粒子が取り付けられている。
【0003】
吸込口を皮膚で効率的に封止して、陰圧で吸込口内へ皮膚を吸引するために、面を皮膚に平行にさせながら、研磨面が皮膚と接触させられる必要がある。例えば、実行者などの第三者がマイクロダーマブレーションを実施する場合、ユーザは、面を皮膚に平行にさせながら、皮膚との研磨面の接触を確認することができ、ユーザにとって、皮膚で吸込口を効率的に封止することは容易である。
【0004】
しかしながら、家庭用では、ユーザがユーザの皮膚上でマイクロダーマブレーションを実施する場合、ユーザの顔の輪郭に従って研磨面を傾けることによって、ユーザが研磨面を皮膚と接触させる必要がある。したがって、ユーザは、ユーザが皮膚との研磨面の接触状態を確認することができない間、マイクロダーマブレーション装置を直感的に操作する必要がある。さらに、研磨面は皮膚と接触するので、ユーザは、鏡によって、研磨面が皮膚に平行であるかどうかを確認することができない。
【0005】
さらに、マイクロダーマブレーションを実施する場合、吸込口を通して皮膚を吸引し、かつ皮膚を持ち上げながら、皮膚に沿って研磨面を移動させることが好ましい。しかしながら、吸込口を封止するように皮膚が吸込口と接触しない場合、マイクロダーマブレーションは効果が低い可能性がある。
【先行技術文献】
【特許文献】
【0006】
米国特許出願公開第2012/0209294号明細書
【発明の概要】
【発明が解決しようとする課題】
【0007】
したがって、本発明の目的は、ユーザが吸込口を皮膚と接触させて研磨面で皮膚を覆うことを容易にするマイクロダーマブレーション装置を提供することである。
【課題を解決するための手段】
【0008】
本発明は、上記の問題を解決する次の手段を採用する。マイクロダーマブレーション装置は、皮膚と接触するリング状の研磨面を備えた研磨先端部と、研磨先端部の吸込口と連通している吸引経路に陰圧力をかける陰圧源と、陰圧源の動作を制御する制御回路とを含み、研磨面には、皮膚との接触を検出する検出手段が設けられており、制御回路は、検出手段が皮膚との研磨面の接触を検出すると、陰圧源を動作させるように構成されている。
【0009】
本発明によれば、研磨面に設けられている検出手段が皮膚と接触すると、制御回路は皮膚との研磨面の接触を検出し、陰圧源を作動させる。したがって、陰圧源はその動作を開始し、研磨面の吸込口内に位置する皮膚は吸込口内に吸引される。次に、皮膚に沿って研磨面を移動させることによって、角質が皮膚から除去され、除去された角質粒子は吸込口を通して吸引される。他方、検出手段が皮膚と接触しない場合、制御回路は皮膚との検出手段の接触を検出せず、陰圧源を作動させない。さらに、研磨先端部が傾けられかつ制御回路が皮膚との研磨面の接触を再度検出すると、制御回路は陰圧源を作動させる。このようにして、研磨面、具体的には検出手段が皮膚と接触している間に、陰圧源が動作する。したがって、ユーザが皮膚との研磨面の接触状態を確認することができない場合にも、ユーザは皮膚との研磨面の接触状態を直感的に認識することができる。さらに、研磨面が皮膚と接触しない場合、陰圧源の動作は一時中断される。したがって、マイクロダーマブレーション装置は、ユーザが研磨面を皮膚と正しく接触させることを容易にする。その上、陰圧源を動作させるための、マイクロダーマブレーション装置上に設けられている別個のスイッチを比較すると、陰圧源が動作している間に、ユーザが研磨面を皮膚と接触させる必要がない。したがって、研磨面が皮膚と接触しない場合にも陰圧源が動作することを回避することによって、陰圧源を動作させるための電力が節約され得る。
【0010】
さらに、一対の検出手段が、周方向スペースを有する吸込口の周囲に配設されていてもよく、制御回路は、一対の検出手段の両方が皮膚との研磨面の接触を検出すると、陰圧源を動作させるように構成され得る。
(【0011】以降は省略されています)
この特許をJ-PlatPat(特許庁公式サイト)で参照する
関連特許
ロレアル
マイクロダーマブレーション装置
7日前
ロレアル
まつ毛に好適な組成物
5日前
ロレアル
菌株、組成物および使用方法
14日前
ロレアル
化粧品材料の分注のための装置およびシステム
14日前
個人
貼付剤
23日前
個人
簡易担架
5日前
個人
短下肢装具
4か月前
個人
足踏み器具
12日前
個人
腋臭防止剤
5日前
個人
排尿補助器具
1か月前
個人
嚥下鍛錬装置
4か月前
個人
前腕誘導装置
4か月前
個人
腰ベルト
26日前
個人
バッグ式オムツ
5か月前
個人
アイマスク装置
2か月前
個人
汚れ防止シート
1か月前
個人
歯の修復用材料
4か月前
個人
胸骨圧迫補助具
2か月前
個人
ウォート指圧法
1か月前
個人
陣痛緩和具
4か月前
個人
湿布連続貼り機。
3か月前
個人
排尿排便補助器具
7日前
個人
哺乳瓶冷まし容器
3か月前
個人
美容セット
14日前
個人
性行為補助具
3か月前
株式会社コーセー
化粧料
1か月前
個人
エア誘導コルセット
2か月前
株式会社大野
骨壷
4か月前
個人
治療用酸化防御装置
2か月前
株式会社ニデック
眼科装置
5か月前
個人
精力増強キット
1か月前
個人
手指運動ツール
3か月前
株式会社ニデック
検眼装置
4か月前
個人
こむら返り応急治し具
12日前
株式会社松風
口腔用組成物
4か月前
株式会社ニデック
眼科装置
2か月前
続きを見る
他の特許を見る