TOP
|
特許
|
意匠
|
商標
特許ウォッチ
Twitter
他の特許を見る
10個以上の画像は省略されています。
公開番号
2025168584
公報種別
公開特許公報(A)
公開日
2025-11-07
出願番号
2025149161,2022526621
出願日
2025-09-09,2021-05-26
発明の名称
認知機能検査プログラム及び認知機能検査システム
出願人
株式会社トータルブレインケア
,
レデックス株式会社
代理人
個人
,
個人
,
個人
,
個人
主分類
A61B
10/00 20060101AFI20251030BHJP(医学または獣医学;衛生学)
要約
【課題】認知機能の低下を早期に捉えることができる認知機能検査プログラム及び認知機能検査装置を提供することである。
【解決手段】コンピュータにより実行される認知機能検査プログラムであって、前記コンピュータに、認知機能の検査に関するタスクに対応付けられたゲームを進行させるステップと、前記ゲームのプレイ時の前記被検査者による入力を受け付けるステップと、前記被検査者による入力に基づき認知機能を測定するステップと、前記測定した結果を出力するステップと、を実行させ、前記タスクは、再認のタスクを含む、ことを特徴とする。
【選択図】図1
特許請求の範囲
【請求項1】
コンピュータにより実行される認知機能検査プログラムであって、
前記コンピュータに、
認知機能の検査に関するタスクに対応付けられたゲームを進行させるステップと、
前記ゲームのプレイ時の被検査者による入力を受け付けるステップと、
前記被検査者による入力に基づき認知機能を評価するステップと、
前記評価した結果を出力するステップと、
を実行させ、
前記タスクは、記憶の認知機能を評価するタスクを有し、
前記記憶の認知機能を評価するタスクは、記憶する言葉の内容として1つのグループに概念の異なるものが入るように選択する、
ことを特徴とする認知機能検査プログラム。
続きを表示(約 370 文字)
【請求項2】
認知機能検査システムであって、
前記認知機能検査システムは、
認知機能検査プログラムを記憶する記憶部と、
前記認知機能検査プログラムを実行することにより、前記認知機能検査システムの動作を制御する制御部と、を備え、
前記制御部は、
認知機能の検査に関するタスクに対応付けられたゲームを進行させ、
前記ゲームのプレイ時の被検査者による入力を受け付け、
前記被検査者による入力に基づき認知機能を評価し、
前記評価した結果を出力し、
前記タスクは、記憶の認知機能を評価するタスクを有し、
前記記憶の認知機能を評価するタスクは、記憶する言葉の内容として1つのグループに概念の異なるものが入るように選択する、
ことを特徴とする認知機能検査システム。
発明の詳細な説明
【技術分野】
【0001】
本発明は、被検査者の認知機能を検査する認知機能検査プログラム及び認知機能検査システムに関する。
続きを表示(約 3,900 文字)
【背景技術】
【0002】
従来、認知症などの認知障害の診断のため、被検査者の認知機能を検査する認知機能検査装置が知られている。例えば特許文献1では、複数の認知機能を同一のスケールによって評価することが可能な認知機能測定システムを提供しようにしている。
【先行技術文献】
【特許文献】
【0003】
特開2019-208758号公報
【発明の概要】
【発明が解決しようとする課題】
【0004】
しかし、特許文献1に記載の認知機能測定システムでは、複数の認知機能を同一のスケールによって評価しようとしているが、検査結果の再現性が不十分であり、このため診断精度が医師による診断の支援に活用できるレベルに達していないという問題があった。
【0005】
本発明は以上のような課題を解決するためになされたものであり、認知機能の低下を早期に捉えることができる認知機能検査プログラム及び認知機能検査装置を提供することを目的とする。
【課題を解決するための手段】
【0006】
上記課題を解決するために、本発明は、コンピュータにより実行される認知機能検査プログラムであって、前記コンピュータに、認知機能の検査に関するタスクに対応付けられたゲームを進行させるステップと、前記ゲームのプレイ時の被検査者による入力を受け付けるステップと、前記被検査者による入力に基づき認知機能を評価するステップと、前記評価した結果を出力するステップと、を実行させ、前記タスクは、記憶の認知機能を評価するタスクを有し、前記記憶の認知機能を評価するタスクは、記憶する言葉の内容として1つのグループに概念の異なるものが入るように選択する、ことを特徴とする。
【発明の効果】
【0007】
本発明によれば、認知機能の低下を早期に捉えることができる認知機能検査プログラム及び認知機能検査装置を提供することができる。
【図面の簡単な説明】
【0008】
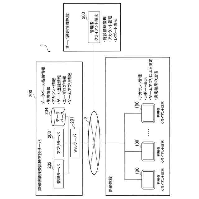
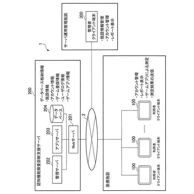
認知機能検査システム1のハードウェア構成を示す図である。
認知機能検査システム1の機能的構成を示す図である。
認知機能検査システム1における管理者クライアント端末300の動作を示すフローチャートである。
認知機能検査システム1における利用者クライアント端末100(測定用アカウントおよび医師用アカウント)の動作を示すフローチャートである。
認知機能検査システム1における利用者クライアント端末100(管理用アカウント)の動作を示すフローチャートである。
特に好ましい実施態様の認知機能検査システム1で評価される認知機能の各要素の種類を示す表図である。
トップ画面を示す図である。
操作開始画面を示す図であり、ここでタッチペンの使い方を確認する。
主に見当識の認知機能を評価するタスクに対応付けられた具体的なゲームの開始画面を示す図である。
主に見当識の認知機能を評価する具体的なゲームの問題例を示す図である。
主に記憶(即時再認)の認知機能を評価するタスクに対応付けられた具体的なゲームの開始画面を示す図である。
主に記憶(即時再認)の認知機能を評価する具体的なゲームの一例を示す図であり、記憶すべき言葉が示されている。
主に記憶(即時再認)の認知機能を評価する具体的なゲームの一例を示す図であり選択肢が示されている。
主に記憶(即時再認)の認知機能を評価する具体的なゲームの一例を示す図であり、図12で表示された単語の数を超えて選択しようとした場合に表示される画面である。
主に記憶(即時再認)の認知機能を評価するゲーム終了後に、再度選択することを予告する画面を示す図である。
主に視空間認知の認知機能を評価するタスクに対応付けられた具体的なゲームの開始画面を示す図である。
主に視空間認知の認知機能を評価する具体的なゲームの練習問題の開始画面を示す図である。
主に視空間認知の認知機能を評価する具体的なゲームの練習問題の説明画面を示す図である。
主に視空間認知の認知機能を評価する具体的なゲームの練習問題の一例を示す図である。
主に視空間認知の認知機能を評価する具体的なゲームの練習問題で中央の図形を選択したときに表示する画面を示す図である。
主に視空間認知の認知機能を評価する具体的なゲームの練習問題の繰り返しを選択可能な画面を示す図である。
主に視空間認知の認知機能を評価する具体的なゲームの本番問題の開始画面を示す図である。
主に視空間認知の認知機能を評価する具体的なゲームの本番問題の一例を示す図である。
主に記憶(遅延再認)の認知機能を評価するタスクに対応付けられた具体的なゲームの開始画面を示す図である。
主に記憶(遅延再認)の認知機能を評価する具体的なゲームの一例を示す図である。
主に記憶(ワーキングメモリ/短期記憶)の認知機能を評価するタスクに対応付けられた具体的なゲームの開始画面を示す図である。
主に記憶(ワーキングメモリ/短期記憶)の認知機能を評価する具体的なゲームの練習問題の開始画面を示す図である。
主に記憶(ワーキングメモリ/短期記憶)の認知機能を評価する具体的なゲームの練習問題の一例を示す図である。
主に記憶(ワーキングメモリ/短期記憶)の認知機能を評価する具体的なゲームの練習問題の一例を示す図である。
主に記憶(ワーキングメモリ/短期記憶)の認知機能を評価する具体的なゲームの練習問題の一例を示す図である。
主に記憶(ワーキングメモリ/短期記憶)の認知機能を評価する具体的なゲームの練習問題の繰り返しを選択可能な画面を示す図である。
主に記憶(ワーキングメモリ/短期記憶)の認知機能を評価する具体的なゲームの本番問題の開始画面を示す図である。
主に注意の認知機能を評価するタスクに対応付けられた具体的なゲームの開始画面を示す図である。
主に注意の認知機能を評価する具体的なゲームの練習問題の開始画面を示す図である。
主に注意の認知機能を評価する具体的なゲームの練習問題の一例を示す図である。
主に注意の認知機能を評価する具体的なゲームの練習問題の繰り返しを選択可能な画面を示す図である。
主に注意の認知機能を評価する具体的なゲームの本番問題の開始画面を示す図である。
主に注意の認知機能を評価する具体的なゲームの本番問題の一例を示す図である。
主に注意の認知機能を評価する具体的なゲームの本番問題の一例を示す図である。
主に遂行機能の認知機能を評価するタスクに対応付けられた具体的なゲームの開始画面を示す図である。
主に遂行機能の認知機能を評価する具体的なゲームの練習問題の開始画面を示す図である。
主に遂行機能の認知機能を評価する具体的なゲームの練習問題の説明画面を示す図である。
主に遂行機能の認知機能を評価する具体的なゲームの練習問題の一例を示す図である。
主に遂行機能の認知機能を評価する具体的なゲームの練習問題の繰り返しを選択可能な画面を示す図である。
主に遂行機能の認知機能を評価する具体的なゲームの本番問題の開始画面を示す図である。
主に遂行機能の認知機能を評価する具体的なゲームの本番問題の一例を示す図である。
主に遂行機能の認知機能を評価する具体的なゲームの本番問題の一例を示す図である。
終了画面を示す図である。
【発明を実施するための形態】
【0009】
〔実施形態1〕
本開示に係る認知機能検査システムは、複数のユーザに、認知機能を検査するゲームを提供するためのシステムである。以下、認知機能検査システムについて図面を参照しつつ説明する。なお、本発明はこれらの例示に限定されるものではなく、特許請求の範囲によって示され、特許請求の範囲と均等の意味及び範囲内でのすべての変更が本発明に含まれることが意図される。以下の説明では、図面の説明において同一の要素には同一の符号を付し、重複する説明を繰り返さない。
【0010】
<認知機能検査システム1のハードウェア構成>
図1は、認知機能検査システム1のハードウェア構成を示す図である。認知機能検査システム1は図示の通り、複数の利用者クライアント端末100と、認知機能検査診断支援サーバ200と、管理者クライアント端末300と、を含む。利用者クライアント端末100及び管理者クライアント端末300は、認知機能検査診断支援サーバ200とネットワーク2を介して接続する。ネットワーク2は、インターネットなどの有線及び無線通信システムである。本実施形態に係る認知機能検査プログラム自体及びプログラムの実行に必要なデータは、利用者クライアント端末100、認知機能検査診断支援サーバ200及び管理者クライアント端末300の記憶装置(不図示)に記憶される。
(【0011】以降は省略されています)
この特許をJ-PlatPat(特許庁公式サイト)で参照する
関連特許
個人
貼付剤
14日前
個人
健康器具
8か月前
個人
足踏み器具
3日前
個人
鼾防止用具
8か月前
個人
短下肢装具
3か月前
個人
導電香
9か月前
個人
脈波測定方法
8か月前
個人
脈波測定方法
8か月前
個人
白内障治療法
8か月前
個人
マッサージ機
9か月前
個人
嚥下鍛錬装置
4か月前
個人
排尿補助器具
27日前
個人
前腕誘導装置
3か月前
個人
洗井間専家。
7か月前
個人
汚れ防止シート
1か月前
個人
矯正椅子
5か月前
個人
ウォート指圧法
25日前
個人
ホバーアイロン
7か月前
個人
歯の修復用材料
4か月前
個人
バッグ式オムツ
4か月前
個人
腰ベルト
17日前
個人
アイマスク装置
2か月前
個人
胸骨圧迫補助具
2か月前
個人
車椅子持ち上げ器
8か月前
個人
陣痛緩和具
4か月前
個人
美容セット
5日前
個人
哺乳瓶冷まし容器
3か月前
個人
歯の保護用シール
5か月前
個人
湿布連続貼り機。
2か月前
個人
口内洗浄具
8か月前
三生医薬株式会社
錠剤
7か月前
個人
シャンプー
6か月前
株式会社結心
手袋
8か月前
株式会社大野
骨壷
4か月前
個人
エア誘導コルセット
2か月前
株式会社 MTG
浴用剤
9か月前
続きを見る
他の特許を見る