TOP
|
特許
|
意匠
|
商標
特許ウォッチ
Twitter
他の特許を見る
公開番号
2025168497
公報種別
公開特許公報(A)
公開日
2025-11-07
出願番号
2025146244,2021006461
出願日
2025-09-03,2021-01-19
発明の名称
反応チャンバ圧力の安定化のためのシステム及び方法
出願人
エーエスエム・アイピー・ホールディング・ベー・フェー
代理人
個人
,
個人
,
個人
主分類
H01L
21/31 20060101AFI20251030BHJP(基本的電気素子)
要約
【課題】反応チャンバ圧力の安定化のためのシステム及び方法を提供する。
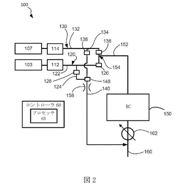
【解決手段】反応器システムは、第一のガス源と、第二のガス源と、第一のガス源及び第二のガス源に流体連結された反応チャンバとを備えてもよく、第一のガス及び第二のガスはそれぞれ、第一のガス源及び第二のガス源から反応チャンバに供給されて、反応チャンバ圧力の安定性を達成してもよい。反応器システムは、反応チャンバから下流で反応チャンバに流体連結された排気ラインと、第一のガス源及び/又は第二のガス源、ならびに排気ラインに流体連結され、反応チャンバを迂回するベントラインと、ベントライン内のベントライン圧力を監視するように構成される、ベントラインに連結された圧力モニタと、及び/又はベントラインに連結され、且つ圧力モニタからのフィードバックに応答して調整するように構成されるベントラインコンダクタンス制御バルブとをさらに備えてもよい。
【選択図】図1
特許請求の範囲
【請求項1】
反応器システムであって、
第一のガス源と、
前記第一のガス源に流体連結された第一のガス供給経路と、
第二のガス源と、
前記第二のガス源に流体連結された第二のガス供給経路と、
前記第一のガス供給経路及び前記第二のガス供給経路に流体連結された反応チャンバであって、前記第一のガス供給経路は第一のガス供給経路端部で前記反応チャンバに流体連結され、前記第二のガス供給経路は第二のガス供給経路端部で前記反応チャンバに流体連結される、反応チャンバと、を備え、
第一のガスが前記第一のガス源から前記反応チャンバに供給され、第二のガスが前記第二のガス源から前記反応チャンバに供給されて、反応チャンバ圧力の安定性を達成し、
前記反応チャンバから下流で前記反応チャンバに流体連結された排気ラインと、
前記第一のガス供給経路及び前記第二のガス供給経路のうちの少なくとも一つ、ならびに前記排気ラインに流体連結され、前記反応チャンバを迂回する、ベントラインと、
前記ベントラインに連結され、前記ベントライン内のベントライン圧力を監視するように構成される、圧力モニタと、
前記ベントラインに連結されたベントラインコンダクタンス制御バルブであって、ベントラインコンダクタンス制御バルブが前記圧力モニタからのフィードバックに応答して調整するように構成される、ベントラインコンダクタンス制御バルブと、を備える、反応器システム。
続きを表示(約 2,200 文字)
【請求項2】
前記反応チャンバが、チャンバ入口経路を介して前記第一のガス供給経路及び前記第二のガス供給経路に流体連結され、前記第一のガス供給経路は前記第一のガス供給経路端部で前記チャンバ入口経路に流体連結され、前記第二のガス供給経路は前記第二のガス供給経路端部で前記チャンバ入口経路に流体連結される、請求項1に記載の反応器システム。
【請求項3】
前記第一のガス供給経路が、第一のガス主ライン及び第一のガス分岐ラインを備え、前記第一のガス主ラインは前記反応チャンバと流体連通し、前記第一のガス分岐ラインは前記ベントラインと流体連通する、請求項1に記載の反応器システム。
【請求項4】
前記第二のガス供給経路が、第二のガス主ライン及び第二のガス分岐ラインを備え、前記第二のガス主ラインは前記反応チャンバと流体連通し、前記第二のガス分岐ラインは前記ベントラインと流体連通する、請求項3に記載の反応器システム。
【請求項5】
前記第一のガス主ラインが、前記反応チャンバの上流及び前記第一のガス分岐ラインの下流に配置された第一のガス主ラインバルブを備え、前記第一のガス分岐ラインは第一の分岐ラインバルブを備え、
前記第二のガス主ラインが、前記反応チャンバの上流及び前記第二のガス分岐ラインの下流に配置された第二の主ラインバルブを備え、前記第二のガス分岐ラインは第二の分岐ラインバルブを備え、前記第一の主ラインバルブと、第二の主ラインバルブと、第一の分岐ラインバルブと、前記第二の分岐ラインバルブとは、それぞれ前記第一のガス主ラインと、前記第二のガス主ラインと、前記第一のガス分岐ラインと、前記第二のガス分岐ラインとを通るガス流を少なくとも部分的に増加又は減少させるように構成される、請求項4に記載の反応器システム。
【請求項6】
前記圧力モニタ及び前記ベントラインコンダクタンス制御バルブと電子通信するプロセッサと、
前記プロセッサと通信するように構成された有形の非一時的メモリであって、前記プロセッサによる実行に応答して、前記プロセッサに、
前記圧力モニタによって、前記ベントライン内の前記ベントライン圧力を監視することと、
前記プロセッサによって、前記ベントライン圧力の変化を検出することと、
前記プロセッサによって、前記ベントライン圧力の前記変化の前記検出に応答して、前記ベントラインコンダクタンス制御バルブのバルブ位置をより開く又はより閉じるように、前記ベントラインコンダクタンス制御バルブの調整を命令することと、を含む動作を実施させる命令を格納して有する、有形の非一時的メモリと、をさらに備える、請求項4に記載の反応器システム。
【請求項7】
前記ベントライン圧力の前記変化の前記検出が、前記ベントライン圧力と前記反応チャンバの前記反応チャンバ圧力との間の差を検出することを含み、前記ベントラインコンダクタンス制御バルブによる前記調整は、前記ベントライン圧力と前記反応チャンバ圧力との差をより小さくするように構成される、請求項6に記載の反応器システム。
【請求項8】
反応チャンバが反応チャンバの所望の圧力レベルを備えるように、第一のガス源から前記反応チャンバに第一のガスを流すことと、
前記第一のガスを前記第一のガス源から前記反応チャンバに流す間に、第二のガス源から前記反応チャンバの下流の排気ラインに、ベントラインを介して第二のガスを流すことであって、前記ベントラインは前記第二のガス源及び前記排気ラインと流体連通し、且つ前記反応チャンバを迂回する、第二のガスを流すことと、
前記第一のガスの前記反応チャンバへの前記流れを停止させることと、
前記第二のガスの前記排気ラインへの前記流れを減少又は停止させることのうちの少なくとも一つと、
前記反応チャンバが前記反応チャンバの所望の圧力レベルを維持するように、前記第二のガスの前記排気ラインへの前記流れを前記減少又は停止させることのうちの少なくとも一つに応答して、前記第二のガスを前記反応チャンバに流すことと、
前記ベントラインに連結された圧力モニタを介して、前記ベントラインのベントライン圧力を監視することと、
前記圧力モニタによって検出される前記ベントライン圧力に基づいて、前記ベントラインに連結されたベントラインコンダクタンス制御バルブを調整することと、を含む、方法。
【請求項9】
圧力モニタから圧力フィードバックを受信し、且つ前記ベントラインコンダクタンス制御バルブに命令を送信することにより前記ベントラインコンダクタンス制御バルブを前記調整するプロセッサを介して、前記圧力モニタが、前記ベントラインコンダクタンス制御バルブと電子通信する、請求項8に記載の方法。
【請求項10】
前記第一のガスの前記反応チャンバへの前記流れを前記停止させることが起こる間に、前記第二のガスの前記排気ラインへの前記流れを前記減少又は停止させることのうちの少なくとも一つが起こる、請求項8に記載の方法。
(【請求項11】以降は省略されています)
発明の詳細な説明
【技術分野】
【0001】
本開示は、一般に、反応チャンバ用のガス供給システムに関し、特に、反応チャンバにガスを供給する間の反応チャンバ圧力を安定化させる方法に関する。
続きを表示(約 3,100 文字)
【背景技術】
【0002】
反応チャンバは、半導体基材上へ様々な材料層を堆積させるために使用されてもよい。基材は、反応チャンバ内のサセプタ上に配置できる。基材及びサセプタの両方を、所望の基材温度設定点にまで加熱してもよい。例示の基材処理プロセスでは、一つ以上の反応ガスが、加熱された基材の上を通り、基材表面上に材料の薄膜の堆積を引き起こしてもよい。それに続く堆積、ドーピング、リソグラフィ、エッチング及び/又は他のプロセスを通して、これらの層が集積回路などのデバイスになる。
【0003】
任意の所与のプロセスについて、反応ガス及び/又は任意の副生ガスは、次いで、真空を介して排気されてもよく、及び/又は反応チャンバからパージされてもよい。例えば、膜を形成するために、反応ガスを含む材料の流量及び供給時間を制御することは、所望の結果及び所望のデバイス安定性を達成するために重要である。さらに、反応の前、反応中、及び/又は反応後に反応チャンバ内で実質的に一定の圧力を維持することは、結果として生じる基材上に堆積された層において所望の結果を達成することを容易にし得る。
【発明の概要】
【課題を解決するための手段】
【0004】
この発明の概要は、概念の選択を簡略化した形で紹介するように提供する。これらの概念について、以下の本開示の例示的な実施形態の「発明を実施するための形態」において、更に詳細に説明される。この発明の概要は、特許請求される主題の主要な特徴又は本質的な特徴を特定することを意図しておらず、又特許請求される主題の範囲を限定するために使用されることを意図していない。
【0005】
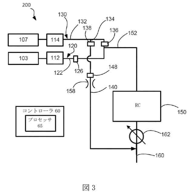
いくつかの実施形態では、反応器システムが提供される。本明細書に開示される反応器システムは、反応器システムの反応チャンバ内の圧力の安定化を可能にするガス供給システムを備えてもよい。したがって、例えば、反応チャンバ内のプロセス(堆積、エッチング、又は洗浄プロセスなど)の間に反応チャンバに供給されているガスを変化させることは、反応チャンバ圧力に物質的に影響を与えず、プロセス及びその結果に対する制御をより可能にすることができる。
【0006】
様々な実施形態において、反応器システムが、第一のガス源と、第一のガス源に流体連結された第一のガス供給経路と、第二のガス源と、第二のガス源に流体連結された第二のガス供給経路と、第一のガス供給経路及び第二のガス供給経路に流体連結された反応チャンバと、を備えてもよく、ここで第一のガス供給経路は第一のガス供給経路端部で反応チャンバに流体連結されてもよく、第二のガス供給経路は第二のガス供給経路端部で反応チャンバに流体連結されてもよく、第一のガスは第一のガス源から反応チャンバに供給されてもよく、第二のガスは第二のガス源から反応チャンバに供給されて反応チャンバ圧力の安定性を達成してもよく、又反応器システムが、反応チャンバから下流で反応チャンバに流体連結された排気ラインと、第一のガス供給経路及び第二のガス供給経路のうちの少なくとも一つ、ならびに排気ラインに流体連結され、且つ反応チャンバを迂回する、ベントラインと、ベントラインに連結されベントライン内のベントライン圧力を監視するように構成された圧力モニタと、及び/又はベントラインに連結され、圧力モニタからのフィードバックに応答して調整されるように構成されてもよい、ベントラインコンダクタンス制御バルブと、を備えてもよい。
【0007】
様々な実施形態において、反応チャンバが、チャンバ入口経路を介して第一のガス供給経路及び第二のガス供給経路に流体連結されてもよく、第一のガス供給経路は、第一のガス供給経路端部でチャンバ入口経路に流体連結されてもよく、第二のガス供給経路は、第二のガス供給経路端部でチャンバ入口経路に流体連結されてもよい。様々な実施形態において、第一のガス供給経路が、第一のガス主ラインと第一のガス分岐ラインとを備えてもよく、第一のガス主ラインは反応チャンバと流体連通してもよく、第一のガス分岐ラインはベントラインと流体連通してもよい。様々な実施形態において、第二のガス供給経路が、第二のガス主ラインと第二のガス分岐ラインとを備えてもよく、第二のガス主ラインは反応チャンバと流体連通してもよく、第二のガス分岐ラインはベントラインと流体連通してもよい。
【0008】
様々な実施形態において、第一のガス主ラインが、反応チャンバの上流及び第一のガス分岐ラインの下流に配置された第一の主ラインバルブを備えてもよく、第一のガス分岐ラインは第一の分岐ラインバルブを備えてもよい。第二のガス主ラインが、反応チャンバの上流及び第二のガス分岐ラインの下流に配置された第二の主ラインバルブを備えてもよく、第二のガス分岐ラインは第二の分岐ラインバルブを備えてもよく、第一の主ラインバルブ、第二の主ラインバルブ、第一の分岐ラインバルブ、及び第二の分岐バルブは、それぞれ第一のガス主ライン、第二のガス主ライン、第一のガス分岐ライン、及び第二のガス分岐ラインを通るガス流を少なくとも部分的に増加又は減少させるように構成されてもよい。
【0009】
様々な実施形態において、反応器システムが、圧力モニタ及びベントラインコンダクタンス制御バルブと電子通信するプロセッサと、プロセッサと通信するように構成され、プロセッサによる実行に応答してプロセッサに特定の動作を実行させるか又は実行を容易にさせる命令を格納して有する、有形の非一時的メモリと、をさらに備えてもよい。こうした動作は、圧力モニタによって、ベントライン内のベントライン圧力を監視すること、プロセッサによってベントライン圧力の変化を検出すること、及び/又はベントライン圧力の変化の検出に応答して、ベントラインコンダクタンス制御バルブのバルブ位置をより開く又はより閉じるように、プロセッサによって、ベントラインコンダクタンス制御バルブの調整を命令すること、を含み得る。様々な実施形態において、ベントライン圧力の変化の検出は、ベントライン圧力と反応チャンバ内の反応チャンバ圧力との間の差を検出することを含み得、ベントラインコンダクタンス制御バルブによる調整は、ベントライン圧力と反応チャンバ圧力との差を小さくするように構成され得る。
【0010】
様々な実施形態において、方法が、反応チャンバが反応チャンバの所望の圧力レベルを備えるように、第一のガスを第一のガス源から反応チャンバに流すこと;第一のガスを第一のガス源から反応チャンバに流す間に、第二のガスを第二のガス源から、第二のガス源及び排気ラインと流体連通してもよく且つ反応チャンバを迂回するベントラインを介して、反応チャンバの下流の排気ラインに流すこと;第一のガスの反応チャンバへの流れを止めること;第二のガスの排気ラインへの流れを減少及び/又は停止させること;反応チャンバが反応チャンバの所望の圧力レベルを維持し得るように、排気ラインへの第二のガスの流れを減少及び/又は停止させることに応答して、第二のガスを反応チャンバに流すこと;ベントラインに連結された圧力モニタを介して、ベントラインのベントライン圧力を監視すること、ならびに/あるいは圧力モニタによって検出されるベントライン圧力に基づいてベントラインに連結されたベントラインコンダクタンス制御バルブを調整すること、を含み得る。
(【0011】以降は省略されています)
この特許をJ-PlatPat(特許庁公式サイト)で参照する
関連特許
東ソー株式会社
絶縁電線
19日前
APB株式会社
蓄電セル
17日前
個人
フレキシブル電気化学素子
1か月前
ローム株式会社
半導体装置
1か月前
日新イオン機器株式会社
イオン源
27日前
株式会社東芝
端子台
11日前
ローム株式会社
半導体装置
18日前
株式会社ユーシン
操作装置
1か月前
マクセル株式会社
電源装置
11日前
ローム株式会社
半導体装置
1か月前
株式会社GSユアサ
蓄電装置
4日前
株式会社GSユアサ
蓄電装置
12日前
株式会社GSユアサ
蓄電装置
1か月前
株式会社ホロン
冷陰極電子源
25日前
太陽誘電株式会社
全固体電池
1か月前
太陽誘電株式会社
コイル部品
1か月前
株式会社GSユアサ
蓄電設備
1か月前
オムロン株式会社
電磁継電器
1か月前
株式会社GSユアサ
蓄電設備
1か月前
株式会社ホロン
冷陰極電子源
1か月前
株式会社GSユアサ
蓄電装置
12日前
日東電工株式会社
積層体
1か月前
北道電設株式会社
配電具カバー
17日前
ノリタケ株式会社
熱伝導シート
1か月前
日本特殊陶業株式会社
保持装置
1か月前
日本特殊陶業株式会社
保持装置
1か月前
サクサ株式会社
電池の固定構造
1か月前
日新イオン機器株式会社
基板処理装置
14日前
トヨタ自動車株式会社
バッテリ
1か月前
トヨタ自動車株式会社
バッテリ
17日前
TDK株式会社
電子部品
1か月前
トヨタ自動車株式会社
蓄電装置
1か月前
日本特殊陶業株式会社
保持装置
20日前
トヨタ自動車株式会社
蓄電装置
12日前
日本特殊陶業株式会社
保持装置
3日前
トヨタ自動車株式会社
冷却構造
19日前
続きを見る
他の特許を見る