TOP
|
特許
|
意匠
|
商標
特許ウォッチ
Twitter
他の特許を見る
公開番号
2025168470
公報種別
公開特許公報(A)
公開日
2025-11-07
出願番号
2025145738,2024140138
出願日
2025-09-02,2023-12-20
発明の名称
支持装置及びネットワーク型支持装置システム
出願人
広葉樹合板株式会社
代理人
個人
主分類
A47C
9/00 20060101AFI20251030BHJP(家具;家庭用品または家庭用設備;コーヒーひき;香辛料ひき;真空掃除機一般)
要約
【課題】本発明は、下半身を屈曲させた状態で仮眠又は休憩をする場合に、ユーザーが下半身に対して上半身を相対的に揺動させることができる支持機構の提供することを目的とする。
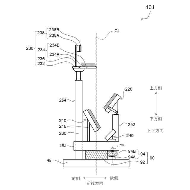
【解決手段】本発明の、立位姿勢で仮眠又は休憩するユーザーUを支持する支持機構20は、上下方向の上方に向く斜面を有し、人体の正面側から人体の膝及び下腿の一方又は両方に接触して人体を下方から支持する第1支持部210と、人体の背面側から人体の臀部及び上腿の一方又は両方に接触して人体を下方から支持する第2支持部220と、人体の上肢、頭及び上半身の少なくともいずれか1つに接触して、人体を前記前後方向の少なくとも一方から支持する第3支持部230と、第1支持部210及び第2支持部220を第3支持部230に対して相対的に軸CLの軸周りに揺動させる揺動機構90と、を備える。
【選択図】図14A
特許請求の範囲
【請求項1】
立位姿勢で仮眠又は休憩するユーザーを支持する支持機構であって、
上下方向の上方に向く斜面を有し、人体の正面側から人体の膝及び下腿の一方又は両方に接触して人体を下方から支持する第1支持部と、
前記上下方向から見て前記第1支持部と異なる位置に配置され、人体の背面側から人体の臀部及び上腿の一方又は両方に接触して人体を下方から支持する第2支持部と、
前記第1支持部及び前記第2支持部よりも上方の位置に配置され、人体の上肢及び頭がその前後方向における定められた範囲に配置されるように、人体の上肢、頭及び上半身の少なくともいずれか1つに接触して、人体を前記前後方向の少なくとも一方から支持する第3支持部と、
前記上下方向から見て前記第1支持部と前記第2支持部との間に設定された軸を中心として、前記第1支持部及び前記第2支持部を前記第3支持部に対して相対的に前記軸の軸周りに揺動させる揺動機構と、
を備える、
支持機構。
続きを表示(約 1,400 文字)
【請求項2】
前記第3支持部は、(1)前記上下方向における前記第1支持部の上方に配置され、人体の上肢を下方から支持する上肢支持部、及び、(2)前記上下方向における前記上肢支持部の上方に配置され、人体の額に接触して前記前後方向の前方から頭を支持する頭支持部を有する、
請求項1に記載の支持機構。
【請求項3】
前記第1支持部、前記第2支持部、前記上肢支持部及び前記頭支持部のうちの1つ又は2つを、前記第1支持部、前記第2支持部、前記上肢支持部及び前記頭支持部のうちの前記1つ又は前記2つ以外の1つに対して前記上下方向に相対移動させる移動機構、
をさらに備える、
請求項2に記載の支持機構。
【請求項4】
前記移動機構は、前記頭支持部を、前記上肢支持部に対し前記上下方向及び前記前後方向に相対移動させる、
請求項3に記載の支持機構。
【請求項5】
前記第1支持部及び前記第2支持部よりも下方の位置かつ前記上下方向から見て前記前後方向における前記第1支持部よりも前記第2支持部に近い位置に配置され、人体の足が前記上下方向に対して傾斜した姿勢となるように人体の足の裏に接触して人体を下方から支持し、前記揺動機構により前記第1支持部及び前記第2支持部とともに、前記第3支持部に対して相対的に前記軸の軸周りに揺動される第4支持部、
をさらに備える、
請求項1~4のいずれか一項に記載の支持機構。
【請求項6】
請求項4に記載の支持機構と、
前記移動機構及び前記揺動機構を制御する制御部と
を備える、
支持装置。
【請求項7】
前記制御部は、前記第2支持部が前記第1支持部に対して前記上下方向に相対移動するように前記移動機構を制御し、前記第1支持部、前記第2支持部及び前記第4支持部が前記第3支持部に対して相対的に前記軸の軸周りに揺動するように前記揺動機構を制御する、
請求項6に記載の支持装置。
【請求項8】
前記制御部は、ユーザーによる使用時間をカウントするタイマーを有しており、
前記制御部は、前記使用時間が経過するまでの期間に、前記第1支持部、前記第2支持部及び前記第4支持部が前記第3支持部に対して相対的に前記軸の軸周りに揺動するように前記揺動機構を制御する、
請求項6に記載の支持装置。
【請求項9】
前記制御部は、ユーザーによる使用時間をカウントするタイマーを有しており、
前記制御部は、前記使用時間が定められた時間を経過したとき、前記第1支持部、前記第2支持部及び前記第4支持部が前記第3支持部に対して相対的に前記軸の軸周りに揺動するように前記揺動機構を制御する、
請求項6に記載の支持装置。
【請求項10】
前記制御部は、ユーザーによる使用時間をカウントするタイマーを有しており、
前記制御部は、前記使用時間が定められた時間を経過したとき、前記第2支持部、前記上肢支持部及び前記頭支持部が互いに同波形かつ同位相で前記第1支持部に対して前記上下方向に相対移動するように、前記移動機構を制御する、
請求項9に記載の支持装置。
(【請求項11】以降は省略されています)
発明の詳細な説明
【技術分野】
【0001】
本発明は、立位姿勢で仮眠又は休憩するユーザーを支持する支持機構、支持装置及びプログラムに関する。
続きを表示(約 2,000 文字)
【背景技術】
【0002】
特許文献1には、その図3に示されるように、人体を収納する収納空間を備え、前記収納空間に収納した前記人体を立位状態で支持するように構成されている人体収納用構造体(睡眠用筐体)が開示されている。
この睡眠用筐体は、(1)前記収納空間に収納された前記人体の重量の少なくとも一部を下方から支持するように前記人体の臀部を支持する第一支持部と、(2)前記収納空間に収納された前記人体の上半身の水平方向における移動を阻止するように前記上半身を支持する第二支持部と、(3)前記収納空間に収納された前記人体の膝部が前方に移動することを阻止するように前記膝部を支持する第三支持部とを備えている。
特許文献1によれば、この睡眠用筐体は、上記(1)~(3)の各部を構成要素に備えることで、水平方向に広いスペースを必要とすることなく、人体を立位状態で支持することができるとされている。
【0003】
ここで、特許文献1の段落「0039」には、この睡眠用筐体における第二支持部の一部を構成する前方支持部が「側方から見たときに断面が三角形状を呈する突出部材である。かかる形状の突出部材を採用すると、前方支持部21Aの下方空間を広くすることができ、人間は、より快適に休憩や睡眠をとることができる。」と記載されている。このことから、この睡眠用筐体は、ユーザーが自身の上半身を前方支持部により下方から支持され、前方支持部の下方空間かつ第三支持部の上方空間にも自身の人体の一部を配置させて利用されることを想定している。この睡眠用筐体は、ユーザーの上半身を上下方向に沿わせた状態でユーザーの上肢を前方支持部により支持して、ユーザーに利用されるものといえる。
【先行技術文献】
【特許文献】
【0004】
特開2020-99444号公報
【発明の概要】
【発明が解決しようとする課題】
【0005】
前述の睡眠用筐体を利用して仮眠を取る場合、ユーザーは上肢を前方支持部の上面に上方から接触し更に上肢に頭を置くことになる。また、ユーザーは、仮眠中、すなわち、睡眠用筐体の利用中、その姿勢を維持したままとなる。すなわち、前述の睡眠用筐体は、その利用中及び利用後に、ユーザーの姿勢を変更することができない。具体的には、下半身に対して上半身を相対的に揺動させることができない。
【0006】
本発明は、下半身を屈曲させた状態で仮眠又は休憩をする場合に、ユーザーが下半身に対して上半身を相対的に揺動させることができる支持機構の提供することを目的の1つとする。
【課題を解決するための手段】
【0007】
第1態様の支持機構は、
立位姿勢で仮眠又は休憩するユーザーを支持する支持機構であって、
上下方向の上方に向く斜面を有し、人体の正面側から人体の膝及び下腿の一方又は両方に接触して人体を下方から支持する第1支持部と、
前記上下方向から見て前記第1支持部と異なる位置に配置され、人体の背面側から人体の臀部及び上腿の一方又は両方に接触して人体を下方から支持する第2支持部と、
前記第1支持部及び前記第2支持部よりも上方の位置に配置され、人体の上肢及び頭がその前後方向における定められた範囲に配置されるように、人体の上肢、頭及び上半身の少なくともいずれか1つに接触して、人体を前記前後方向の少なくとも一方から支持する第3支持部と、
前記上下方向から見て前記第1支持部と前記第2支持部との間に設定された軸を中心として、前記第1支持部及び前記第2支持部を前記第3支持部に対して相対的に前記軸の軸周りに揺動させる揺動機構と、
を備える。
【0008】
第2態様の支持機構は、
第1態様の支持機構において、
前記第3支持部は、(1)前記上下方向における前記第1支持部の上方に配置され、人体の上肢を下方から支持する上肢支持部、及び、(2)前記上下方向における前記上肢支持部の上方に配置され、人体の額に接触して前記前後方向の前方から頭を支持する頭支持部を有する。
【0009】
第3態様の支持機構は、
第2態様の支持機構において、
前記第1支持部、前記第2支持部、前記上肢支持部及び前記頭支持部のうちの1つ又は2つを、前記第1支持部、前記第2支持部、前記上肢支持部及び前記頭支持部のうちの前記1つ又は前記2つ以外の1つに対して前記上下方向に相対移動させる移動機構、
をさらに備える。
【0010】
第4態様の支持機構は、
第3態様の支持機構において、
前記移動機構は、前記頭支持部を、前記上肢支持部に対し前記上下方向及び前記前後方向に相対移動させる。
(【0011】以降は省略されています)
この特許をJ-PlatPat(特許庁公式サイト)で参照する
関連特許
広葉樹合板株式会社
支持装置及びネットワーク型支持装置システム
11日前
広葉樹合板株式会社
立位姿勢で仮眠又は休憩するユーザーを支持する支持装置及びプログラム
7か月前
個人
箸
1か月前
個人
椅子
2か月前
個人
家具
4か月前
個人
掃除機
8か月前
個人
自助箸
7か月前
個人
枕
8か月前
個人
掃除用具
3か月前
個人
ソファー
2か月前
個人
枕
5か月前
個人
屋外用箒
7か月前
個人
多用途紐
1か月前
個人
体洗い具
10か月前
個人
耳拭き棒
11か月前
個人
ハンガー
7か月前
個人
掃除道具
8か月前
個人
物品
3か月前
個人
片手代替具
11か月前
個人
掃除シート
9か月前
個人
開閉トング
6か月前
個人
組立式棚板
7か月前
個人
省煙消臭器
8か月前
個人
エコ掃除機
12か月前
個人
バターナイフ
1か月前
個人
洗面台
10か月前
個人
転倒防止装置
5か月前
個人
ゴミ袋保持枠
7か月前
個人
受け皿
5か月前
個人
紙コップ 蓋
2か月前
個人
シャワー装置
6か月前
個人
経典表示装置
4か月前
個人
靴ベラ
2か月前
個人
中身のない枕
7か月前
個人
首支持具
3か月前
個人
コーナーシール
9か月前
続きを見る
他の特許を見る