TOP
|
特許
|
意匠
|
商標
特許ウォッチ
Twitter
他の特許を見る
公開番号
2025168281
公報種別
公開特許公報(A)
公開日
2025-11-07
出願番号
2025068004
出願日
2025-04-17
発明の名称
ステージ速度取得方法、マルチ荷電粒子ビーム描画方法、及びマルチ荷電粒子ビーム描画におけるステージ速度と多重度との組み合わせ取得方法
出願人
株式会社ニューフレアテクノロジー
代理人
個人
,
個人
,
個人
主分類
H01L
21/027 20060101AFI20251030BHJP(基本的電気素子)
要約
【目的】CD精度の補正困難な劣化或いはレジスト変質が生じない範囲で描画時間の増加を抑制する描画条件を取得可能な装置を提供する。
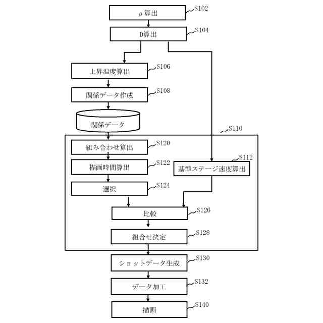
【構成】本発明の一態様のステージ速度取得方法は、レジストが塗布された基板を載置したステージを移動させながら前記基板に荷電粒子ビームで描画を行うためのステージ速度の取得方法であって、前記ステージのステージ速度と1回の描画処理あたりのドーズ量とレジストの上昇温度との関係データを記憶装置に記憶し、処理回路が、前記記憶装置から前記関係データを読み出し、前記関係データを用いて、前記レジストの上昇温度が予め設定された許容上昇温度以下となるステージ速度を取得し、出力する、ことを特徴とする。
【選択図】図9
特許請求の範囲
【請求項1】
レジストが塗布された基板を載置したステージを移動させながら前記基板に荷電粒子ビームで描画を行うためのステージ速度の取得方法であって、
前記ステージのステージ速度と1回の描画処理あたりのドーズ量と前記レジストの上昇温度との関係データを記憶装置に記憶し、
処理回路が、前記記憶装置から前記関係データを読み出し、前記関係データを用いて、前記レジストの上昇温度が予め設定された許容上昇温度以下となるステージ速度を取得し、出力する、
ことを特徴とするステージ速度取得方法。
続きを表示(約 1,400 文字)
【請求項2】
請求項1のステージ速度取得方法によりステージ速度を取得し、
基準ステージ速度と取得された前記ステージ速度との関係に応じたステージ速度で前記ステージを移動させながら、マルチ荷電粒子ビームを用いて、前記ステージ上に載置された前記基板にパターンを描画する、
ことを特徴とするマルチ荷電粒子ビーム描画方法。
【請求項3】
取得されたステージ速度よりも前記基準ステージ速度が速い場合は描画不可と判定する、
ことを特徴とする請求項2記載のマルチ荷電粒子ビーム描画方法。
【請求項4】
描画処理可能な範囲での最大ステージ速度を前記基準ステージ速度として算出する、
ことを特徴とする請求項2記載のマルチ荷電粒子ビーム描画方法。
【請求項5】
多重描画の多重度が予め決まっている場合に、前記ステージのステージ速度と1回の描画処理あたりのドーズ量と前記レジストの上昇温度との関係データを用いて、決められた多重度とレジスト感度に基づいたレジストの温度上昇が許容可能な上昇温度内になるステージ速度が前記ステージ速度として取得され、
予め決められた多重度と取得された前記ステージ速度を用いた描画処理にて前記基板に前記パターンが描画される、
ことを特徴とする請求項2記載のマルチ荷電粒子ビーム描画方法。
【請求項6】
レジストが塗布された基板を載置するためのステージのステージ速度と多重描画における1回の描画処理あたりのドーズ量と前記レジストの上昇温度との関係データを記憶装置に記憶し、
前記記憶装置から前記関係データを読み出し、前記関係データを用いて、前記レジストの上昇温度が許容上昇温度内になる描画可能なステージ速度と前記多重描画における多重度との組み合わせを取得し、
マルチ荷電粒子ビームを用いて、取得されたステージ速度と多重度との組み合わせに応じた描画処理にて、前記ステージ上に載置された前記基板にパターンを描画する、
ことを特徴とするマルチ荷電粒子ビーム描画方法。
【請求項7】
前記レジストの上昇温度は、前記マルチ荷電粒子ビームで照射される描画領域が分割された複数のメッシュ領域のそれぞれにおいて、当該メッシュ領域を照射するビームのドーズ量の代表値と、前記ステージの速度と、前記マルチ荷電粒子ビームの照射領域の描画進行方向のサイズと、に基づき算出されることを特徴とする請求項6記載のマルチ荷電粒子ビーム描画方法。
【請求項8】
前記マルチ荷電粒子ビームの照射領域の総ドーズ量と前記ステージ速度とを可変にして用いて、前記レジストの最大上昇温度を算出し、
算出された前記レジストの最大上昇温度を用いて、前記関係データを作成する、
ことを特徴とする請求項6記載のマルチ荷電粒子ビーム描画方法。
【請求項9】
前記許容上昇温度として、前記レジストの融解温度未満の上昇温度が用いられることを特徴とする請求項6記載のマルチ荷電粒子ビーム描画方法。
【請求項10】
前記許容上昇温度として、描画される前記パターンの寸法精度が許容可能となる上昇温度が用いられることを特徴とする請求項6記載のマルチ荷電粒子ビーム描画方法。
(【請求項11】以降は省略されています)
発明の詳細な説明
【技術分野】
【0001】
本発明は、ステージ速度取得方法、ステージ速度取得装置、マルチ荷電粒子ビーム描画方法、マルチ荷電粒子ビーム描画におけるステージ速度と多重度との組み合わせ取得方法、マルチ荷電粒子ビーム描画装置、及びプログラム(或いはプログラムを一時的でなく記録した読み取り可能な記録媒体)に係り、例えば、マルチビーム描画における基板上のレジストの上昇温度を許容温度内に抑えた描画手法に関する。
続きを表示(約 2,100 文字)
【背景技術】
【0002】
半導体デバイスの微細化の進展を担うリソグラフィ技術は半導体製造プロセスのなかでも唯一パターンを生成する極めて重要なプロセスである。近年、LSIの高集積化に伴い、半導体デバイスに要求される回路線幅は年々微細化されてきている。ここで、電子線(電子ビーム)描画技術は本質的に優れた解像性を有しており、ウェハ等へ電子線を使って描画することが行われている。
【0003】
例えば、マルチビームを使った描画装置がある。1本の電子ビームで描画する場合に比べて、マルチビームを用いることで一度に多くのビームを照射できるのでスループットを大幅に向上させることができる。ここで、マルチビーム描画では、シングルビーム描画に比べて電流密度を小さくしているものの、描画条件によっては、有意なレジストヒーティングが生じてしまうことがわかってきた。これにより、CD精度の補正困難な劣化や、レジスト変質が生じてしまうといった問題が起こり得る。かかる問題に対処するには、描画処理による基板の温度上昇を抑制することが必要となる。一方、基板の温度上昇を抑制するように描画処理を行うと、スループットが劣化してしまうといった問題が生じる。このため、CD精度の補正困難な劣化或いはレジスト変質が生じない範囲でスループットをできるだけ向上させることが求められる。
【0004】
ここで、所定の多重度で描画したときの試料上での温度分布を予測し、この温度分布に基づいてパターン毎に多重度を決定するといった手法が開示されている(例えば、特許文献1参照)。
【先行技術文献】
【特許文献】
【0005】
特開2022-030301号公報
【発明の概要】
【発明が解決しようとする課題】
【0006】
本発明の一態様は、CD精度の補正困難な劣化或いはレジスト変質が生じない範囲で描画時間の増加を抑制する描画条件を取得可能な装置および方法を提供する。
【課題を解決するための手段】
【0007】
また、本発明の一態様のステージ速度取得方法は、
レジストが塗布された基板を載置したステージを移動させながら前記基板に荷電粒子ビームで描画を行うためのステージ速度の取得方法であって、
前記ステージのステージ速度と1回の描画処理あたりのドーズ量と前記レジストの上昇温度との関係データを記憶装置に記憶し、
処理回路が、前記記憶装置から前記関係データを読み出し、前記関係データを用いて、前記レジストの上昇温度が予め設定された許容上昇温度以下となるステージ速度を取得し、出力する、
ことを特徴とする。
【0008】
本発明の一態様のマルチ荷電粒子ビーム描画方法は、
レジストが塗布された基板を載置するためのステージのステージ速度と多重描画における1回の描画処理あたりのドーズ量とレジストの上昇温度との関係データを記憶装置に記憶し、
記憶装置から関係データを読み出し、関係データを用いて、レジストの上昇温度が許容上昇温度内になる描画可能なステージ速度と多重描画における多重度との組み合わせを取得し、
マルチ荷電粒子ビームを用いて、取得されたステージ速度と多重度との組み合わせに応じた描画処理にて、ステージ上に載置された基板にパターンを描画する、
ことを特徴とする。
【0009】
本発明の一態様のマルチ荷電粒子ビーム描画におけるステージ速度と多重度との組み合わせ取得方法は、
レジストが塗布された基板を載置するためのステージのステージ速度と多重描画における1回の描画処理あたりのドーズ量とレジストの上昇温度との関係データを記憶装置に記憶し、
記憶装置から関係データを読み出し、関係データを用いて、レジストの上昇温度が許容上昇温度内になる描画可能なステージ速度と前記多重描画における多重度との組み合わせを取得し、出力する、
ことを特徴とする。
【0010】
本発明の一態様のマルチ荷電粒子ビーム描画装置は、
レジストが塗布された基板を載置するためのステージのステージ速度と多重描画における1回の描画処理あたりのドーズ量とレジストの上昇温度との関係データを記憶する記憶装置と、
記憶装置から関係データを読み出し、関係データを用いて、レジストの上昇温度が許容上昇温度内になる描画可能なステージ速度と多重描画における多重度との組み合わせを取得する組み合わせ取得回路と、
ステージと、マルチ荷電粒子ビームを生成し、マルチ荷電粒子ビームの軌道を制御する光学系と、を有し、マルチ荷電粒子ビームを用いて、取得されたステージ速度と多重度との組み合わせに応じた描画処理にて、ステージ上に載置された基板にパターンを描画する描画機構と、
を備えたことを特徴とする。
(【0011】以降は省略されています)
この特許をJ-PlatPat(特許庁公式サイト)で参照する
関連特許
東ソー株式会社
絶縁電線
19日前
APB株式会社
蓄電セル
17日前
個人
フレキシブル電気化学素子
1か月前
ローム株式会社
半導体装置
1か月前
株式会社ユーシン
操作装置
1か月前
株式会社東芝
端子台
11日前
ローム株式会社
半導体装置
1か月前
マクセル株式会社
電源装置
11日前
ローム株式会社
半導体装置
18日前
日新イオン機器株式会社
イオン源
27日前
株式会社GSユアサ
蓄電設備
1か月前
株式会社ホロン
冷陰極電子源
25日前
オムロン株式会社
電磁継電器
1か月前
太陽誘電株式会社
全固体電池
1か月前
太陽誘電株式会社
コイル部品
1か月前
株式会社ホロン
冷陰極電子源
1か月前
株式会社GSユアサ
蓄電装置
12日前
株式会社GSユアサ
蓄電装置
12日前
株式会社GSユアサ
蓄電装置
1か月前
株式会社GSユアサ
蓄電設備
1か月前
株式会社GSユアサ
蓄電装置
4日前
トヨタ自動車株式会社
バッテリ
1か月前
ノリタケ株式会社
熱伝導シート
1か月前
トヨタ自動車株式会社
バッテリ
17日前
北道電設株式会社
配電具カバー
17日前
サクサ株式会社
電池の固定構造
1か月前
日東電工株式会社
積層体
1か月前
日本特殊陶業株式会社
保持装置
1か月前
日新イオン機器株式会社
基板処理装置
14日前
トヨタ自動車株式会社
蓄電装置
12日前
日本特殊陶業株式会社
保持装置
1か月前
トヨタ自動車株式会社
蓄電装置
1か月前
日本特殊陶業株式会社
保持装置
20日前
TDK株式会社
電子部品
1か月前
トヨタ自動車株式会社
冷却構造
19日前
日本特殊陶業株式会社
保持装置
3日前
続きを見る
他の特許を見る