TOP
|
特許
|
意匠
|
商標
特許ウォッチ
Twitter
他の特許を見る
10個以上の画像は省略されています。
公開番号
2025168021
公報種別
公開特許公報(A)
公開日
2025-11-07
出願番号
2024073114
出願日
2024-04-26
発明の名称
浴槽用手すり及び浴室手すり構造
出願人
パナソニックIPマネジメント株式会社
代理人
弁理士法人北斗特許事務所
主分類
A47K
3/12 20060101AFI20251030BHJP(家具;家庭用品または家庭用設備;コーヒーひき;香辛料ひき;真空掃除機一般)
要約
【課題】利用者の浴槽内での移動を補助しやすい、浴槽用手すり及びそれを備えた浴室手すり構造を提供する。
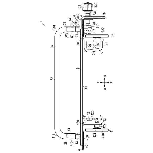
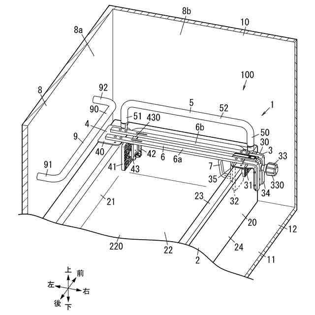
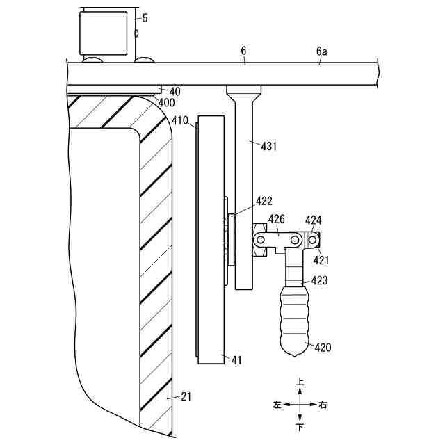
【解決手段】浴槽用手すり1は、浴槽2が有する一対の側壁20,21に架け渡すように着脱可能に取り付けられる。浴槽用手すり1は、一方の側壁20を挟むように取り付けられる第一取付部3と、他方の側壁21に浴槽内側から押し当たるように取り付けられる第二取付部4と、第一取付部3から第二取付部4にわたるように設けられた手すり部5と、を備える。手すり部5は、第一取付部3から上方に延びた第一柱部50と、第二取付部4から上方に延びた第二柱部51と、第一柱部50と第二柱部51とをつなぐ棒状の手すり本体部52と、を有する。浴室手すり構造100は、浴槽用手すり1と、浴槽2と、他方の側壁21に隣接する浴室側壁8と、浴室側壁8に設けられ、水平方向に延びる壁手すり9と、を備える。
【選択図】図1
特許請求の範囲
【請求項1】
浴槽が有する一対の側壁に架け渡すように着脱可能に取り付けられる浴槽用手すりであって、
前記一対の側壁のうちの一方の側壁を挟むように取り付けられる第一取付部と、
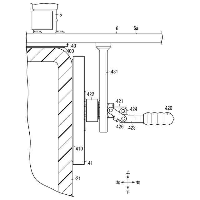
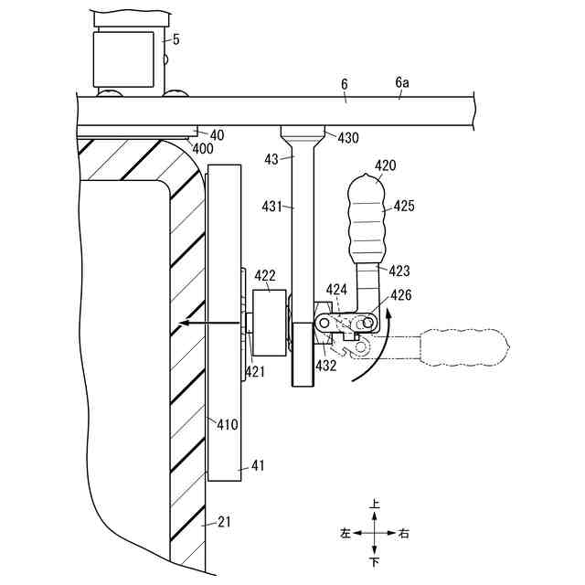
前記一対の側壁のうちの他方の側壁に浴槽内側から押し当たるように取り付けられる第二取付部と、
前記第一取付部から前記第二取付部にわたるように設けられた手すり部と、を備え、
前記手すり部は、
前記第一取付部から上方に延びた第一柱部と、
前記第二取付部から上方に延びた第二柱部と、
前記第一柱部と前記第二柱部とをつなぐ棒状の手すり本体部と、を有する、
浴槽用手すり。
続きを表示(約 840 文字)
【請求項2】
前記第一取付部から前記第二取付部に架け渡され、前記第一取付部と前記第二取付部のそれぞれに固定された補強部を更に備え、
前記手すり本体部は、前記補強部よりも上方において、前記補強部に沿うように延びている、
請求項1に記載の浴槽用手すり。
【請求項3】
前記手すり本体部の長手方向に対して平面視において直交する方向を幅方向としたとき、
前記補強部は、前記手すり本体部に対して前記幅方向にずれて位置する、
請求項2に記載の浴槽用手すり。
【請求項4】
前記補強部は、
前記第一取付部から前記第二取付部に架け渡された棒状の第一補強部と、
前記第一取付部から前記第二取付部に架け渡され、前記第一補強部に対して前記幅方向に間隔をおいて位置する棒状の第二補強部と、を有する、
請求項3に記載の浴槽用手すり。
【請求項5】
前記第一取付部は、前記第一柱部が取り付け可能であり、前記幅方向に間隔をおいて位置する複数の第一手すり取付部を有し、
前記第二取付部は、前記第二柱部が取り付け可能であり、前記幅方向に間隔をおいて位置する複数の第二手すり取付部を有する、
請求項1から4のいずれか一項に記載の浴槽用手すり。
【請求項6】
前記複数の第一手すり取付部のそれぞれには、前記第一柱部が高さ変更可能に取り付けられ、
前記複数の第二手すり取付部のそれぞれには、前記第二柱部が高さ変更可能に取り付けられる、
請求項5に記載の浴槽用手すり。
【請求項7】
請求項1から4のいずれか一項に記載の浴槽用手すりと、
前記浴槽用手すりが取り付けられる前記浴槽と、
前記浴槽の前記他方の側壁に隣接する浴室側壁と、
前記浴室側壁に設けられ、水平方向に延びる壁手すりと、を備える、
浴室手すり構造。
発明の詳細な説明
【技術分野】
【0001】
本開示は、浴槽用手すり及び浴室手すり構造に関し、詳しくは、浴槽が有する一対の側壁に架け渡すように着脱可能に取り付けられる浴槽用手すり及びそれを備える浴室手すり構造に関する。
続きを表示(約 1,300 文字)
【背景技術】
【0002】
特許文献1には、浴槽に対し、洗い場側浴槽縁壁と、反対側浴槽縁壁の2カ所で固定される浴槽用着脱自在手すりが、記載されている。
【0003】
浴槽用着脱自在手すりは、洗い場側浴槽縁壁の上部へはめ込み保持されるU字状手すり保持具と、反対側浴槽縁壁に固着される吸盤からなる手すり保持具と、を有する。浴槽用着脱自在手すりは更に、U字状手すり保持具に固定された逆U字状の出入り用手すりと、洗い場側浴槽縁壁の上部から反対側浴槽縁壁の上部へ浴槽の上部を水平に横切って延びる入浴用手すりガイドと、を有する。
【0004】
逆U字状の出入り用手すりは、U字状手すり保持具から上方に延びる直線部分と、その上端部から水平に延びる水平部分と、水平部分の先端部から下方に延びる直下部分と、を有する。
【先行技術文献】
【特許文献】
【0005】
特開平9-252985号公報
【発明の概要】
【発明が解決しようとする課題】
【0006】
ところで、特許文献1に記載の浴槽用着脱自在手すりでは、出入り用手すりと入浴用手すりガイドとが連続しておらず、また、利用者が立ち姿勢で利用する出入り用手すりの水平部分に比べて入浴用手すりガイドが低い位置にある。そのため、利用者が立った姿勢で浴槽を幅方向(つまり洗い場側浴槽縁壁と反対側縁壁とが並ぶ方向)に移動するときには、入浴用手すりガイドが低くて利用しにくい。
【0007】
また、反対側浴槽縁壁に隣接した浴室壁に、立ち姿勢の利用者が掴む、水平方向に延びた壁手すりがある場合、この壁手すりよりも入浴用手すりガイドが低い位置にあるため、壁手すりと入浴用ガイドとの間での手の移動が行いにくい。
【0008】
上記事情に鑑みて、本開示は、利用者の浴槽内での移動を補助しやすい浴槽用手すり及びそれを備えた浴室手すり構造を提供することを、目的とする。
【課題を解決するための手段】
【0009】
本開示に係る一態様の浴槽用手すりは、浴槽が有する一対の側壁に架け渡すように着脱可能に取り付けられる。前記浴槽用手すりは、前記一対の側壁のうちの一方の側壁を挟むように取り付けられる第一取付部と、前記一対の側壁のうちの他方の側壁に浴槽内側から押し当たるように取り付けられる第二取付部と、を備える。前記浴槽用手すりは更に、前記第一取付部から前記第二取付部にわたるように設けられた手すり部を備える。前記手すり部は、前記第一取付部から上方に延びた第一柱部と、前記第二取付部から上方に延びた第二柱部と、前記第一柱部と前記第二柱部とをつなぐ棒状の手すり本体部と、を有する。
【0010】
本開示に係る一態様の浴室手すり構造は、前記の浴槽用手すりと、前記浴槽用手すりが取り付けられる前記浴槽と、前記浴槽の前記他方の側壁に隣接する浴室側壁と、前記浴室側壁に設けられ、水平方向に延びる壁手すりと、を備える。
【発明の効果】
(【0011】以降は省略されています)
この特許をJ-PlatPat(特許庁公式サイト)で参照する
関連特許
個人
箸
1か月前
個人
椅子
2か月前
個人
家具
4か月前
個人
掃除機
8か月前
個人
自助箸
7か月前
個人
枕
8か月前
個人
掃除用具
3か月前
個人
ソファー
2か月前
個人
枕
5か月前
個人
屋外用箒
7か月前
個人
多用途紐
1か月前
個人
体洗い具
10か月前
個人
耳拭き棒
11か月前
個人
ハンガー
7か月前
個人
掃除道具
8か月前
個人
物品
3か月前
個人
片手代替具
11か月前
個人
掃除シート
9か月前
個人
開閉トング
6か月前
個人
組立式棚板
7か月前
個人
省煙消臭器
8か月前
個人
エコ掃除機
12か月前
個人
バターナイフ
1か月前
個人
洗面台
10か月前
個人
転倒防止装置
5か月前
個人
ゴミ袋保持枠
7か月前
個人
受け皿
5か月前
個人
紙コップ 蓋
2か月前
個人
シャワー装置
6か月前
個人
経典表示装置
4か月前
個人
靴ベラ
2か月前
個人
中身のない枕
7か月前
個人
首支持具
3か月前
個人
コーナーシール
9か月前
個人
矯正用枕
4か月前
個人
補助寝具
8か月前
続きを見る
他の特許を見る