TOP
|
特許
|
意匠
|
商標
特許ウォッチ
Twitter
他の特許を見る
10個以上の画像は省略されています。
公開番号
2025167917
公報種別
公開特許公報(A)
公開日
2025-11-07
出願番号
2024072935
出願日
2024-04-26
発明の名称
作業機
出願人
工機ホールディングス株式会社
代理人
個人
主分類
B23D
45/14 20060101AFI20251030BHJP(工作機械;他に分類されない金属加工)
要約
【課題】操作性を向上する。
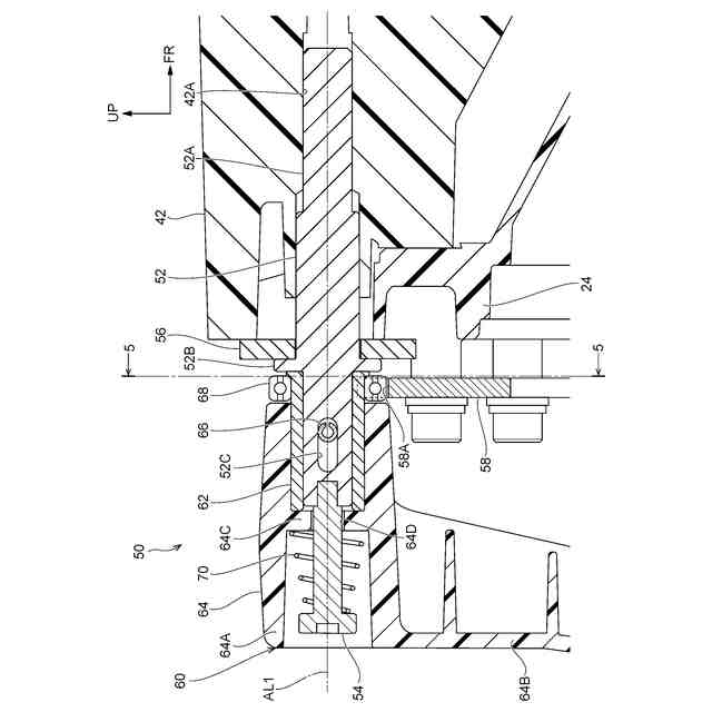
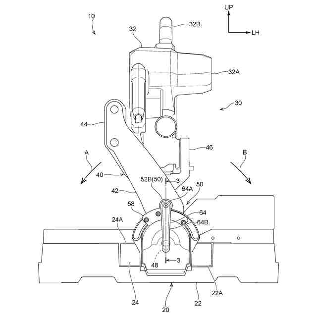
【解決手段】卓上丸鋸10では、固定機構50が、レバー64と、支持柱42の直角位置において支持柱42の回転方向一方側の回転を規制するベアリング68と、を含んで構成されている。レバー64を軸線AL1回りに回転操作することで、固定機構50が固定状態又は固定解除状態に切替わる。また、レバー64を軸線AL1に沿って後側へ移動させる移動操作をすることで、レバーユニット60(ベアリング68)の前後位置が第1位置から第2位置に切替わり、ベアリング68による支持柱42に対する回転方向一方側への回転規制が解除される。これにより、ヘッド部32を直角位置からターンテーブル24に対して右側へ傾斜させた位置に変更するときに、作業者が別々の操作部を操作する必要がなくなる。したがって、ターンテーブル24に対するヘッド部32の位置を変更するときの操作性を向上することができる。
【選択図】図3
特許請求の範囲
【請求項1】
加工材が載置される前後方向及び左右方向に延びる上面を有するベースと、
上下方向に揺動可能に構成された切断部と、
前記切断部に設けられた丸鋸刃と、
前記前後方向を軸方向として回転可能に前記ベースに連結され、前記切断部を支持する支持部と、
作業者によって操作される操作部と、前記支持部の所定回転位置において前記支持部の回転を規制する規制部と、を含んで構成され、前記支持部を前記ベースに固定する固定機構と、
を備え、
前記操作部を第1操作することで、前記固定機構が前記支持部を前記ベースに固定する固定状態又は前記支持部への固定を解除した固定解除状態に切替わり、
前記操作部を第2操作することで、前記規制部による前記支持部に対する回転規制が解除される作業機。
続きを表示(約 1,300 文字)
【請求項2】
前記第1操作は、所定軸線を中心に前記操作部を回転させる回転操作であり、前記第2操作は、前記操作部を前記所定軸線に沿って移動させる移動操作である請求項1に記載の作業機。
【請求項3】
前記固定機構は、前記規制部と係合して前記所定回転位置において前記支持部の回転を規制する係合部を有しており、
前記規制部は、前記操作部に相対移動不能に連結され、
前記第2操作時に前記規制部が前記操作部と共に移動することで前記規制部と前記係合部との係合が解除される請求項2に記載の作業機。
【請求項4】
前記固定機構は、固定部を有しており、
前記固定部が前記所定軸線回りに回転されることで前記固定機構が前記固定状態又は前記固定解除状態に切替わり、
前記操作部が前記固定部に一体回転可能に且つ前記所定軸線に沿って相対移動可能に連結されている請求項3に記載の作業機。
【請求項5】
前記固定部が、前記支持部及び前記ベースの一方に設けられ、
前記係合部が、前記支持部及び前記ベースの他方に設けられている請求項4に記載の作業機。
【請求項6】
前記操作部は、前記規制部と前記係合部とが係合する第1位置と、前記規制部と前記係合部との係合が解除される第2位置と、の間を移動可能に構成され、
前記固定機構は、前記操作部を前記所定軸線に沿って付勢する付勢部材を有しており、前記付勢部材によって前記操作部が前記第1位置側に付勢されている請求項3に記載の作業機。
【請求項7】
前記操作部は、作業者によって把持される単一の把持部を有している請求項1に記載の作業機。
【請求項8】
前記規制部及び前記操作部が、前記ベースの後側に配置されている請求項1に記載の作業機。
【請求項9】
前記操作部が、前記ベースの前端部に操作可能に露出されている請求項1に記載の作業機。
【請求項10】
加工材が載置される前後方向及び左右方向に延びる上面を有するベースと、
上下方向に揺動可能に構成された切断部と、
前記切断部に設けられた丸鋸刃と、
回転可能に前記ベースに連結され、前記切断部を支持すると共に、前記ベースに対して移動することで前記丸鋸刃の姿勢を変更する支持部と、
前記支持部を前記ベースに固定する固定機構と、
を備え、
前記固定機構は、
作業者によって操作される操作部と、
所定軸線に沿って延在され、前記操作部への第1操作によって所定軸線に沿って移動することで前記支持部を前記ベースに固定する固定状態又は前記支持部の前記ベースへの固定を解除した固定解除状態に切替わる固定部と、
前記固定部と同軸で動作するように構成され、前記支持部の所定回転位置において前記支持部の回転を規制する規制部と、
を含んで構成され、
前記固定解除状態において前記操作部を第2操作することで、前記規制部を前記固定部とは独立して前記所定軸線に沿って移動させて前記所定回転位置における前記支持部に対する回転規制状態を解除する作業機。
(【請求項11】以降は省略されています)
発明の詳細な説明
【技術分野】
【0001】
本発明は、作業機に関するものである。
続きを表示(約 1,500 文字)
【背景技術】
【0002】
下記特許文献1に記載の卓上切断機(作業機)では、切断工具部(丸鋸刃)のベースに対する姿勢(傾斜角度)を変更することができる。具体的には、卓上切断機は、切断工具部を支持するホルダのベースへの固定状態を解除するためのクランプレバーと、所定の規制位置においてホルダの傾斜を規制するためのストッパピンと、を有している。例えば、規制位置を超えた傾斜位置に切断工具部を傾斜させる場合には、ストッパピンを後側へ引出してストッパピンによる規制を解除し、その後でクランプレバーを回転させてホルダのベースへの固定状態を解除する。
【先行技術文献】
【特許文献】
【0003】
特開2009-149039号公報
【発明の概要】
【発明が解決しようとする課題】
【0004】
しかしながら、上記卓上切断機では、以下に示す点において改善の余地がある。すなわち、上述のように、規制位置を超えた傾斜位置に切断工具部を変更するときには、クランプレバー及びストッパピンの2つの操作部を操作する必要がある。このため、作業者が、異なる位置に配置された2つの操作部を操作しなければならず、操作性が悪化する可能性がある。
【0005】
本発明は、上記事実を考慮して、操作性を向上することができる作業機を提供することを目的とする。
【課題を解決するための手段】
【0006】
本発明の1又はそれ以上の実施形態は、加工材が載置される前後方向及び左右方向に延びる上面を有するベースと、上下方向に揺動可能に構成された切断部と、前記切断部に設けられた丸鋸刃と、前記前後方向を軸方向として回転可能に前記ベースに連結され、前記切断部を支持する支持部と、作業者によって操作される操作部と、前記支持部の所定回転位置において前記支持部の回転を規制する規制部と、を含んで構成され、前記支持部を前記ベースに固定する固定機構と、を備え、前記操作部を第1操作することで、前記固定機構が前記支持部を前記ベースに固定する固定状態又は前記支持部への固定を解除した固定解除状態に切替わり、前記操作部を第2操作することで、前記規制部による前記支持部に対する回転規制が解除される作業機である。
【0007】
本発明の1又はそれ以上の実施形態は、前記第1操作は、所定軸線を中心に前記操作部を回転させる回転操作であり、前記第2操作は、前記操作部を前記所定軸線に沿って移動させる移動操作である作業機である。
【0008】
本発明の1又はそれ以上の実施形態は、前記固定機構は、前記規制部と係合して前記所定回転位置において前記支持部の回転を規制する係合部を有しており、前記規制部は、前記操作部に相対移動不能に連結され、前記第2操作時に前記規制部が前記操作部と共に移動することで前記規制部と前記係合部との係合が解除される作業機である。
【0009】
本発明の1又はそれ以上の実施形態は、前記固定機構は、固定部を有しており、前記固定部が前記所定軸線回りに回転されることで前記固定機構が前記固定状態又は前記固定解除状態に切替わり、前記操作部が前記固定部に一体回転可能に且つ前記所定軸線に沿って相対移動可能に連結されている作業機である。
【0010】
本発明の1又はそれ以上の実施形態は、前記固定部が、前記支持部及び前記ベースの一方に設けられ、前記係合部が、前記支持部及び前記ベースの他方に設けられている作業機である。
(【0011】以降は省略されています)
この特許をJ-PlatPat(特許庁公式サイト)で参照する
関連特許
個人
フライス盤
2か月前
日東精工株式会社
ねじ締め機
3か月前
日東精工株式会社
ねじ締め機
2か月前
日東精工株式会社
ねじ締め機
1か月前
株式会社ダイヘン
溶接電源装置
3か月前
日東精工株式会社
ねじ締め装置
2か月前
株式会社ダイヘン
溶接電源装置
3か月前
ダイニチ工業株式会社
配膳治具
16日前
キヤノン電子株式会社
加工装置
13日前
日東精工株式会社
ねじ整列トレー
8日前
株式会社FUJI
工作機械
1か月前
株式会社FUJI
工作機械
1か月前
個人
切削油供給装置
2か月前
個人
型枠製造装置のフレーム
1か月前
中国電力株式会社
養生シート
1か月前
株式会社富田製作所
支持構造
21日前
睦月電機株式会社
金属表面処理方法
13日前
株式会社アンド
半田付け方法
2か月前
キヤノン電子株式会社
加工システム
3か月前
大見工業株式会社
ドリル
3か月前
株式会社向洋技研
スタッドの製造方法
15日前
株式会社ツガミ
工作機械
2か月前
株式会社不二越
ブローチ盤
3か月前
ビアメカニクス株式会社
レーザ加工装置
1か月前
ビアメカニクス株式会社
レーザ加工装置
1か月前
ビアメカニクス株式会社
レーザ加工装置
1か月前
株式会社不二越
ブローチ盤
2か月前
有限会社TNE
電気抵抗溶接方法
22日前
津田駒工業株式会社
センタリングバイス
3か月前
株式会社不二越
歯車加工装置
8日前
株式会社不二越
歯車加工装置
8日前
株式会社不二越
歯車加工装置
8日前
関東冶金工業株式会社
ろう付け方法
1か月前
大見工業株式会社
エンドミル
2か月前
株式会社タマリ工業
レーザ加工装置
3か月前
株式会社MOLDINO
被覆切削工具
3か月前
続きを見る
他の特許を見る