TOP
|
特許
|
意匠
|
商標
特許ウォッチ
Twitter
他の特許を見る
公開番号
2025150172
公報種別
公開特許公報(A)
公開日
2025-10-09
出願番号
2024050912
出願日
2024-03-27
発明の名称
レーザ加工装置
出願人
ビアメカニクス株式会社
代理人
主分類
B23K
26/02 20140101AFI20251002BHJP(工作機械;他に分類されない金属加工)
要約
【課題】スキャンエリアの中心位置と垂直入射位置のずれにより生じるスキャンエリア内における傾斜角の大きさ、加工位置誤差量の偏りを低減できるレーザ加工装置を提供すること。
【解決手段】スキャンエリアの中心位置とレーザ光の垂直入射位置のずれ量に基づいて補正した加工位置座標に基づいて、テーブル駆動部及びガルバノ駆動部を制御することにより、スキャンエリアを該スキャンエリアの中心位置にレーザ光が垂直に入射することとなる位置に位置決めし、ガルバノミラーを前記補正した加工位置座標にレーザ光が入射するように位置決めする。
【選択図】図5
特許請求の範囲
【請求項1】
レーザ光を発振するレーザ発振器と、
前記レーザ光を二次元方向に偏向するガルバノミラーと、
前記ガルバノミラーで偏向されたレーザ光を被加工物上に集光するFθレンズと、
前記被加工物を載置し、水平方向に移動可能なテーブルと、
前記ガルバノミラーを回転駆動するガルバノ駆動部と、
前記ガルバノ駆動部を制御するガルバノ制御部と、
前記テーブルを駆動するテーブル駆動部と、
前記テーブル駆動部を制御するテーブル制御部と
を備え、予め記憶したプログラムの加工位置座標に基づいて加工を行うレーザ加工装置において、
スキャンエリアの中心位置とレーザ光の垂直入射位置のずれ量に基づいて補正した加工位置座標に基づいて、テーブル駆動部及びガルバノ駆動部を制御することにより、
スキャンエリアを該スキャンエリアの中心位置にレーザ光が垂直に入射することとなる位置に位置決めし、
ガルバノミラーを前記補正した加工位置座標にレーザ光が入射するように位置決めする
ことを特徴とする、レーザ加工装置。
続きを表示(約 160 文字)
【請求項2】
前記Fθレンズの焦点位置をテスト加工用の平板の表面から高さ方向において任意の距離離してテスト加工を行うことにより、前記ずれ量を求めるものであって、
前記平板が、前記テーブルに載置した状態で表面に凹凸が生じない素材のものである
ことを特徴とする、請求項1に記載したレーザ加工装置。
発明の詳細な説明
【技術分野】
【0001】
本発明は、プリント基板に穴あけを行うレーザ加工装置に関するものであり、特にレーザ光を2次元方向に偏向し、Fθレンズを介してプリント基板にレーザ光を照射し、穴あけを行うレーザ加工装置に関するものである。
続きを表示(約 2,400 文字)
【背景技術】
【0002】
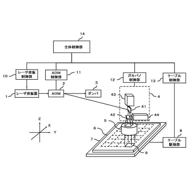
プリント基板に穴あけを行うレーザ加工装置においては、例えば特許文献1や2に開示されるように、レーザ発振器から出射されたレーザ光をガルバノスキャナにより2次元方向へ偏向し、Fθレンズを介してテーブルに載置された被加工物であるプリント基板に照射するようになっている。図1は、従来のレーザ加工装置の概略ブロック図である。以下、図1を用いて従来のレーザ加工装置を説明する。
【0003】
従来のレーザ加工装置は、レーザ光を出射するレーザ発振器1と、レーザ光を加工方向と非加工方向の二通りに分岐させる音響光学変調器(例えばAOM)2と、AOM2により非加工方向に分岐されたレーザ光を吸収するダンパ3と、AOM2により加工方向に分岐されたレーザ光を2次元方向に偏向するためのガルバノスキャナ4と、ガルバノスキャナ4で偏向されたレーザ光をプリント基板6上に集光するためのFθレンズ5と、プリント基板6を載置するためのテーブル7と、テーブル7をXY方向に移動させるためのテーブル駆動部8と、を有する。なお、ガルバノスキャナ4は、第一ガルバノモータ43により回転軸回りに位置決めされる第一ガルバノミラー41、第二ガルバノモータ44により回転軸回りに位置決めされる第二ガルバノミラー42を備える。なお、ガルバノスキャナ4とFθレンズ5は、図示を省略する加工ヘッドに保持されており、加工ヘッドの位置をZ軸方向で移動させることで、Fθレンズ5の高さ方向の焦点位置を調整できるようになっている。
【0004】
そして、プリント基板6の加工領域は、ガルバノスキャナ4によりレーザ光を偏向する複数のスキャンエリア9に区切られ、スキャンエリア毎に順次穴明け加工を進めるようになっている。なお、ガルバノスキャナ4によりレーザ光を偏向可能な最大範囲は、スキャンエリア9よりも大きいものとなっている。
【0005】
10はレーザ発振器1でのレーザ光の発振と減衰を指令するレーザ発振制御部、11はAOM2の動作を制御するAOM制御部、12はガルバノスキャナ4の動作を制御するためのガルバノ制御部、13はテーブル駆動部8の駆動動作を制御するためのテーブル制御部である。14はレーザ加工装置の各部の制御及び装置全体の動作を制御するための全体制御部であり、例えばプログラム制御の処理装置によって実現されるものであって、内部に種々の情報を記憶する記憶部を有している。全体制御部14はここで説明するもの以外にも制御機能を有し、図示されていないブロックにも接続されている。
【0006】
全体制御部14は、予め加工用プログラムとして入力された加工位置座標に基づき、テーブル制御部13に与えてテーブル駆動部8を制御するためのテーブルデータ、ガルバノ制御部12に与えてガルバノスキャナ4の動作を制御するためのガルバノデータ、レーザ発振制御部10に与えてレーザ発振器1の出射タイミングを制御するためのレーザデータ、及びAOM制御部11に与えてAOM2の動作を制御するためのAOMデータを作成し、それぞれを記憶する。その後、全体制御部14は、記憶した前記各データに基づいて、各制御部に動作指令信号を発することにより加工を行う。
【0007】
より具体的には、全体制御部14が上記各データに基づいて制御することにより、レーザ加工装置は以下のように動作する。まず、プリント基板6を載置したテーブル7を移動し、加工予定のスキャンエリア9の中心位置がFθレンズ5の中心軸と一致するように位置決めする。ついで、当該スキャンエリア9内において、レーザ光が加工位置座標に入射するようにガルバノミラー41、42を回転し位置決めする。そして、レーザ発振器1からレーザ光を出射し、AOM2において加工方向に分岐して、Fθレンズ5を介してプリント基板6に集光し、加工する。1つのスキャンエリア9の加工が終了すると、次のスキャンエリアの中心位置がFθレンズ5の中心軸と一致するように位置決めし、順次加工を行っている。
【0008】
このようなレーザ加工装置においては、ガルバノスキャナ4により偏向されたレーザ光のFθレンズへの入射位置が当該レンズの中心から離れるに従って、レンズを透過して基板に入射するレーザ光がレンズの中心軸線に対して傾斜することが知られている。そして、例えば特許文献2にも記載されているように、プリント基板の表面に微小な凹凸がある場合には、当該基板に入射するレーザの傾斜により加工位置において2次元方向の位置誤差が生じることが知られている。なお、基板自体の表面の凹凸によるもののほか、テーブル7の表面に微小なうねりがある場合に、これに載置したプリント基板6がテーブル7に倣ってうねることによって、加工位置誤差が生じることもある。
【先行技術文献】
【特許文献】
【0009】
特開2013-71153号公報
特開2020-49531号公報
【発明の概要】
【発明が解決しようとする課題】
【0010】
ここで、上記のようなレーザ加工装置においては、ガルバノミラーの振り角の中心となるガルバノ原点位置におけるレーザ光軸とFθレンズ5の中心軸を一致させて、スキャンエリアの中心位置においてレーザが垂直に入射するように設計されている。そのため、加工装置が設計通りに組み立てられている場合、スキャンエリアの中心位置においてレーザが垂直に入射し、中心から離れるに従って傾斜するようになっている。つまり、基板表面に凹凸がある場合には、生じうる加工位置誤差が中心位置から離れるに従って徐々に大きくなるようになっている。
(【0011】以降は省略されています)
この特許をJ-PlatPat(特許庁公式サイト)で参照する
関連特許
個人
タップ
6か月前
個人
フライス盤
2か月前
個人
加工機
6か月前
麗豊実業股フン有限公司
ラクトバチルス・パラカセイNB23菌株及びそれを筋肉量の増加や抗メタボリック症候群に用いる用途
6か月前
日東精工株式会社
ねじ締め機
2か月前
株式会社不二越
ドリル
6か月前
株式会社北川鉄工所
回転装置
5か月前
日東精工株式会社
ねじ締め機
1か月前
日東精工株式会社
ねじ締め機
6か月前
日東精工株式会社
ねじ締め機
3か月前
日東精工株式会社
ねじ締め装置
2か月前
キヤノン電子株式会社
加工装置
22日前
日東精工株式会社
ねじ締め装置
5か月前
ダイニチ工業株式会社
配膳治具
25日前
株式会社ダイヘン
溶接電源装置
3か月前
株式会社ダイヘン
溶接電源装置
4か月前
株式会社ダイヘン
溶接電源装置
4か月前
個人
切削油供給装置
3か月前
日東精工株式会社
ねじ整列トレー
17日前
株式会社FUJI
工作機械
1か月前
株式会社FUJI
工作機械
4か月前
株式会社FUJI
工作機械
5か月前
株式会社FUJI
工作機械
1か月前
睦月電機株式会社
金属表面処理方法
22日前
株式会社アンド
半田付け方法
6か月前
株式会社アンド
半田付け方法
2か月前
個人
型枠製造装置のフレーム
2か月前
キヤノン電子株式会社
加工システム
3か月前
株式会社アンド
半田付け方法
6か月前
中国電力株式会社
養生シート
1か月前
株式会社富田製作所
支持構造
1か月前
株式会社ツガミ
工作機械
2か月前
株式会社向洋技研
スタッドの製造方法
24日前
村田機械株式会社
レーザ加工機
6か月前
株式会社トヨコー
被膜除去方法
6か月前
村田機械株式会社
レーザ加工機
6か月前
続きを見る
他の特許を見る