TOP
|
特許
|
意匠
|
商標
特許ウォッチ
Twitter
他の特許を見る
10個以上の画像は省略されています。
公開番号
2025167384
公報種別
公開特許公報(A)
公開日
2025-11-07
出願番号
2024071934
出願日
2024-04-25
発明の名称
キャビネット及び分電盤
出願人
パナソニック株式会社
代理人
弁理士法人北斗特許事務所
主分類
H02B
1/40 20060101AFI20251030BHJP(電力の発電,変換,配電)
要約
【課題】本開示は、ベースからカバーを取り外す作業の作業性を向上させることを目的とする。
【解決手段】キャビネットU1は、ベース1と、カバー2と、スライド部材3と、を備える。カバー2は、一対の第2側壁24と、底壁23と、を有する。底壁23は、第2側壁24と隣接する領域に貫通孔230を有する。スライド部材3は、ベース1とカバー2とに囲まれた空間SP1に配置される取付部と、貫通孔230から空間SP1の外部に露出する操作部4と、を有する。取付部は、ロック位置では、ベース1の第1側壁14にカバー2の第2側壁24を取り付ける。取付部は、アンロック位置では、ベース1からカバー2を取り外し可能にする。
【選択図】図1
特許請求の範囲
【請求項1】
分電盤のキャビネットであって、
第1方向において互いに対向した一対の第1側壁と、一対の前記第1側壁を互いに連結する連結部と、一対の前記第1側壁の間に設けられた開口部と、を有するベースと、
前記第1方向において互いに対向した一対の第2側壁と、一対の前記第2側壁を互いに連結し前記第1方向と直交する第2方向において前記ベースの前記開口部を覆う底壁と、を有するカバーと、
スライド部材と、を備え、
前記底壁は、前記第2側壁と隣接する領域に貫通孔を有し、
前記スライド部材は、
前記ベースと前記カバーとに囲まれた空間に配置される取付部と、
前記貫通孔から前記空間の外部に露出する操作部と、を有し、
前記取付部は、前記貫通孔の内側において前記操作部を前記第1方向及び前記第2方向の両方と直交する第3方向に沿って移動させる操作に応じて、
前記ベースの前記第1側壁に前記カバーの前記第2側壁を取り付けるロック位置と、
前記ベースから前記カバーを取り外し可能にするアンロック位置と、の間を移動する、
キャビネット。
続きを表示(約 940 文字)
【請求項2】
前記カバーは、前記取付部が前記ロック位置にあるとき及び前記アンロック位置にあるときに前記取付部を保持するホルダを更に有する、
請求項1に記載のキャビネット。
【請求項3】
前記ホルダは、前記第2方向における前記取付部の移動を規制する、
請求項2に記載のキャビネット。
【請求項4】
前記取付部が前記ロック位置にあるとき、前記取付部は前記ベースの前記第1側壁に取り付けられ、
前記取付部が前記ロック位置から前記アンロック位置に移動するとき、前記取付部は前記ベースの前記第1側壁から取り外される、
請求項1に記載のキャビネット。
【請求項5】
前記カバーは、ガイド部を更に有し、
前記取付部は、前記ガイド部に沿って前記ロック位置と前記アンロック位置との間を移動する、
請求項1に記載のキャビネット。
【請求項6】
前記カバーは、前記操作部が前記貫通孔を通して前記ベースと前記カバーとに囲まれた前記空間に挿入されたときに前記スライド部材を保持し、前記第3方向における前記取付部の移動を規制する規制部を更に有する、
請求項1に記載のキャビネット。
【請求項7】
前記規制部は、前記取付部が前記アンロック位置にあるときに前記スライド部材が前記カバーに対して前記第2方向に移動することで前記スライド部材と嵌合する位置に設けられている、
請求項6に記載のキャビネット。
【請求項8】
前記取付部が前記規制部に保持されているとき、前記カバーのうち前記底壁に対して反対側の端部から前記スライド部材が突出している、
請求項7に記載のキャビネット。
【請求項9】
前記カバーは、前記底壁に設けられ作業者が外側から把持可能な取っ手を有する、
請求項1に記載のキャビネット。
【請求項10】
前記取付部を前記アンロック位置から前記ロック位置に移動させる力を前記取付部に加える弾性部材を更に備える、
請求項1に記載のキャビネット。
(【請求項11】以降は省略されています)
発明の詳細な説明
【技術分野】
【0001】
本開示は一般にキャビネット及び分電盤に関し、より詳細には、ベースと、ベースに取り付けられるカバーと、を備えるキャビネット及びこのキャビネットを備える分電盤に関する。
続きを表示(約 2,100 文字)
【背景技術】
【0002】
特許文献1に記載の分電盤は、ケース(ベース)と、カバーと、を備える。ケースは、底板と、底板の上下端に折曲された上端板及び下端板と、を有する。上端板及び下端板は、カバー取付用の6個の連結孔を形成している。カバーは、取付部と、取付部に支持された扉と、を有する。取付部は、6個の孔を形成している。取付部は、上端板及び下端板に取付具により取付けられている。取付具は連結孔及び孔に通すボルト及びボルトに螺合するナットからなり、取付具によってカバーがケースに取付けられる。
【先行技術文献】
【特許文献】
【0003】
特開2010-273465号公報
【発明の概要】
【発明が解決しようとする課題】
【0004】
本開示は、ベースからカバーを取り外す作業の作業性を向上させることができるキャビネット及び分電盤を提供することを目的とする。
【課題を解決するための手段】
【0005】
本開示の一態様に係るキャビネットは、分電盤のキャビネットであって、ベースと、カバーと、スライド部材と、を備える。前記ベースは、第1方向において互いに対向した一対の第1側壁と、一対の前記第1側壁を互いに連結する連結部と、一対の前記第1側壁の間に設けられた開口部と、を有する。前記カバーは、前記第1方向において互いに対向した一対の第2側壁と、一対の前記第2側壁を互いに連結する底壁と、を有する。前記底壁は、前記第1方向と直交する第2方向において前記ベースの前記開口部を覆う。前記底壁は、前記第2側壁と隣接する領域に貫通孔を有する。前記スライド部材は、前記ベースと前記カバーとに囲まれた空間に配置される取付部と、前記貫通孔から前記空間の外部に露出する操作部と、を有する。前記取付部は、前記貫通孔の内側において前記操作部を第3方向に沿って移動させる操作に応じて、ロック位置と、アンロック位置と、の間を移動する。前記第3方向は、前記第1方向及び前記第2方向の両方と直交する。前記取付部は、前記ロック位置では、前記ベースの前記第1側壁に前記カバーの前記第2側壁を取り付ける。前記取付部は、前記アンロック位置では、前記ベースから前記カバーを取り外し可能にする。
【0006】
本開示の一態様に係る分電盤は、キャビネットと、配線器具と、を備える。前記配線器具は、前記ベースと前記カバーとに囲まれた前記空間に配置されている。
【発明の効果】
【0007】
本開示には、ベースからカバーを取り外す作業の作業性を向上させることができるという利点がある。
【図面の簡単な説明】
【0008】
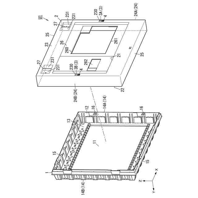
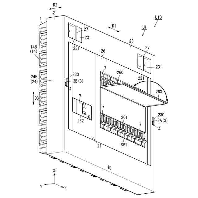
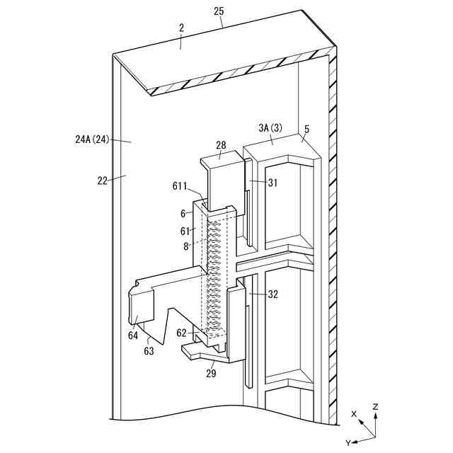
図1は、一実施形態に係るキャビネットを備える分電盤の斜視図である。
図2は、同上のキャビネットの分解斜視図である。
図3は、同上のキャビネットのスライド部材の側面図である。
図4は、同上のキャビネットのスライド部材の要部の斜視図である。
図5は、同上のキャビネットのスライド部材の要部の斜視図である。
図6は、同上のキャビネットのカバー及びスライド部材の斜視図である。
図7は、同上のキャビネットのカバー及びスライド部材の斜視図である。
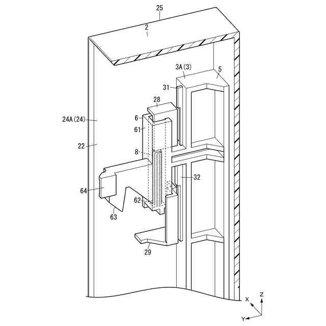
図8は、同上のキャビネットの断面斜視図である。
図9は、同上のキャビネットの側断面図である。
図10は、同上のキャビネットの側断面図である。
図11は、同上のキャビネットの側断面図である。
図12は、同上のキャビネットの側断面図である。
図13は、同上のキャビネットのカバー及びスライド部材の側断面図である。
図14は、同上のキャビネットのカバー及びスライド部材の側断面図である。
図15は、同上のキャビネットのカバー及びスライド部材の側断面図である。
【発明を実施するための形態】
【0009】
(実施形態)
以下、実施形態に係るキャビネットU1及び分電盤U10について、図面を用いて説明する。ただし、下記の実施形態は、本開示の様々な実施形態の1つに過ぎない。下記の実施形態は、本開示の目的を達成できれば、設計等に応じて種々の変更が可能である。また、下記の実施形態において説明する各図は、模式的な図であり、図中の各構成要素の大きさ及び厚さそれぞれの比が必ずしも実際の寸法比を反映しているとは限らない。
【0010】
また、各図面においてX軸方向を左右方向、Y軸方向を前後方向(奥行き方向)、Z軸方向を上下方向と規定する。さらに、X軸方向の正の向きを右、Y軸方向の正の向きを後ろ、Z軸方向の正の向きを上と規定する。ただし、これらの方向は一例であり、キャビネットU1及び分電盤U10の使用時の方向を限定する趣旨ではない。また、図面中の各方向を示す矢印は説明のために表記しているに過ぎず、実体を伴わない。
(【0011】以降は省略されています)
この特許をJ-PlatPat(特許庁公式サイト)で参照する
関連特許
パナソニック株式会社
分電盤
11日前
パナソニック株式会社
分電盤
11日前
パナソニック株式会社
分電盤
11日前
パナソニック株式会社
分電盤
11日前
パナソニック株式会社
キャビネット及び分電盤
11日前
パナソニック株式会社
キャビネット及び分電盤
11日前
パナソニック株式会社
電動工具及び電動工具システム
13日前
パナソニック株式会社
電動工具システム、及びアタッチメント
14日前
個人
単極モータ
1か月前
個人
電気を重力で発電装置
12日前
キヤノン電子株式会社
モータ
19日前
キヤノン電子株式会社
モータ
11日前
株式会社アイシン
ロータ
1か月前
株式会社アイシン
ロータ
1か月前
コーセル株式会社
電源装置
20日前
日星電気株式会社
ケーブル組立体
27日前
トヨタ自動車株式会社
モータ
11日前
トヨタ自動車株式会社
固定子
1か月前
株式会社デンソー
回転機
1か月前
株式会社アイシン
ステータ
1か月前
株式会社アイシン
ステータ
1か月前
株式会社アイシン
ステータ
1か月前
株式会社アイシン
ステータ
1か月前
株式会社ダイヘン
充電装置
1か月前
株式会社ダイヘン
充電装置
1か月前
株式会社ダイヘン
充電装置
1か月前
株式会社ダイヘン
充電装置
1か月前
個人
二次電池繰返パルス放電器用印刷基板
25日前
株式会社kaisei
発電システム
1か月前
株式会社ミツバ
回転電機
1か月前
株式会社ミツバ
回転電機
1か月前
株式会社デンソー
電力変換装置
26日前
株式会社デンソー
電力変換装置
1か月前
シャープ株式会社
表示装置
1か月前
トヨタ自動車株式会社
固定子の加熱装置
22日前
株式会社ダイヘン
インバータ装置
1か月前
続きを見る
他の特許を見る