TOP
|
特許
|
意匠
|
商標
特許ウォッチ
Twitter
他の特許を見る
10個以上の画像は省略されています。
公開番号
2025166210
公報種別
公開特許公報(A)
公開日
2025-11-05
出願番号
2025135772,2023101639
出願日
2025-08-18,2023-06-21
発明の名称
異なる粗さ値を有する表面を有する半導体パッケージ、および、その形成方法
出願人
台湾積體電路製造股ふん有限公司
,
Taiwan Semiconductor Manufacturing Company,Ltd.
代理人
弁理士法人牛木国際特許事務所
主分類
H01L
23/12 20060101AFI20251028BHJP(基本的電気素子)
要約
【課題】異なる粗さ値を有する表面を有する半導体パッケージ、および、その形成方法を提供する。
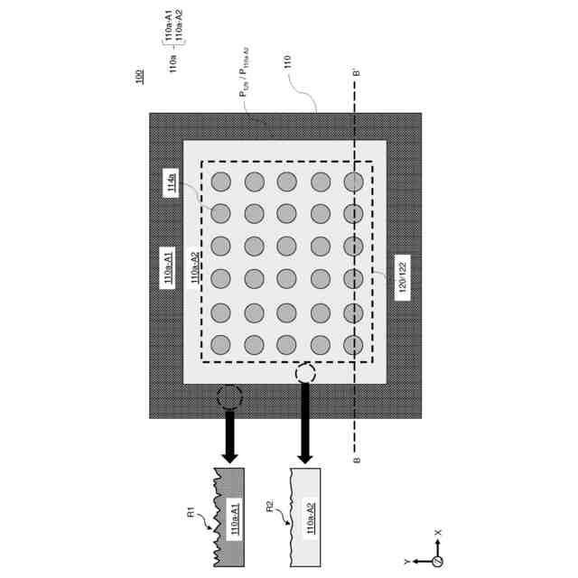
【解決手段】半導体パッケージ100は、パッケージ基板110及びインターポーザーモジュール120を有する。パッケージ基板は、第一表面粗さを有する第一表面領域110a-A1と、第一表面粗さより小さい第二表面粗さを有する第二表面領域110a-A2からなる上表面層110aを有し、インターポーザーモジュールは、第二表面領域中の上表面層上に搭載される。半導体パッケージはさらに、インターポーザー122を有し、インターポーザーは、上表面層122aを有し、上表面層は、第一表面粗さを有する第一表面領域及び第一表面粗さより小さい第二表面粗さを有する第二表面領域を有する。
【選択図】図1A
特許請求の範囲
【請求項1】
半導体パッケージであって、パッケージ基板、および、インターポーザーモジュールを有し、
前記パッケージ基板は、上表面層を有し、前記上表面層は、
第一表面粗さを有する第一表面領域、および、
前記第一表面粗さより小さい第二表面粗さを有する第二表面領域、を有し、
前記インターポーザーモジュールは、前記第二表面領域中の前記パッケージ基板の前記上表面層に搭載され、
前記インターポーザーモジュールと前記パッケージ基板間の前記第二表面領域上にあり、且つ、最外部の辺縁が、前記第二表面領域の最外部の辺縁に位置するパッケージアンダーフィル層をさらに有し、
前記第二表面領域の幅は、前記インターポーザーモジュールの幅より小さいことを特徴とする半導体パッケージ。
続きを表示(約 1,300 文字)
【請求項2】
前記第二表面領域は、複数のはんだ接合を有するバンプジョイント領域を有し、前記複数のはんだ接合は、前記インターポーザーモジュールと、前記パッケージ基板を電気的に接続することを特徴とする請求項1に記載の半導体パッケージ。
【請求項3】
前記第二表面領域は、それぞれ、前記第一表面領域に囲まれる複数の第二表面領域を有することを特徴とする請求項1に記載の半導体パッケージ。
【請求項4】
前記幅に垂直な方向において、前記第二表面領域のサイズは、前記インターポーザーモジュールのサイズより大きく、前記パッケージアンダーフィル層は、前記インターポーザーモジュールの最外部の辺縁を越えて、前記第二表面領域の前記最外部の辺縁に延伸することを特徴とする請求項1に記載の半導体パッケージ。
【請求項5】
前記幅に垂直な方向において、前記第二表面領域のサイズは、前記インターポーザーモジュールのサイズと実質上同じであり、よって、前記パッケージアンダーフィル層の前記最外部の辺縁は、前記インターポーザーモジュールの最外部の辺縁と実質上、アラインされることを特徴とする請求項1に記載の半導体パッケージ。
【請求項6】
前記幅に垂直な方向において、前記第二表面領域のサイズは、前記インターポーザーモジュールのサイズより小さいので、前記インターポーザーモジュールの最外部の辺縁は、前記パッケージアンダーフィル層の前記最外部の辺縁を越えて延伸することを特徴とする請求項1に記載の半導体パッケージ。
【請求項7】
半導体パッケージを形成する方法であって、前記方法は、
上表面層を有するパッケージ基板を形成する工程と、
前記上表面層を処理して、第一表面粗さを有する第一表面領域、および、前記第一表面粗さより小さい第二表面粗さを有する第二表面領域を提供する工程、および、
インターポーザーモジュールを、前記パッケージ基板の前記上表面層の前記第二表面領域中に搭載する工程、
を有し、
前記半導体パッケージは、前記インターポーザーモジュールと前記パッケージ基板間の前記第二表面領域上にあり、且つ、最外部の辺縁が、前記第二表面領域の最外部の辺縁に位置するパッケージアンダーフィル層を有し、
前記第二表面領域の幅は、前記インターポーザーモジュールの幅より小さいことを特徴とする半導体パッケージを形成する方法。
【請求項8】
請求項1~6のいずれか1項に記載の半導体パッケージであって、前記インターポーザーモジュールが、インターポーザー、および、半導体装置を有し、
前記インターポーザーは、上表面層を有し、前記上表面層は、
第一表面粗さを有する第一表面領域、および、
前記第一表面粗さより小さい第二表面粗さを有する第二表面領域、を有し、
前記半導体装置は、前記インターポーザーの前記上表面層の前記第二表面領域に搭載されることを特徴とする半導体パッケージ。
【請求項9】
前記上表面層の前記第一表面粗さは、前記上表面層の前記第二表面粗さの1.5倍より大きいことを特徴とする請求項8に記載の半導体パッケージ。
発明の詳細な説明
【技術分野】
【0001】
本発明は、半導体パッケージに関するものであって、特に、異なる粗さ値を有する表面を有する半導体パッケージに関するものである。
続きを表示(約 1,700 文字)
【背景技術】
【0002】
典型的な半導体パッケージは、パッケージ基板上に搭載されたインターポーザーモジュール(interposer module)を有する。インターポーザーモジュールは、インターポーザー上に搭載された一つ以上の半導体装置(たとえば、半導体ダイ)を有する。半導体パッケージは、プリント回路板(PCB)上にも搭載される。各状況において、アンダーフィル材料(underfill material)は、基板表面上(たとえば、パッケージ基板の表面、インターポーザーの表面、あるいは、PCBの表面)、および、基板表面と基板表面上に搭載されるアイテム間に形成される。
【0003】
典型的な半導体構造において、基板表面上に形成されるアンダーフィル材料(たとえば、パッケージ基板の表面、インターポーザーの表面、あるいは、PCBの表面上に形成されるアンダーフィル材料)の流速が、緩慢であるという問題が発生する。緩慢な流速は、アンダーフィル材料中で、不均一な流動線条(flow striation)を生成する。緩慢な流速はさらに、アンダーフィル材料中で、一つ以上の細孔(void)を形成する。
【0004】
判明していることは、基板表面粗さが、アンダーフィル流動パフォーマンス、および、アンダーフィル(UF)細孔生成のリスクに影響することである。特に、フリップチップボールグリッドアレイ(FCBGA)パッケージにおいて、基板表面粗さは、アンダーフィル流動、および、アンダーフィル細孔に影響する。
【発明の概要】
【発明が解決しようとする課題】
【0005】
本発明は、異なる粗さ値を有する表面を有する半導体パッケージ、および、その形成方法を提供し、上述の問題を解決することを目的とする。
【課題を解決するための手段】
【0006】
本発明のいくつかの実施形態は、パッケージ基板、および、インターポーザーモジュールを有する半導体パッケージを提供する。パッケージ基板は、上表面層を有し、上表面層は、第一表面粗さを有する第一表面領域、および、第一表面粗さより小さい第二表面粗さを有する第二表面領域を有する。インターポーザーモジュールは、第二表面領域中のパッケージ基板の上表面層上に搭載される。
【0007】
本発明のいくつかの実施形態は、半導体パッケージの形成方法を提供し、本方法は、上表面層を有するパッケージ基板を形成する工程と、上表面層を処理して、上表面層が、第一表面粗さを有する第一表面領域、および、第一表面粗さより小さい第二表面粗さを有する第二表面領域を有する工程、および、パッケージ基板の上表面層の第二表面領域中に、インターポーザーモジュールを搭載する工程、を有する。
【0008】
本発明のいくつかの実施形態は、インターポーザー、および、半導体装置を有するインターポーザーモジュールを提供する。インターポーザーは、上表面層を有し、上表面層は、第一表面粗さを有する第一表面領域、および、第一表面粗さより小さい第二表面粗さを有する第二表面領域を有する。半導体装置は、インターポーザーの上表面層の第二表面領域中に搭載される。
【発明の効果】
【0009】
ここで開示される一つ以上の実施形態は、アンダーフィルフィリング増強のための新規の基板構造を有する。新規の基板構造は、専用領域中に、ハイブリッド表面粗さを有する。新規の基板構造を有する各種実施形態は、異なる表面粗さ値(たとえば、基板、あるいは、インターポーザー中に)を有する領域を構築することにより、良好なアンダーフィル流動、および、フィリングパフォーマンスを提供する。
【図面の簡単な説明】
【0010】
添付図面を参照し、以下の詳細な記述から、本発明の態様をより理解することができる。注意すべきことは、業界の標準的技法において、各種特徴は、尺寸通りに描かれていないことである。実際、各種特徴の尺寸は、討論を明瞭にするため、任意に増加、あるいは、減少する。
(【0011】以降は省略されています)
この特許をJ-PlatPat(特許庁公式サイト)で参照する
関連特許
東ソー株式会社
絶縁電線
17日前
APB株式会社
蓄電セル
15日前
個人
フレキシブル電気化学素子
29日前
マクセル株式会社
電源装置
9日前
株式会社東芝
端子台
9日前
日新イオン機器株式会社
イオン源
25日前
株式会社ユーシン
操作装置
29日前
ローム株式会社
半導体装置
16日前
株式会社GSユアサ
蓄電設備
29日前
株式会社GSユアサ
蓄電装置
2日前
太陽誘電株式会社
コイル部品
29日前
オムロン株式会社
電磁継電器
1か月前
株式会社GSユアサ
蓄電装置
10日前
株式会社GSユアサ
蓄電装置
10日前
株式会社GSユアサ
蓄電設備
29日前
株式会社ホロン
冷陰極電子源
23日前
トヨタ自動車株式会社
冷却構造
17日前
日東電工株式会社
積層体
1か月前
トヨタ自動車株式会社
蓄電装置
29日前
ノリタケ株式会社
熱伝導シート
29日前
日本特殊陶業株式会社
保持装置
18日前
日本特殊陶業株式会社
保持装置
1日前
サクサ株式会社
電池の固定構造
29日前
北道電設株式会社
配電具カバー
15日前
トヨタ自動車株式会社
バッテリ
15日前
トヨタ自動車株式会社
バッテリ
1か月前
日新イオン機器株式会社
基板処理装置
12日前
トヨタ自動車株式会社
蓄電装置
10日前
日本無線株式会社
レーダアンテナ
3日前
株式会社トクヤマ
シリコンエッチング液
23日前
ベストテック株式会社
装置支持具
29日前
トヨタ自動車株式会社
電池パック
22日前
トヨタ自動車株式会社
電池パック
22日前
トヨタ自動車株式会社
密閉型電池
11日前
日亜化学工業株式会社
半導体レーザ素子
12日前
ローム株式会社
半導体装置
17日前
続きを見る
他の特許を見る