TOP
|
特許
|
意匠
|
商標
特許ウォッチ
Twitter
他の特許を見る
公開番号
2025165282
公報種別
公開特許公報(A)
公開日
2025-11-04
出願番号
2024069305
出願日
2024-04-22
発明の名称
モニタリング装置、処理装置、およびコンピュータプログラム
出願人
日本光電工業株式会社
代理人
弁理士法人信栄事務所
主分類
A61B
5/1455 20060101AFI20251027BHJP(医学または獣医学;衛生学)
要約
【課題】ディスプレイに示された生体パラメータの値の細かな揺らぎを抑制しつつ、当該値が表示されるまでの待機時間を短縮する。
【解決手段】処理装置11は、対象者に装着されたセンサ30を通じて相違する態様で取得された第一強度信号S1、第二強度信号S2、および第三強度信号S3を受け付ける。処理装置11は、第一強度信号S1と第二強度信号S2に基づいてSpO2の測定値Smを算出する。処理装置11は、第一強度信号S1または第二強度信号S2と第三強度信号S3に基づいてSpO2の推定値Seを算出する。処理装置11は、測定値Smと推定値Seに基づいてSpO2の時間移動平均値Saを算出し、ディスプレイに表示する。
【選択図】図2
特許請求の範囲
【請求項1】
対象者に装着されたセンサから取得される信号を受け付けるインタフェースと、
前記信号に基づいて前記対象者の生体パラメータの時間移動平均値を算出するプロセッサと、
前記時間移動平均値を表示するディスプレイと、
を備えており、
前記信号は、相違する態様で取得された第一信号と第二信号を含んでおり、
前記プロセッサは、
前記第一信号に基づいて前記生体パラメータの値を算出し、
前記第一信号と前記第二信号に基づいて前記生体パラメータの推定値を算出し、
前記生体パラメータの値と前記生体パラメータの推定値に基づいて前記時間移動平均値を算出する、
モニタリング装置。
続きを表示(約 1,300 文字)
【請求項2】
前記第一信号は、
前記対象者の生体組織を通過した第一波長を含む第一の光の強度に対応する第一強度信号と、
前記生体組織を通過した前記第一波長と異なる第二波長を含む第二の光の強度に対応する第二強度信号と、
を含んでおり、
前記第二信号は、前記生体組織を通過した前記第一波長および前記第二波長と異なる第三波長を含む第三の光の強度に対応する第三強度信号であり、
前記生体パラメータは、経皮的動脈血酸素飽和度である、
請求項1に記載のモニタリング装置。
【請求項3】
対象者に装着されたセンサから取得される信号に基づいて算出された当該対象者の生体パラメータの時間移動平均値をディスプレイに表示させる処理装置であって、
前記信号に対応するデータを受け付けるインタフェースと、
前記データに基づいて前記時間移動平均値を算出するプロセッサと、
を備えており、
前記信号は、相違する態様で取得された第一信号と第二信号を含んでおり、
前記プロセッサは、
前記第一信号に対応するデータに基づいて前記生体パラメータの値を算出し、
前記第一信号に対応するデータと前記第二信号に対応するデータに基づいて前記生体パラメータの推定値を算出し、
前記生体パラメータの値と前記生体パラメータの推定値に基づいて前記時間移動平均値を算出する、
処理装置。
【請求項4】
対象者に装着されたセンサから取得される信号に基づいて算出された当該対象者の生体パラメータの時間移動平均値をディスプレイに表示させる処理装置に搭載されるプロセッサにより実行可能なコンピュータプログラムであって、
実行されることにより、前記処理装置は、
前記信号に対応するデータを受け付け、
前記データに基づいて前記時間移動平均値を算出し、
を備えており、
前記信号は、相違する態様で取得された第一信号と第二信号を含んでおり、
前記処理装置は、
前記第一信号に対応するデータに基づいて前記生体パラメータの値を算出し、
前記第一信号に対応するデータと前記第二信号に対応するデータに基づいて前記生体パラメータの推定値を算出し、
前記生体パラメータの値と前記生体パラメータの推定値に基づいて前記時間移動平均値を算出する、
コンピュータプログラム。
【請求項5】
対象者の生体パラメータをモニタリングする方法であって、
対象者に装着されたセンサを通じて相違する態様で取得された第一信号と第二信号を受け付け、
前記第一信号に基づいて前記対象者の前記生体パラメータの値を算出し、
前記第一信号と前記第二信号に基づいて前記生体パラメータの推定値を算出し、
前記生体パラメータの値と前記生体パラメータの推定値に基づいて前記生体パラメータの時間移動平均値を算出し、
前記時間移動平均値をディスプレイに表示させる、
モニタリング方法。
発明の詳細な説明
【技術分野】
【0001】
本開示は、対象者に装着されたセンサから取得される信号に基づいて当該対象者の生体パラメータの時間移動平均値をモニタリングする装置および方法に関連する。本開示は、当該時間移動平均値をディスプレイ上に表示させる処理装置、および当該処理装置に搭載されたプロセッサにより実行可能なコンピュータプログラムにも関連する。
続きを表示(約 2,200 文字)
【背景技術】
【0002】
特許文献1は、生体パラメータの一例として対象者の血中吸光物質の濃度を算出するパルスオキシメータを開示している。周期的に算出される複数の濃度値は、時間移動平均処理に供されることにより細かな揺らぎが抑制された(表示値の安定性が高められた)状態でディスプレイに表示される。時間移動平均処理に供される濃度値の数(区間数)を多くするほど表示値の安定性は高まるが、表示されるまでの待機時間が長くなる。
【先行技術文献】
【特許文献】
【0003】
特開平07-171139号公報
【発明の概要】
【発明が解決しようとする課題】
【0004】
ディスプレイに示された生体パラメータの値の細かな揺らぎを抑制しつつ、当該値が表示されるまでの待機時間を短縮することが求められている。
【課題を解決するための手段】
【0005】
本開示により提供される一態様例は、モニタリング装置であって、
対象者に装着されたセンサから取得される信号を受け付けるインタフェースと、
前記信号に基づいて前記対象者の生体パラメータの時間移動平均値を算出するプロセッサと、
前記時間移動平均値を表示するディスプレイと、
を備えており、
前記信号は、相違する態様で取得された第一信号と第二信号を含んでおり、
前記プロセッサは、
前記第一信号に基づいて前記生体パラメータの値を算出し、
前記第一信号と前記第二信号に基づいて前記生体パラメータの推定値を算出し、
前記生体パラメータの値と前記生体パラメータの推定値に基づいて前記時間移動平均値を算出する。
【0006】
本開示により提供される一態様例は、対象者に装着されたセンサから取得される信号に基づいて算出された当該対象者の生体パラメータの時間移動平均値をディスプレイに表示させる処理装置であって、
前記信号に対応するデータを受け付けるインタフェースと、
前記データに基づいて前記時間移動平均値を算出するプロセッサと、
を備えており、
前記信号は、相違する態様で取得された第一信号と第二信号を含んでおり、
前記プロセッサは、
前記第一信号に対応するデータに基づいて前記生体パラメータの値を算出し、
前記第一信号に対応するデータと前記第二信号に対応するデータに基づいて前記生体パラメータの推定値を算出し、
前記生体パラメータの値と前記生体パラメータの推定値に基づいて前記時間移動平均値を算出する。
【0007】
本開示により提供される一態様例は、対象者に装着されたセンサから取得される信号に基づいて算出された当該対象者の生体パラメータの時間移動平均値をディスプレイに表示させる処理装置に搭載されるプロセッサにより実行可能なコンピュータプログラムであって、
実行されることにより、前記処理装置は、
前記信号に対応するデータを受け付け、
前記データに基づいて前記時間移動平均値を算出し、
を備えており、
前記信号は、相違する態様で取得された第一信号と第二信号を含んでおり、
前記処理装置は、
前記第一信号に対応するデータに基づいて前記生体パラメータの値を算出し、
前記第一信号に対応するデータと前記第二信号に対応するデータに基づいて前記生体パラメータの推定値を算出し、
前記生体パラメータの値と前記生体パラメータの推定値に基づいて前記時間移動平均値を算出する。
【0008】
本開示により提供される一態様例は、対象者の生体パラメータをモニタリングする方法であって、
対象者に装着されたセンサを通じて相違する態様で取得された第一信号と第二信号を受け付け、
前記第一信号に基づいて前記対象者の前記生体パラメータの値を算出し、
前記第一信号と前記第二信号に基づいて前記生体パラメータの推定値を算出し、
前記生体パラメータの値と前記生体パラメータの推定値に基づいて前記生体パラメータの時間移動平均値を算出し、
前記時間移動平均値をディスプレイに表示させる。
【0009】
上記の各態様例に係る構成によれば、第一信号と第二信号が取得される度に生体パラメータの値と推定値が算出されるので、単位時間あたりに取得される生体パラメータの値の見掛け上の数を増やすことができる。換言すると、所望の移動時間平均値を算出するのに必要な生体パラメータの区間数を確保するための時間を短縮できる。したがって、ディスプレイに表示された生体パラメータの値の細かな揺らぎを抑制しつつ、当該値が表示されるまでの待機時間を短縮できる。
【図面の簡単な説明】
【0010】
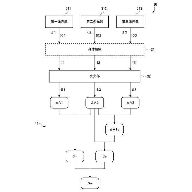
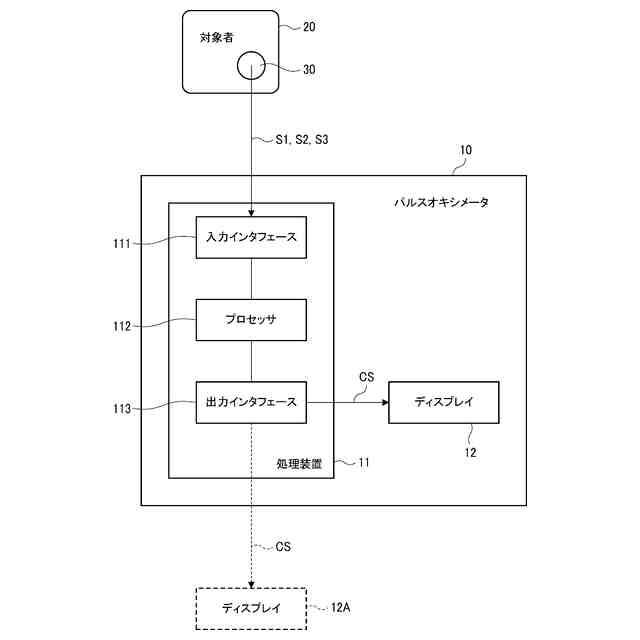
一実施形態例に係るパルスオキシメータの機能構成を例示している。
図1のパルスオキシメータの動作を例示している。
図2における時間移動平均値の算出処理を例示している。
比較例に係る時間移動平均値の算出処理を例示している。
【発明を実施するための形態】
(【0011】以降は省略されています)
特許ウォッチbot のツイートを見る
この特許をJ-PlatPat(特許庁公式サイト)で参照する
関連特許
日本光電工業株式会社
モニタリング装置、処理装置、およびコンピュータプログラム
1日前
日本光電工業株式会社
評価システム
1か月前
個人
貼付剤
9日前
個人
短下肢装具
3か月前
個人
排尿補助器具
22日前
個人
洗井間専家。
7か月前
個人
前腕誘導装置
3か月前
個人
白内障治療法
7か月前
個人
嚥下鍛錬装置
4か月前
個人
バッグ式オムツ
4か月前
個人
矯正椅子
5か月前
個人
汚れ防止シート
1か月前
個人
アイマスク装置
2か月前
個人
ウォート指圧法
20日前
個人
腰ベルト
12日前
個人
ホバーアイロン
7か月前
個人
歯の修復用材料
4か月前
個人
胸骨圧迫補助具
2か月前
個人
湿布連続貼り機。
2か月前
個人
車椅子持ち上げ器
7か月前
個人
哺乳瓶冷まし容器
3か月前
個人
シャンプー
6か月前
個人
陣痛緩和具
4か月前
三生医薬株式会社
錠剤
7か月前
個人
歯の保護用シール
5か月前
株式会社八光
剥離吸引管
5か月前
個人
服薬支援装置
7か月前
株式会社大野
骨壷
4か月前
株式会社結心
手袋
8か月前
個人
性行為補助具
3か月前
株式会社コーセー
化粧料
19日前
個人
エア誘導コルセット
2か月前
個人
治療用酸化防御装置
1か月前
株式会社GSユアサ
歩行器
5か月前
株式会社ダリヤ
毛髪化粧料
1か月前
個人
高気圧環境装置
4か月前
続きを見る
他の特許を見る