TOP
|
特許
|
意匠
|
商標
特許ウォッチ
Twitter
他の特許を見る
10個以上の画像は省略されています。
公開番号
2025164789
公報種別
公開特許公報(A)
公開日
2025-10-30
出願番号
2025131494,2021005058
出願日
2025-08-06,2021-01-15
発明の名称
ポンプ・デバイス、使い捨てデバイス、及びポンプ・デバイスの作動方法
出願人
レヴィトロニクス ゲーエムベーハー
代理人
弁理士法人浅村特許事務所
主分類
F04D
15/00 20060101AFI20251023BHJP(液体用容積形機械;液体または圧縮性流体用ポンプ)
要約
【課題】使い捨てデバイス及び再利用可能なデバイスを備える、流体を輸送するポンプ・デバイス、並びにその作動方法を提供すること。
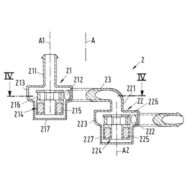
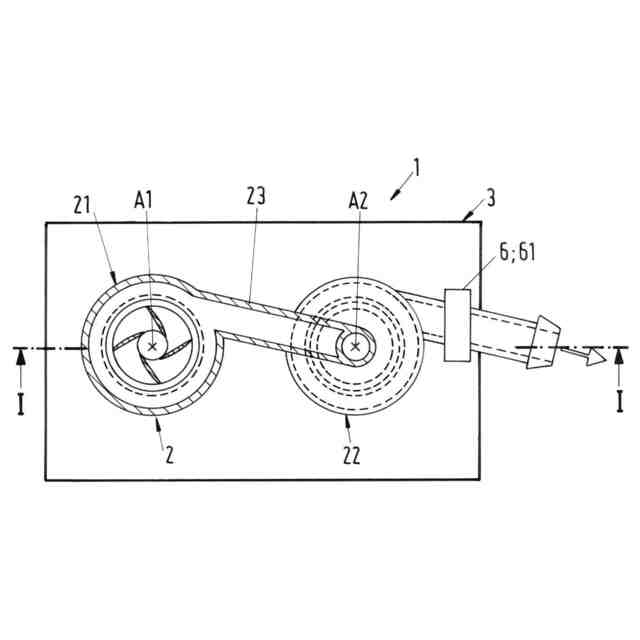
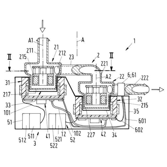
【解決手段】使い捨てデバイス2は、再利用可能なデバイス3内に挿入され、直列に前後に配置される2つのポンプ・ユニット21、22を備え、各ポンプ・ユニットは、ベアリングレス・モータのロータとして設計されたロータを備え、非接触で磁気的に浮上させて駆動することができ、再利用可能なデバイス3は、ロータを回転させる電磁回転駆動装置を形成する、ステータ31、32をロータごとに備え、各ステータは、それによってロータを非接触で磁気的に駆動でき、且つ非接触でステータに対して磁気的に浮上させ得る、支持及び駆動ステータであり、それぞれのステータを別々に起動させる、別々の制御デバイスがステータごとに備えられる。
【選択図】図1
特許請求の範囲
【請求項1】
1回だけ使用するよう設計された使い捨てデバイス(2)、及び複数回使用するよう設計された再利用可能なデバイス(3)を備える、流体を輸送するポンプ・デバイスであって、前記使い捨てデバイス(2)は、前記再利用可能なデバイス(3)内に挿入されるよう設計され、直列に前後に配置される2つのポンプ・ユニット(21、22)を備え、各前記ポンプ・ユニット(21、22)は、前記流体を輸送するためのロータ(214、224)を備え、各前記ロータ(214、224)は、ベアリングレス・モータのロータとして設計され、非接触で磁気的に浮上させて、非接触で軸方向(A)を中心にして回転するよう駆動することができ、前記再利用可能なデバイス(3)は、前記使い捨てデバイス(2)を挿入するように設計され、前記ロータ(214、224)と共に、前記軸方向(A)を中心にして前記ロータ(214、224)を回転させる電磁回転駆動装置を形成する、ステータ(31、32)を前記ロータ(214、224)ごとに備え、各前記ステータ(31、32)は、それによって前記ロータ(214、224)を非接触で磁気的に駆動でき、且つ非接触で前記ステータ(31、32)に対して磁気的に浮上させ得る、支持及び駆動ステータとして設計されており、前記それぞれのステータ(31、32)を別々に起動させるよう設計された、別々の制御デバイス(41、42)が前記ステータ(31、32)ごとに備えられる、ポンプ・デバイス。
発明の詳細な説明
【技術分野】
【0001】
本発明は、流体を輸送するポンプ・デバイス、かかるポンプ・デバイス用使い捨てデバイス、及びポンプ・デバイスを作動させる方法に関する。
続きを表示(約 2,000 文字)
【背景技術】
【0002】
生物工学的用途又は医療技術用途において、ポンプは、それを使って血液、細胞培養物、又はタンパク質などの非常に影響を受けやすい物質を輸送できる必要があることが多く、そのため、これらの物質がポンプによってできる限り損傷されないようにすることが極めて重要である。このため、一方では蠕動ポンプ、他方では遠心ポンプが知られており、羽根を備えた回転ロータ(羽根車)が運ばれるべき流体に作用する。
【0003】
ベアリングレス・モータの原理にしたがって設計及び作動される、電磁回転駆動装置を備える遠心ポンプが知られている。なお、ベアリングレス・モータという用語は、ロータがステータに対して完全に磁気的に浮上し、別個の磁気ベアリングが設けられていない電磁回転駆動装置を意味する。このため、ステータは、電気駆動のステータであり、磁気浮上のステータでもある、支持及び駆動ステータとして設計されている。磁気回転する磁場は、ステータの電気巻線によって生成でき、磁気回転する磁場は、一方ではロータにトルクを加え、トルクはロータの回転に影響を与え、他方では剪断力を加え、剪断力は所望通りにロータに設定できるため、ロータの径方向の位置を能動的に制御又は調節できる。したがって、ロータの3自由度、すなわちロータの回転及び径方向の位置(2自由度)を、能動的に調節できる。さらに3自由度、すなわち軸方向のロータの位置及び所望の回転軸に垂直な径方向平面に対する傾斜(2自由度)に関して、ロータは、磁気抵抗力によって受動的に磁気浮上又は安定化され、すなわち、ロータは能動化され得ない。ロータの完全な磁気浮上によって、別個の磁気ベアリングがないことが特質であり、これによりベアリングレス・モータの名前が与えられている。
【0004】
ベアリングレス・モータは、既に当業者には十分よく知られるようになっており、多くの様々な用途に使用されている。いくつかの基本的な説明は、たとえば、欧州特許A-0 860 046及び欧州特許A-0 819 330に見ることができる。
【0005】
ベアリングレス・モータの原理にしたがって設計された遠心ポンプは、多くの用途で実証されてきた。
【0006】
機械式ベアリングがないため、ベアリングレス・モータの原理にしたがって設計された遠心ポンプは、冒頭で述べた非常に影響を受けやすい物質が輸送されるような用途に、たとえば血液ポンプとして、若しくはたとえば製薬業界又は生物工学業界での、純度に関して非常に高い要求を受けるポンプとして、又は機械式ベアリングを非常に早期に破壊することになる研磨性若しくは浸食性物質(aggressive substance)が輸送される用途、たとえば泥漿若しくは半導体産業での酸性流体用ポンプにも、特に好適である。
【0007】
かかる用途の実例としては、体外式膜型人工肺(ECMO:extracorporeal membrane oxygenation)があり、血液は、肺内の気体交換に取って代わり、血液から二酸化炭素を除去し、血液を酸素富化する膜型人工肺を通って、継続的に搬送される。さらに、心肺装置として手術中に肺の機能を引き継ぐ機械(CPB:cardiopulmonary bypass、心肺バイパス)もある。たとえば、生物工学では、ポンプは、バイオリアクタを通して栄養液を循環させるため、又はフィルタ・ユニットを通して流体を移動させ、生成されるべき基質をフィルタ・ユニットで抽出するために必要である。
【0008】
これらの用途、具体的には医療技術及び生物工学的用途では、当然冗長性を実現する必要がある。というのは、ポンプ・デバイスが故障した場合に、当然、患者又は作成されるべき物質が確実に危険にさらされないようにする必要があるためである。したがって、ポンプ・デバイスが故障した場合に、不良のポンプ・デバイスを交換し、その機能を引き継ぐために、通常は第2の同一のポンプ・デバイスを準備しておくのが一般的なやり方である。
【0009】
すべてのこうした用途で、ベアリングレス・モータの原理にしたがって設計された遠心ポンプは、具体的には、プロセスの純度に悪影響を与える可能性のある機械式ベアリングがここに設けられていないので、首尾良くいくことが実証されている。
【0010】
ベアリングレス・モータの原理のさらなる利点は、電磁駆動のロータであり、遠心ポンプのロータでもある、一体型ロータとしてのロータの設計である。非接触の磁気浮上に加えて、ここでの利点は、非常に小型で省スペースの設計である。
(【0011】以降は省略されています)
この特許をJ-PlatPat(特許庁公式サイト)で参照する
関連特許
個人
海流製造装置。
1か月前
株式会社スギノマシン
圧縮機
25日前
株式会社ツインバード
送風装置
1か月前
株式会社ツインバード
送風装置
1か月前
日機装株式会社
遠心ポンプ
17日前
カヤバ株式会社
電動ポンプ
2か月前
ビッグボーン株式会社
送風装置
2か月前
株式会社不二越
蓄圧装置
3か月前
株式会社ノーリツ
ロータリ圧縮機
2か月前
サンデン株式会社
スクロール圧縮機
1か月前
サンデン株式会社
スクロール圧縮機
1か月前
サンデン株式会社
スクロール圧縮機
1か月前
樫山工業株式会社
真空ポンプ
26日前
小倉クラッチ株式会社
ルーツブロア
3か月前
株式会社不二越
ベーンポンプ
3か月前
株式会社ノーリツ
ロータリー圧縮機
4か月前
株式会社坂製作所
スクロール圧縮機
4か月前
サンデン株式会社
可変容量型圧縮機
4日前
エドワーズ株式会社
真空ポンプ
1か月前
株式会社アイシン
ポンプケース
1か月前
株式会社チロル
送風機、送風機付衣服
2か月前
株式会社島津製作所
真空ポンプ
1か月前
株式会社島津製作所
真空ポンプ
2か月前
株式会社豊田自動織機
流体機械
1か月前
株式会社豊田自動織機
電動圧縮機
1か月前
株式会社豊田自動織機
電動圧縮機
3か月前
株式会社豊田自動織機
電動圧縮機
2か月前
NTN株式会社
電動オイルポンプ
1か月前
株式会社豊田自動織機
電動圧縮機
1か月前
株式会社豊田自動織機
電動圧縮機
2か月前
株式会社ナノバブル研究所
気液駆動装置
1か月前
株式会社豊田自動織機
電動圧縮機
3か月前
株式会社豊田自動織機
電動圧縮機
3か月前
已久工業股ふん有限公司
空気圧縮機構造
3か月前
株式会社豊田自動織機
電動圧縮機
3か月前
株式会社豊田自動織機
電動圧縮機
1か月前
続きを見る
他の特許を見る