TOP
|
特許
|
意匠
|
商標
特許ウォッチ
Twitter
他の特許を見る
10個以上の画像は省略されています。
公開番号
2025164545
公報種別
公開特許公報(A)
公開日
2025-10-30
出願番号
2024068582
出願日
2024-04-19
発明の名称
推奨量出力システム、推奨量出力方法及びプログラム
出願人
株式会社ダイセル
代理人
弁理士法人秀和特許事務所
主分類
G16H
10/00 20180101AFI20251023BHJP(特定の用途分野に特に適合した情報通信技術)
要約
【課題】個別のユーザのエクオール摂取量を改善する推奨量出力システム、方法及びプログラムを提供する。
【解決手段】システム100は、ユーザのエクオール産生量の予測値と、所定の目標量とを用いて、ユーザのエクオール不足量を算出することと、算出されたエクオール不足量と、ユーザのエクオール産生能の程度を表す指標値とに基づいて、ユーザが摂取すべきエクオール又はイソフラボンの推奨量を算出することと、算出された推奨量を出力することと、を実行する1以上のコンピュータ(サーバ1及び端末2A~2C)を含む推奨量出力システムであって、サーバは、プロセッサ11、記憶装置12及び通信インターフェース(IF)13を含み、端末は、プロセッサ、記憶装置、通信IF及びユーザに対して情報の入出力を行うための入出力インターフェース(IF)を含み、サーバと端末とは、ネットワーク3を介して通信可能に接続されている。
【選択図】図1
特許請求の範囲
【請求項1】
ユーザのエクオール産生量の予測値と、所定の目標量とを用いて、前記ユーザのエクオール不足量を算出することと、
算出されたエクオール不足量と、前記ユーザのエクオール産生能の程度を表す指標値とに基づいて、前記ユーザが摂取すべきエクオール及び/又はイソフラボンの推奨量を算出することと、
算出された推奨量を出力することと、
を実行する1以上のコンピュータを含む推奨量出力システム。
続きを表示(約 1,300 文字)
【請求項2】
前記エクオール産生量の予測値は、前記ユーザのエクオール排出量を用いて予測される
請求項1に記載の推奨量出力システム。
【請求項3】
前記エクオール産生量の予測値は、前記ユーザのウェアラブル端末から取得されるバイタルデータを用いて予測される
請求項1又は2に記載の推奨量出力システム。
【請求項4】
前記バイタルデータは、前記ユーザの心電図、心拍数、血中酸素濃度、睡眠の質を表す指標、体温、発汗量及び汗の成分の少なくとも何れかを含む
請求項3に記載の推奨量出力システム。
【請求項5】
前記指標値は、前記ユーザが所定期間以上、食事によるイソフラボンの摂取を控え、且つ所定量のイソフラボン含有サプリメントを摂取してから所定時間経過後のエクオール排出量又は血中濃度に応じた値である
請求項1に記載の推奨量出力システム。
【請求項6】
前記エクオール産生量の予測値は、
前記ユーザが所定期間、食事によるイソフラボンの摂取を控えた後の前記バイタルデータ及びエクオール排出量と、
前記ユーザが所定期間、食事によるイソフラボンの摂取を控え、且つ所定量のイソフラボン含有サプリメントを摂取した後の前記バイタルデータ及びエクオール排出量と、
の関係を学習した予測モデルを用いて予測される
請求項3に記載の推奨量出力システム。
【請求項7】
前記イソフラボンの推奨量を前記ユーザが摂取したことを示す情報を受信した後に算出される摂取後のエクオール不足量が所定の条件を満たす場合、前記目標量と摂取後のエクオール不足量との関係に基づいて、前記予測モデル、又は前記不足量若しくは前記推奨量の補正係数を修正する
請求項6に記載の推奨量出力システム。
【請求項8】
ユーザのエクオール産生量の予測値と、所定の目標量とを用いて、前記ユーザのエクオール不足量を算出することと、
算出されたエクオール不足量と、前記ユーザのエクオール産生能の程度を表す指標値とに基づいて、前記ユーザが摂取すべきエクオール及び/又はイソフラボンの推奨量を算出することと、
算出された推奨量を出力することと、
を1以上のコンピュータが実行する推奨量出力方法。
【請求項9】
前記指標値は、前記ユーザが所定期間以上、食事によるイソフラボンの摂取を控え、且つ所定量のイソフラボン含有サプリメントを摂取してから所定時間経過後のエクオール排
出量又は血中濃度に応じた値である
請求項8に記載の推奨量出力方法。
【請求項10】
ユーザのエクオール産生量の予測値と、所定の目標量とを用いて、前記ユーザのエクオール不足量を算出することと、
算出されたエクオール不足量と、前記ユーザのエクオール産生能の程度を表す指標値とに基づいて、前記ユーザが摂取すべきエクオール及び/又はイソフラボンの推奨量を算出することと、
算出された推奨量を出力することと、
を1以上のコンピュータに実行させるためのプログラム。
(【請求項11】以降は省略されています)
発明の詳細な説明
【技術分野】
【0001】
本開示は、推奨量出力システム、推奨量出力方法及びプログラムに関する。
続きを表示(約 3,700 文字)
【背景技術】
【0002】
従来、ユーザが摂取不足している栄養素を補う食品リストを提案するシステムが提案されていた(例えば特許文献1)。本システムでは、携帯端末から、ユーザの摂取した栄養素の過不足量を商品提案サーバに送信する。商品提案サーバは、受信した栄養素の過不足情報に応じて、各種栄養素を補う商品名を格納した商品データベースを参照して、ユーザが摂取すべき商品に関する情報を携帯端末に返信する。
【先行技術文献】
【特許文献】
【0003】
特開2007-26262号公報
【発明の概要】
【発明が解決しようとする課題】
【0004】
イソフラボンから産生されるエクオールの産生能は、腸内環境に依存し、個人によって大きく異なる。しかしながら、エクオールやイソフラボンのサプリメントには、一律の摂取量が記載されることが一般的であり、個別のユーザに適量を提案することは困難であった。本開示は、個別のユーザのエクオール摂取量を改善するための技術を提供することを目的とする。
【課題を解決するための手段】
【0005】
本開示は、以下の態様により実現することができる。
(態様1)
ユーザのエクオール産生量の予測値と、所定の目標量とを用いて、前記ユーザのエクオール不足量を算出することと、
算出されたエクオール不足量と、前記ユーザのエクオール産生能の程度を表す指標値とに基づいて、前記ユーザが摂取すべきエクオール及び/又はイソフラボンの推奨量を算出することと、
算出された推奨量を出力することと、
を実行する1以上のコンピュータを含む推奨量出力システム。
(態様2)
前記エクオール産生量の予測値は、前記ユーザのエクオール排出量を用いて予測される
態様1に記載の推奨量出力システム。
(態様3)
前記エクオール産生量の予測値は、前記ユーザのウェアラブル端末から取得されるバイタルデータを用いて予測される
態様1又は2に記載の推奨量出力システム。
なお、態様2を引用する場合、ユーザのエクオール産生量は、バイタルデータとエクオール産生量との関係を予測するためのモデル作成のために用いられる。
(態様4)
前記バイタルデータは、前記ユーザの心電図、心拍数、血中酸素濃度、睡眠の質を表す指標、体温、発汗量及び汗の成分の少なくとも何れかを含む
態様3に記載の推奨量出力システム。
(態様5)
前記指標値は、前記ユーザが所定期間以上、食事によるイソフラボンの摂取を控え、且
つ所定量のイソフラボン含有サプリメントを摂取してから所定時間経過後のエクオール排出量又は血中濃度に応じた値である
態様1から4の何れか一つに記載の推奨量出力システム。
(態様6)
前記エクオール産生量の予測値は、
前記ユーザが所定期間、食事によるイソフラボンの摂取を控えた後の前記バイタルデータ及びエクオール排出量と、
前記ユーザが所定期間、食事によるイソフラボンの摂取を控え、且つ所定量のイソフラボン含有サプリメントを摂取した後の前記バイタルデータ及びエクオール排出量と、
の関係を学習した予測モデルを用いて予測される
態様3又は4に記載の推奨量出力システム。
(態様7)
前記イソフラボンの推奨量を前記ユーザが摂取したことを示す情報を受信した後に算出される摂取後のエクオール不足量が所定の条件を満たす場合、前記目標量と摂取後のエクオール不足量との関係に基づいて、前記予測モデル、又は前記不足量若しくは前記推奨量の補正係数を修正する
態様6に記載の推奨量出力システム。
(態様8)
ユーザのエクオール産生量の予測値と、所定の目標量とを用いて、前記ユーザのエクオール不足量を算出することと、
算出されたエクオール不足量と、前記ユーザのエクオール産生能の程度を表す指標値とに基づいて、前記ユーザが摂取すべきエクオール及び/又はイソフラボンの推奨量を算出することと、
算出された推奨量を出力することと、
を1以上のコンピュータが実行する推奨量出力方法。
(態様9)
前記指標値は、前記ユーザが所定期間以上、食事によるイソフラボンの摂取を控え、且つ所定量のイソフラボン含有サプリメントを摂取してから所定時間経過後のエクオール排出量又は血中濃度に応じた値である
態様8に記載の推奨量出力方法。
(態様10)
ユーザのエクオール産生量の予測値と、所定の目標量とを用いて、前記ユーザのエクオール不足量を算出することと、
算出されたエクオール不足量と、前記ユーザのエクオール産生能の程度を表す指標値とに基づいて、前記ユーザが摂取すべきエクオール及び/又はイソフラボンの推奨量を算出することと、
算出された推奨量を出力することと、
を1以上のコンピュータに実行させるためのプログラム。
(態様11)
前記指標値は、前記ユーザが所定期間以上、食事によるイソフラボンの摂取を控え、且つ所定量のイソフラボン含有サプリメントを摂取してから所定時間経過後のエクオール排出量又は血中濃度に応じた値である
態様10に記載のプログラム。
【0006】
なお、課題を解決するための手段の内容は、コンピュータ等の装置若しくは複数の装置を含むシステム、1以上のコンピュータが実行する方法、又は1以上のコンピュータに実行させるプログラムとして提供することができる。なお、プログラムを保持する記録媒体を提供するようにしてもよい。
【発明の効果】
【0007】
開示の技術によれば、個別のユーザのエクオール摂取量を改善するための技術を提供することができる。
【図面の簡単な説明】
【0008】
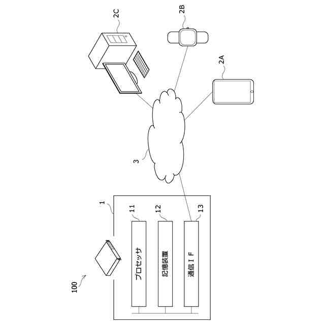
図1は、本実施形態に係るシステムの一例を表す図である。
図2は、第1の実施形態の概略を説明するための図である。
図3は、イソフラボンの摂取量とエクオールの産生量との関係を説明するための図である。
図4は、第1の実施形態に係る事前処理の一例を示す処理フロー図である。
図5は、第1の実施形態に係る推奨量出力処理の一例を表す処理フロー図である。
図6は、第1の実施形態の概略を説明するための図である。
図7は、第2の実施形態に係る事前処理の一例を示す処理フロー図である。
図8は、第2の実施形態に係る推奨量出力処理の一例を表す処理フロー図である。
図9は、第2の実施形態に係る推奨量出力処理の一例を表す処理フロー図である。
図10は、第2の実施形態を説明するための図である。
【発明を実施するための形態】
【0009】
以下、図面を参照しつつ実施形態について説明する。
【0010】
<実施形態1>
図1は、本実施形態に係るシステムの一例を表す図である。システム100は、サーバ1と、端末2(2A、2B、2C)とを含む。サーバ1は、ユーザについてのエクオールの不足量を推定すると共に、不足量及びユーザのエクオール産生能に応じて、イソフラボン及びエクオールの少なくとも何れかの摂取を推奨する処理を行う。端末2は、例えば、摂取すべき成分(すなわち、イソフラボン及びエクオールの少なくとも何れか)及び推奨量の提案を受ける対象のユーザが所持するコンピュータである。また、端末2は、排泄物中のエクオール量(以下「エクオール排出量」とする)の測定をユーザが依頼する検査機関に設けられるコンピュータを含んでいてもよい。サーバ1は、端末2を介してユーザのエクオール排出量を収集したり、端末2へ、摂取すべき成分の推奨量を出力したりする。また、サーバ1と端末2とは、ネットワーク3を介して通信可能に接続されている。ネットワーク3は、例えばIP(Internet Protocol)ネットワークを含み、ネットワーク3
に接続された装置は所定の通信プロトコルに基づいて通信を行うことができる。ネットワーク3の一部は、電話網(固定電話網又は移動体通信網)、アドホック・ネットワーク(ad hoc network)、イントラネット、VPN(Virtual Private Network)、LAN(Local Area Network)、無線LAN(Wireless LAN)、WAN(Wide Area Network)、インターネットであってもよい。
(【0011】以降は省略されています)
特許ウォッチbot のツイートを見る
この特許をJ-PlatPat(特許庁公式サイト)で参照する
関連特許
個人
医療のAI化
2か月前
個人
支援システム
6か月前
個人
管理装置
5か月前
個人
対話システム
5か月前
個人
通知ぬいぐるみAIシステム
2か月前
キラル株式会社
ヘルスケアシステム
1か月前
キラル株式会社
ヘルスケアシステム
1か月前
株式会社タカゾノ
薬剤秤量装置
4か月前
株式会社タカゾノ
薬剤秤量装置
4か月前
株式会社タカゾノ
薬剤秤量装置
4か月前
キヤノン株式会社
情報処理装置
6日前
株式会社タカゾノ
薬剤秤量装置
4か月前
株式会社タカゾノ
薬剤秤量装置
4か月前
株式会社タカゾノ
薬剤秤量装置
5か月前
株式会社タカゾノ
薬剤秤量装置
27日前
株式会社リコー
投薬管理システム
2か月前
TOTO株式会社
健康管理システム
1か月前
ゾーン株式会社
コンピュータシステム
6か月前
個人
診療の管理装置及び診療システム
3か月前
株式会社M-INT
情報処理システム
7か月前
株式会社ケアコム
看護必要度分析装置
6日前
株式会社CureApp
プログラム
4か月前
株式会社サンクスネット
情報提供システム
6か月前
株式会社ミラボ
情報処理装置、及びプログラム
4か月前
株式会社 137
健康観察管理システム
6か月前
株式会社イシダ
受付端末装置
28日前
株式会社ユニオン
健康関連情報管理装置
7日前
合同会社フォース
オンライン診療システム
7か月前
ギジン株式会社
情報分析装置および情報分析方法
14日前
歯っぴー株式会社
口内状態の画像診断方法
3か月前
大和ハウス工業株式会社
服薬推定システム
1か月前
株式会社タカゾノ
薬剤秤量装置及び調剤システム
5か月前
西川株式会社
サービス出力システム
6か月前
キラル株式会社
プログラムの提供システムおよびその方法
1か月前
株式会社エフアンドエフ
在宅健康チェックシステム
6か月前
株式会社サンクスネット
健康医療情報管理システム
3か月前
続きを見る
他の特許を見る