TOP
|
特許
|
意匠
|
商標
特許ウォッチ
Twitter
他の特許を見る
10個以上の画像は省略されています。
公開番号
2025163582
公報種別
公開特許公報(A)
公開日
2025-10-29
出願番号
2024066993
出願日
2024-04-17
発明の名称
アオリ開閉機構
出願人
シンフォニアテクノロジー株式会社
代理人
個人
主分類
B62D
33/027 20060101AFI20251022BHJP(鉄道以外の路面車両)
要約
【課題】電動アクチュエータが動作不能となった場合でも、手動に切り替えて人手によるアオリの開閉操作を少ない負荷で行うことができるアオリ開閉装置を提供する。
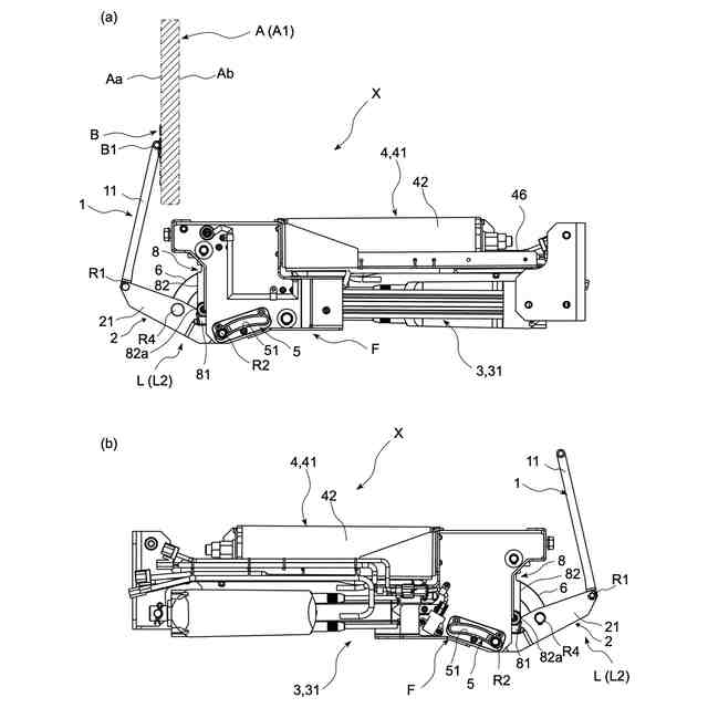
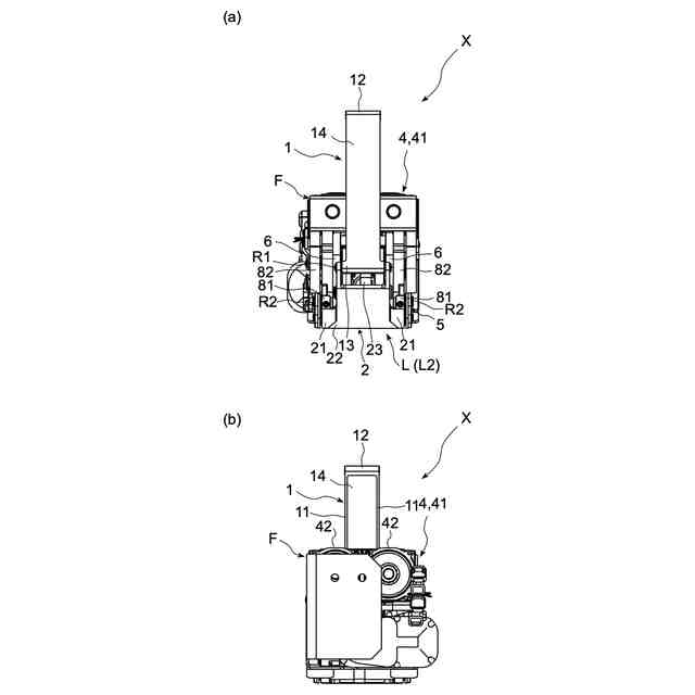
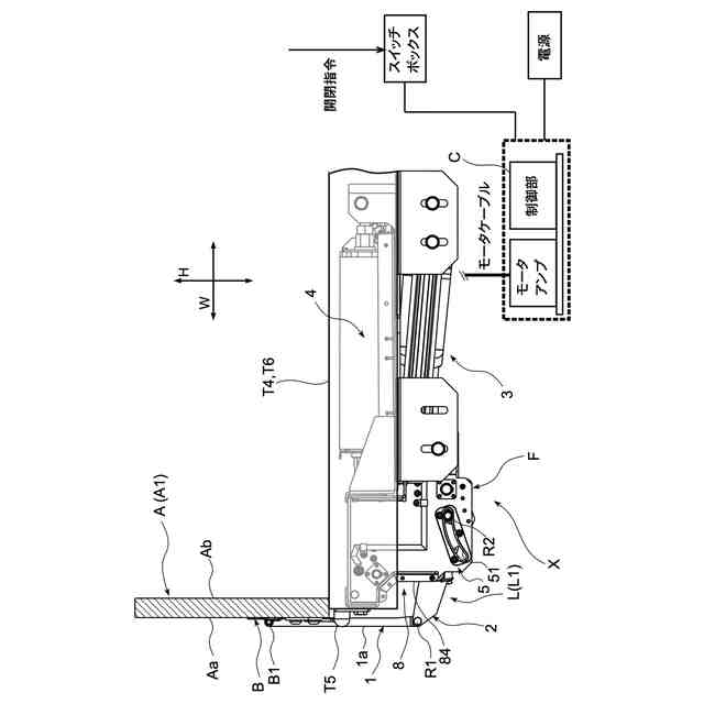
【解決手段】アオリAの開閉動作を支持するリンク機構Lと、リンク機構Lを荷台T1の下方空間において駆動する電動アクチュエータ31を備えた駆動部3と、駆動部3による駆動力を補助する機械式の補助駆動部4とを有するアオリ開閉装置Xにおいて、リンク機構Lを電動アクチュエータ31と補助駆動部4とにそれぞれ個別に接続するとともに、リンク機構Lと電動アクチュエータ31との接続箇所を選択的に接続又は解除することによってリンク機構Lに対する駆動力を切り替える電動/手動切替部Kを備えた構成とした。
【選択図】図10
特許請求の範囲
【請求項1】
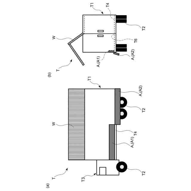
貨物車両等の車両の荷台に設けられたアオリを自動開閉させるアオリ開閉装置であって、
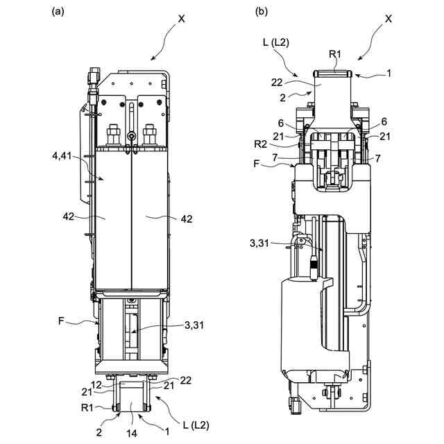
前記アオリの開閉動作を支持するリンク機構と、当該リンク機構を前記荷台の下方空間において駆動する電動アクチュエータを備えた駆動部と、当該駆動部による駆動力を補助する機械式の補助駆動部とを有し、
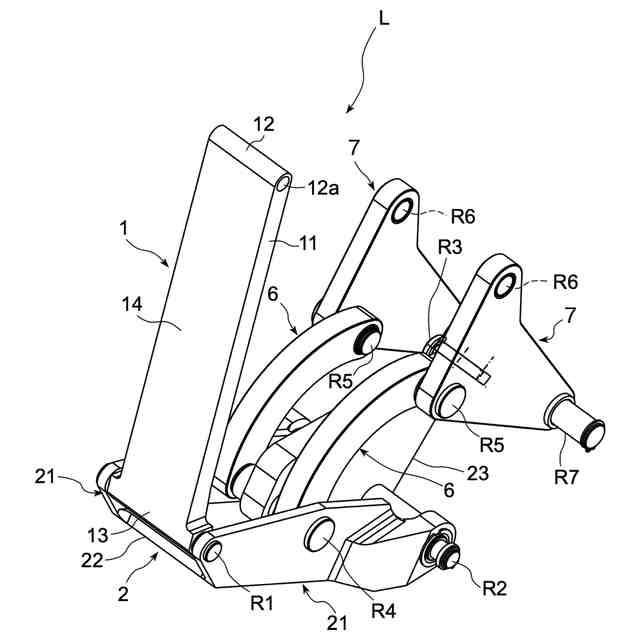
前記リンク機構を前記電動アクチュエータと前記補助駆動部とにそれぞれ個別に接続するとともに、前記リンク機構と前記電動アクチュエータとの接続箇所を選択的に接続又は解除することによって前記リンク機構に対する駆動力を切り替える電動/手動切替部を備えていることを特徴とするアオリ開閉装置。
続きを表示(約 240 文字)
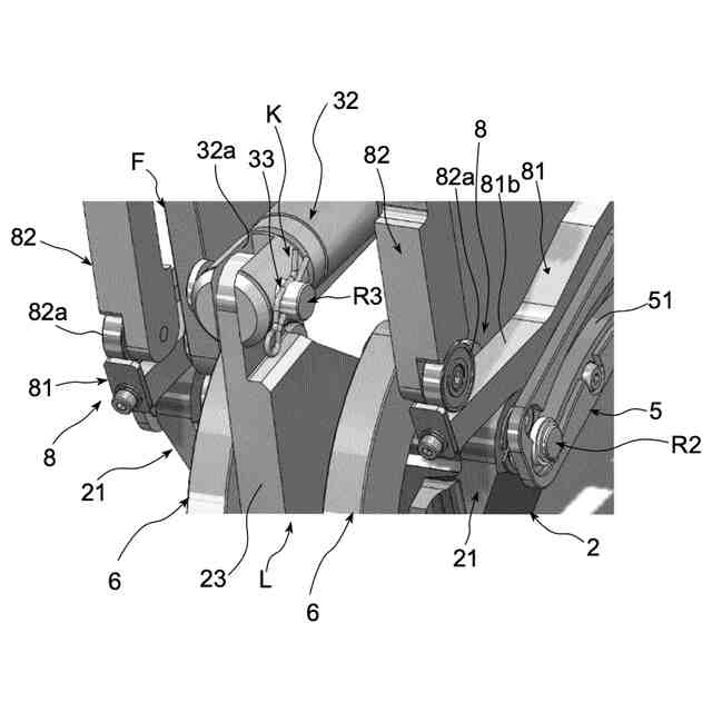
【請求項2】
前記電動/手動切替部を、前記リンク機構と前記電動アクチュエータとを手動で挿抜可能なピンで枢着することにより接続した構成としている請求項1に記載のアオリ開閉装置。
【請求項3】
前記ピンに対して弾性係合による手動での着脱操作が可能な抜け止め部材を設けている請求項2に記載のアオリ開閉装置。
【請求項4】
前記補助駆動部を、弾性力を前記リンク機構に付与する弾性部材を備えたものとしている請求項1乃至3の何れかに記載のアオリ開閉装置。
発明の詳細な説明
【技術分野】
【0001】
本発明は、トラック等の貨物車両の荷台に設けられるアオリを開閉するアオリ開閉機構に関する。
続きを表示(約 2,100 文字)
【背景技術】
【0002】
日本のGDP約5%を占める運輸業の中において、運輸業の約6割超を占める市場をもつ物流業界は環境変化により拡大しており、今後も大きな成長が見込まれる。一方で、物流業界において、トラック運転手の人手不足対策、安全性向上を図るべく、トラック荷役作業の自動化が求められている。
【0003】
従来、アオリの開閉動作は作業者が手動開閉補助装置によるアシストを受けながら自身の力で行っていた(例えば、特許文献1参照)。しかしながら、手動開閉補助装置によるアシストを受けながらアオリの開閉動作をする場合、アオリを持ち上げる(開状態から閉状態に切り替える)作業には一定以上の力が必要であり、作業者に負担を強いるものであった。また、従来の手動開閉補助装置に電動機構を追加してアオリを自動開閉する機構を実現しようとした場合であっても、閉状態にあるアオリを開状態に動作させる際に、従来の手動開閉補助装置の構成上、アオリが急に倒れ出す(開き始める)事態になり、アオリのスムーズな開閉動作を確保することは困難である。また、現状において運用されている多くのトラックに搭載されている電動式のアオリ開閉装置は、直流モータの回転力によってロッドの進退に合わせて駆動アームが回転するのに伴って電動アクチュエータの角度を変化させつつアオリを開閉するように構成したものである(特許文献2参照)。
【0004】
また、トラックの側方へ飛び出した部分がある場合にはその飛び出した部分が車幅の広さを規定することになるため、アオリ開閉機構が荷台よりも側方に飛び出した形態で配置すると、飛び出した分だけ荷台の幅が小さくなり、それに伴い荷台の大きさが小さくなり、積載量が下がることになる。したがって、従来のアオリ手動開閉補助装置はトラックの側方から飛び出さないように構成されている。そこで、本出願人は、従来と同様のサイズでアオリを自動で開閉することができ、特にアオリが急に開き始める事態を防止・抑制して安全性を高め、円滑でスムーズなアオリの開閉動作を実現可能なアオリ開閉装置を開発してきている(特許文献3参照)。
【先行技術文献】
【特許文献】
【0005】
特開平11-291956公報
特開平10-29565公報
特開2024-015814公報
【発明の概要】
【発明が解決しようとする課題】
【0006】
電動化されたアオリ開閉装置において、特許文献2に記載の構成では、電動アクチュエータが故障した場合、アオリの開閉操作を全く行うことができなくなるという問題があり、電動アクチュエータが動作しない状態でアオリを人手で開閉しようとしても、電気的又は機械的なアシストがないため、アオリを持ち上げる等の人手での作業に大きな力が必要となっていた。
【0007】
特許文献3に記載のアオリ開閉装置は、アオリの開閉動作を支持するリンク機構を駆動するための機構として、駆動モータの回転力を動力伝達機構(例えば、固定軸や駆動モータの軸方向上に設置したスプロケットやチェーン等による機構)を介して固定軸を回動させる電動アクチュエータと、アオリの開閉動作に対して補助動力を付与する補助動力バネ機構を備えているが、電動アクチュエータが動作不能となった場合の想定がなされておらず、補助動力バネ機構の詳細も開示されていない。
【0008】
本発明は、このような課題に着目してなされたものであって、駆動部として電動アクチュエータを備えたアオリ開閉装置において、電動アクチュエータが故障等で動作不能となった場合でも手動操作に切り替えることができ、人手でのアオリ開閉操作に対して機械式の補助駆動力によりアシストすることができるアオリ開閉装置の提供を目的とするものである。
【課題を解決するための手段】
【0009】
すなわち、本発明は、貨物車両等の車両の荷台に設けられたアオリを自動開閉させるアオリ開閉機構に関するものである。荷台を有する車両としては、トラック、トレーラ、ダンプカー等を挙げることができる。また、アオリは、ゲートとも称されるものであり、具体例として、荷台の側面を規定する側アオリ(サイドゲート)、荷台の後面を規定する後アオリ(テールゲート)を挙げることができる。
【0010】
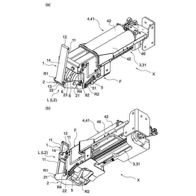
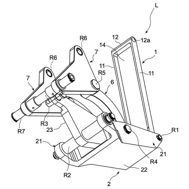
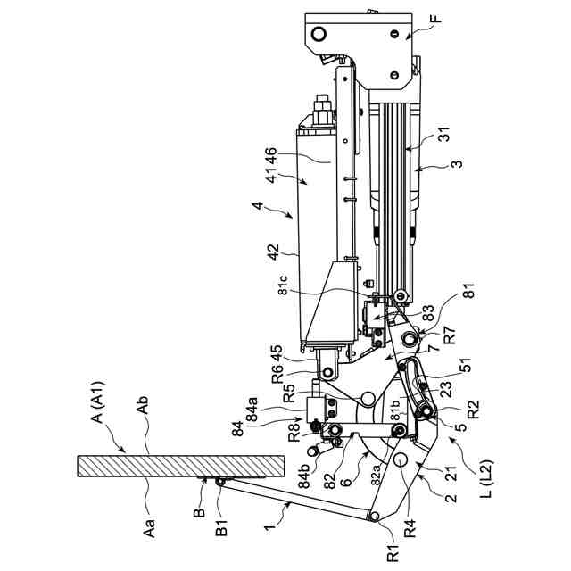
そして、本発明に係るアオリ開閉装置は、アオリの開閉動作を支持するリンク機構と、このリンク機構を荷台の下方空間において駆動する電動アクチュエータを備えた駆動部と、駆動部による駆動力を補助する機械式の補助駆動部とを有しており、リンク機構を電動アクチュエータと補助駆動部とにそれぞれ個別に接続するとともに、リンク機構と電動アクチュエータとの接続箇所を選択的に接続又は解除することによってリンク機構に対する駆動力を切り替える電動/手動切替部を備えていることを特徴とするものである。
(【0011】以降は省略されています)
この特許をJ-PlatPat(特許庁公式サイト)で参照する
関連特許
個人
カート
4か月前
個人
走行装置
5か月前
個人
台車
今日
個人
三輪バイク
28日前
個人
乗り物
6か月前
個人
電動走行車両
5か月前
個人
電動モビリティ
8か月前
個人
折り畳み自転車
11か月前
個人
発音装置
8か月前
個人
閂式ハンドル錠
5か月前
個人
自転車用歩数計
1か月前
個人
駐輪設備
2か月前
個人
ボギー・フレーム
3か月前
個人
三輪電動車両
1か月前
個人
ルーフ付きトライク
2か月前
個人
ルーフ付きトライク
3か月前
個人
自由方向乗車自転車
8か月前
個人
“zen-go.”
3か月前
個人
体重掛けリフト台車
12か月前
個人
パワーアシスト自転車
3か月前
個人
キャンピングトライク
10か月前
井関農機株式会社
作業車両
21日前
個人
車の室内高温防止屋根
14日前
個人
ステアリングの操向部材
10か月前
株式会社三五
リアサブフレーム
11か月前
株式会社豊田自動織機
産業車両
5か月前
個人
フロントフットブレーキ。
5か月前
豊田鉄工株式会社
小型車両
4か月前
学校法人千葉工業大学
車両
11か月前
個人
ホイールハブ駆動構造
5か月前
学校法人千葉工業大学
車両
11か月前
個人
乗用自動車のディフューザー
1か月前
学校法人千葉工業大学
車両
11か月前
個人
折り畳み作業机搭載の変型台車
2か月前
個人
自転車の駐輪場システム
7か月前
個人
走行車両等の粉塵飛散防止装置
5か月前
続きを見る
他の特許を見る