TOP
|
特許
|
意匠
|
商標
特許ウォッチ
Twitter
他の特許を見る
10個以上の画像は省略されています。
公開番号
2025163581
公報種別
公開特許公報(A)
公開日
2025-10-29
出願番号
2024066992
出願日
2024-04-17
発明の名称
アオリ開閉機構
出願人
シンフォニアテクノロジー株式会社
代理人
個人
主分類
B62D
33/027 20060101AFI20251022BHJP(鉄道以外の路面車両)
要約
【課題】車両を走行可能とするためにアオリから外方へ突出する部品がなく、走行時の振動でも揺れやガタつきがないリンク機構を備えた自動開閉式のアオリ開閉装置を提供する。
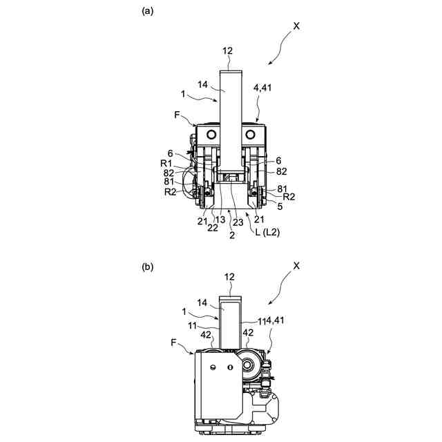
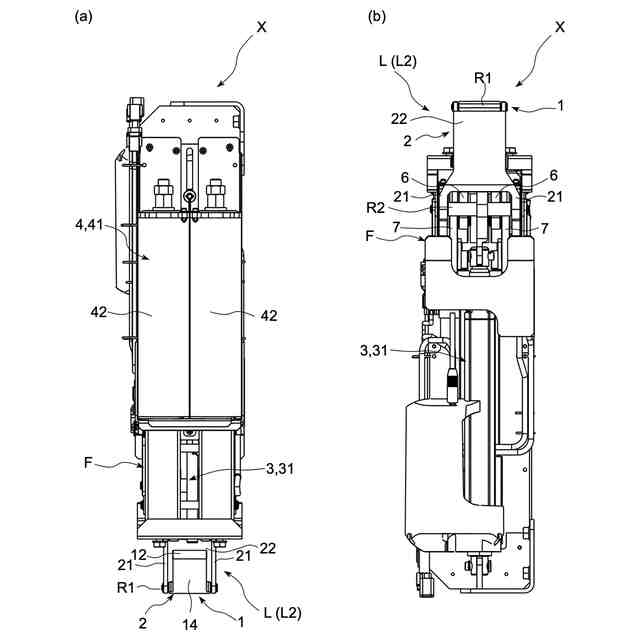
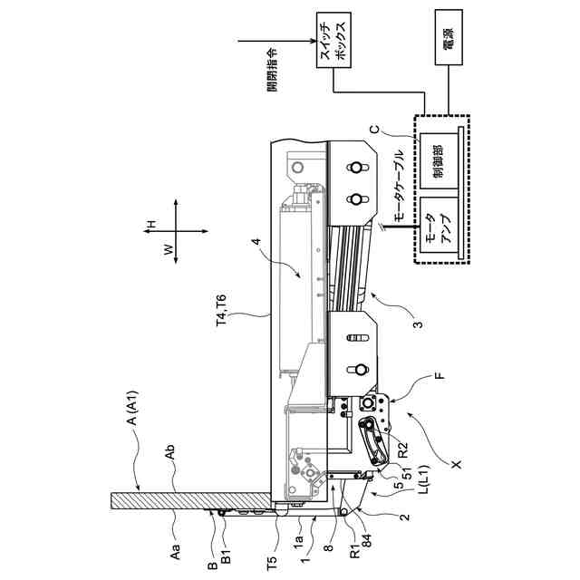
【解決手段】アオリAの開閉動作を支持するリンク機構Lと、リンク機構Lを荷台T1の下方空間において内外方向へスライド移動させる駆動部3とを有するアオリ開閉装置Xにおいて、リンク機構Lに、アオリAに取り付けられるブラケットBと、上端部をブラケットBのヒンジ軸B1に枢着し且つアオリAが閉状態(A1)にある場合にアオリAの起立方向と略平行に起立する第1アーム1と、荷台T1の下方空間において荷台T1の内方と外方との間をスライド移動可能に設けられ外方端部を第1アーム1の下端部に直接枢着した第2アーム2とを設け、駆動部3により第2アーム2をスライド移動させる構成とした
【選択図】図4
特許請求の範囲
【請求項1】
貨物車両等の車両の荷台に設けられたアオリを自動開閉させるアオリ開閉装置であって、
前記アオリの開閉動作を支持するリンク機構と、当該リンク機構を前記荷台の下方空間において内外方向へスライド移動させる駆動部とを有し、
前記リンク機構に、前記アオリに取り付けられるブラケットと、上端部を前記ブラケットのヒンジ軸に枢着し且つ前記アオリが閉状態にある場合に当該アオリの起立方向と略平行に起立する第1アームと、前記荷台の下方空間において当該荷台の内方と外方との間をスライド移動可能に設けられ外方端部を前記第1アームの下端部に枢着した第2アームとを設け、
前記駆動部により前記第2アームをスライド移動させる構成としたものであることを特徴とするアオリ開閉装置。
続きを表示(約 690 文字)
【請求項2】
前記荷台に固定したフレーム部に当該荷台の内方から外方に向けて延びるスライド溝を有するスライドガイドを設け、前記第2アームに設けたスライド軸を前記スライド溝に挿入するとともに、前記第2アームの内方端部を前記駆動部に枢着した構成を有している請求項1に記載のアオリ開閉装置。
【請求項3】
前記第1アーム及び前記第2アームが前記アオリよりも外方へ突出した状態で当該アオリを開閉可能とする前記リンク機構の展開姿勢を維持し、且つ前記閉状態にある前記アオリよりも前記第1アーム及び前記第2アームが突出しない状態である前記リンク機構の収納姿勢とする際には前記展開姿勢を解除するロック機構を備え、
前記ロック機構に、前記第2アームが前記展開姿勢となった位置でスライド移動不能に拘束する第1ロック部材と、前記第2アームを拘束した状態に前記第1ロック部材を拘束する前記第2ロック部材と、前記第1ロック部材の拘束状態を解除する第1解除部材と、前記第2ロック部材の拘束状態を解除する第2解除部材とを設けている請求項1又は2に記載のアオリ開閉装置。
【請求項4】
前記第2ロック部材を、上端部が前記フレーム部に枢支されて自重及びバネ力により垂下し、前記第1解除部材と前記第2解除部材を作動させることで前記第2ロック部材の下端部が前記第1ロック部材上に接触する構成としている請求項3に記載のアオリ開閉装置。
【請求項5】
前記第1解除部材及び前記第2解除部材を、解除作動時のみ通電する電気駆動式としている請求項3に記載のアオリ開閉装置。
発明の詳細な説明
【技術分野】
【0001】
本発明は、トラック等の貨物車両の荷台に設けられるアオリを開閉するアオリ開閉機構に関する。
続きを表示(約 2,600 文字)
【背景技術】
【0002】
日本のGDP約5%を占める運輸業の中において、運輸業の約6割超を占める市場をもつ物流業界は環境変化により拡大しており、今後も大きな成長が見込まれる。一方で、物流業界において、トラック運転手の人手不足対策、安全性向上を図るべく、トラック荷役作業の自動化が求められている。
【0003】
従来、アオリの開閉動作は作業者が手動開閉補助装置によるアシストを受けながら自身の力で行っていた(例えば、特許文献1参照)。しかしながら、手動開閉補助装置によるアシストを受けながらアオリの開閉動作をする場合、アオリを持ち上げる(開状態から閉状態に切り替える)作業には一定以上の力が必要であり、作業者に負担を強いるものであった。また、従来の手動開閉補助装置に電動機構を追加してアオリを自動開閉する機構を実現しようとした場合であっても、閉状態にあるアオリを開状態に動作させる際に、従来の手動開閉補助装置の構成上、アオリが急に倒れ出す(開き始める)事態になり、アオリのスムーズな開閉動作を確保することは困難である。また、現状において運用されている多くのトラックに搭載されている電動式のアオリ開閉装置は、直流モータの回転力によってバネ軸の進退に合わせて駆動アームが回転するのに伴って電動アクチュエータの角度を変化させつつアオリを開閉するように構成したものである(特許文献2参照)。
【0004】
また、トラックの側方へ飛び出した部分がある場合にはその飛び出した部分が車幅の広さを規定することになるため、アオリ開閉機構が荷台よりも側方に飛び出した形態で配置すると、飛び出した分だけ荷台の幅が小さくなり、それに伴い荷台の大きさが小さくなり、積載量が下がることになる。したがって、従来のアオリ手動開閉補助装置はトラックの側方から飛び出さないように構成されている。そこで、本出願人は、従来と同様のサイズでアオリを自動で開閉することができ、特にアオリが急に開き始める事態を防止・抑制して安全性を高め、円滑でスムーズなアオリの開閉動作を実現可能なアオリ開閉装置を開発してきている(特許文献3参照)。
【先行技術文献】
【特許文献】
【0005】
特開平11-291956公報
特開平10-29565公報
特開2024-015814公報
【発明の概要】
【発明が解決しようとする課題】
【0006】
特許文献3に記載のアオリ開閉装置は、ブラケットを介して上端部をアオリに取り付けた第1アームと、荷台の下方側において固定軸周りを回動可能に設けられた第2アームとの間に、第1アームの下端部をアオリの外向き面よりも荷台から遠い位置に持ち出す突っ張り姿勢と、第1アームの下端部をブラケットに対する第1アームの枢着点の真下または略真下に位置付ける収納姿勢との間で姿勢変更可能なリンク部を設けるとともに、リンク部を突っ張り姿勢にロックする突っ張り姿勢維持部を設けた構成を有するものである。そして、アオリが閉状態にある場合に第2アームを固定軸周りに回動させることで、リンク部が収納姿勢から突っ張り姿勢に切り替わるように構成し、リンク部が収納姿勢から突っ張り姿勢に切り替わった時点以降に突っ張り姿勢維持部により当該突っ張り姿勢を維持したままアオリを閉状態から開状態に切り替えるように構成されている。
【0007】
このような車両では、車体の規格により、特に車幅においては、アオリを閉状態として第1アーム及び第2アームを収納姿勢とした状態で、アオリを荷台に取り付けるためのヒンジ(トラックヒンジとも称される)よりも車両の外方に飛び出した部分があると、そのトラックは公道を走行することができない可能性がある。特許文献3のアオリ開閉装置では、第1アームと第2アームとの間にリンク部を設けた構成であることから、アオリの閉状態で第1アームが起立姿勢となったときに、第2アームとリンク部とを車両の下方に完全に収納し、且つ第1アームがヒンジから飛び出さない状態となるように設定する必要があり、設計上の複雑さを招来していた。また、リンク部と第1アーム、リンク部と第2アームは何れも互いに軸着により接続した構成であることから、収納姿勢とした状態での車両の走行時における振動で、第1アームが安定せずに微小に揺れ動いて騒音や第1アーム及び第2アームのリンク部との接続部分の故障に繋がってしまうおそれがあり、それを防ぐためには収納姿勢で第1アーム及び第2アームのリンク部との接続部分を固定する機構を追加しなければならないという問題が考えられた。
【0008】
また、特許文献3では、突っ張り姿勢維持部として、突っ張り姿勢にあるリンク部においてロックリンク(第1ロックリンク、第2ロックリンク)同士の枢着点を中心に相互に拡開した第1ロックリンクと第2ロックリンクとの間に嵌入するロックピンを備え、ロックピンによって第1ロックリンクと第2ロックリンクが相互に折り畳まれる方向に移動する構成が採用されているが、構造がやや複雑であり、正確なタイミングでの確実なロック状態を実現することに困難性の問題があった。
【0009】
本発明は、このような課題に着目してなされたものであって、アオリを閉状態としてアームを収納姿勢としたときにアオリを荷台に取り付けるヒンジよりも車両の外方に突出する部分がない構成を採りやすく、車両の走行時にアームが揺れ動かないアオリ開閉装置を提供すること、さらに荷台の下方に収納した状態のアームを適切なタイミングで確実に固定できるロック機構を備えたアオリ開閉装置の提供を目的とするものである。
【課題を解決するための手段】
【0010】
すなわち、本発明は、貨物車両等の車両の荷台に設けられたアオリを自動開閉させるアオリ開閉機構に関するものである。荷台を有する車両としては、トラック、トレーラ、ダンプカー等を挙げることができる。また、アオリは、ゲートとも称されるものであり、具体例として、荷台の側面を規定する側アオリ(サイドゲート)、荷台の後面を規定する後アオリ(テールゲート)を挙げることができる。
(【0011】以降は省略されています)
この特許をJ-PlatPat(特許庁公式サイト)で参照する
関連特許
個人
カート
4か月前
個人
走行装置
5か月前
個人
台車
今日
個人
三輪バイク
28日前
個人
乗り物
6か月前
個人
電動走行車両
5か月前
個人
電動モビリティ
8か月前
個人
折り畳み自転車
11か月前
個人
発音装置
8か月前
個人
閂式ハンドル錠
5か月前
個人
自転車用歩数計
1か月前
個人
駐輪設備
2か月前
個人
ボギー・フレーム
3か月前
個人
三輪電動車両
1か月前
個人
ルーフ付きトライク
2か月前
個人
ルーフ付きトライク
3か月前
個人
自由方向乗車自転車
8か月前
個人
“zen-go.”
3か月前
個人
体重掛けリフト台車
12か月前
個人
パワーアシスト自転車
3か月前
個人
キャンピングトライク
10か月前
井関農機株式会社
作業車両
21日前
個人
車の室内高温防止屋根
14日前
個人
ステアリングの操向部材
10か月前
株式会社三五
リアサブフレーム
11か月前
株式会社豊田自動織機
産業車両
5か月前
個人
フロントフットブレーキ。
5か月前
豊田鉄工株式会社
小型車両
4か月前
学校法人千葉工業大学
車両
11か月前
個人
ホイールハブ駆動構造
5か月前
学校法人千葉工業大学
車両
11か月前
個人
乗用自動車のディフューザー
1か月前
学校法人千葉工業大学
車両
11か月前
個人
折り畳み作業机搭載の変型台車
2か月前
個人
自転車の駐輪場システム
7か月前
個人
走行車両等の粉塵飛散防止装置
5か月前
続きを見る
他の特許を見る