TOP
|
特許
|
意匠
|
商標
特許ウォッチ
Twitter
他の特許を見る
10個以上の画像は省略されています。
公開番号
2025163183
公報種別
公開特許公報(A)
公開日
2025-10-28
出願番号
2025130421,2022199242
出願日
2025-08-05,2014-09-08
発明の名称
マルチチャネル・オーディオ・コンテンツの符号化
出願人
ドルビー・インターナショナル・アーベー
代理人
弁理士法人ITOH
主分類
G10L
19/008 20130101AFI20251021BHJP(楽器;音響)
要約
【課題】レガシー再生システムに好適なダウンミックスの効果的なデコードを許容するマルチチャネル・オーディオ・コンテンツのデコード方法およびエンコード方法を提供する。
【解決手段】N個のチャネルをデコードするデコード方式100は、第一のデコード・モジュールにおいてM個の入力オーディオ信号122をM個のチャネルをもつスピーカー構成での再生に好適なM個のミッド信号126にデコードする段階と、N個のチャネルのうちM個のチャネルを超過するそれぞれについて、M個のミッド信号の一つに対応する追加的な入力オーディオ信号を受領して入力オーディオ信号及びその対応するミッド信号をデコードし、スピーカー構成のN個のチャネルのうちの二つでの再生に好適な第一、第二のオーディオ信号を含むステレオ信号を生成する段階と、を含む。
【選択図】図1
特許請求の範囲
【請求項1】
複数のオーディオ信号をデコードする方法であって、当該方法は:
ミッド信号およびサイド信号に基づいてステレオ信号を決定する段階を含み、
前記複数のオーディオ信号は前記ミッド信号および前記サイド信号を含み、
前記ステレオ信号は、あるスピーカー構成の二つのチャネルでの再生に好適な第一のオーディオ信号および第二のオーディオ信号を含み、
前記ステレオ信号は、第一の周波数より下の第一の周波数については、前記ミッド信号および前記サイド信号の重み付けされた逆和差変換を実行することを含む第一のアップミックスに、前記第一の周波数より上の第二の周波数については、前記ミッド信号のアップミックスを含む第二のアップミックスに基づいて決定される、
方法。
続きを表示(約 610 文字)
【請求項2】
前記第一のオーディオ信号は第二の周波数までの第三の周波数に対応するスペクトル・データを含み、当該方法はさらに:
パラメトリック・アップミックスを実行する前に高周波再構成を実行することによって、前記第一のオーディオ信号を前記第二の周波数より上の周波数範囲に拡張することを含む、
請求項1記載の方法。
【請求項3】
プロセッサによって実行されたときに請求項1記載の方法を実行する命令を含んでいる、非一時的なコンピュータ読み取り可能な記憶媒体。
【請求項4】
複数のオーディオ信号をデコードする装置であって、当該装置は:
前記ミッド信号および前記サイド信号に基づいてステレオ信号を決定するプロセッサでを有しており、
前記複数のオーディオ信号は前記ミッド信号および前記サイド信号を含み、
前記ステレオ信号は、あるスピーカー構成の二つのチャネルでの再生に好適な第一のオーディオ信号および第二のオーディオ信号を含み、
前記ステレオ信号は、第一の周波数より下の第一の周波数については、前記ミッド信号および前記サイド信号の重み付けされた逆和差変換を実行することを含む第一のアップミックスに、前記第一の周波数より上の第二の周波数については、前記ミッド信号のアップミックスを含む第二のアップミックスに基づいて決定される、
装置。
発明の詳細な説明
【技術分野】
【0001】
本願の開示は概括的には、マルチチャネル・オーディオ信号の符号化に関する。詳細には、ある数のチャネルをもつスピーカー構成での再生のための複数の入力信号のエンコードおよびデコードのためのエンコーダおよびデコーダに関する。
続きを表示(約 2,800 文字)
【背景技術】
【0002】
マルチチャネル・オーディオ・コンテンツは、ある数のチャネルをもつスピーカー構成に対応する。たとえば、マルチチャネル・オーディオ・コンテンツは五つの前方チャネル、四つのサラウンド・チャネル、四つの天井チャネルおよび低域効果(LFE)チャネルに対応していてもよい。そのようなチャネル構成は5/4/4.1、9.1+4または13.1構成と称されることがある。時に、エンコードされたマルチチャネル・オーディオ・コンテンツを、エンコードされたマルチチャネル・オーディオ・コンテンツより少数のチャネル、すなわちスピーカーをもつスピーカー構成をもつ再生システムで再生することが望ましい。以下では、そのような再生システムはレガシー再生システムと称される。たとえば、エンコードされた13.1オーディオ・コンテンツを、三つの前方チャネル、二つのサラウンド・チャネル、二つの天井チャネルおよびLFEチャネルをもつスピーカー構成で、再生することが望ましいことがありうる。そのようなチャネル構成は3/2/2.1、5.1+2または7.1構成とも称される。
【発明の概要】
【発明が解決しようとする課題】
【0003】
従来技術によれば、もとのマルチチャネル・オーディオ・コンテンツのすべてのチャネルの完全なデコードおよびそれに続くレガシー再生システムのチャネル構成へのダウンミックスが必要とされるであろう。明らかに、そのような構成は、もとのマルチチャネル・オーディオ・コンテンツのすべてのチャネルがデコードされる必要があるので計算効率が悪い。よって、レガシー再生システムのために好適なダウンミックスを直接デコードすることを許容する符号化方式が必要とされている。
【図面の簡単な説明】
【0004】
ここで例示的実施形態について、付属の図面を参照して述べる。
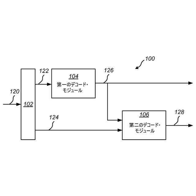
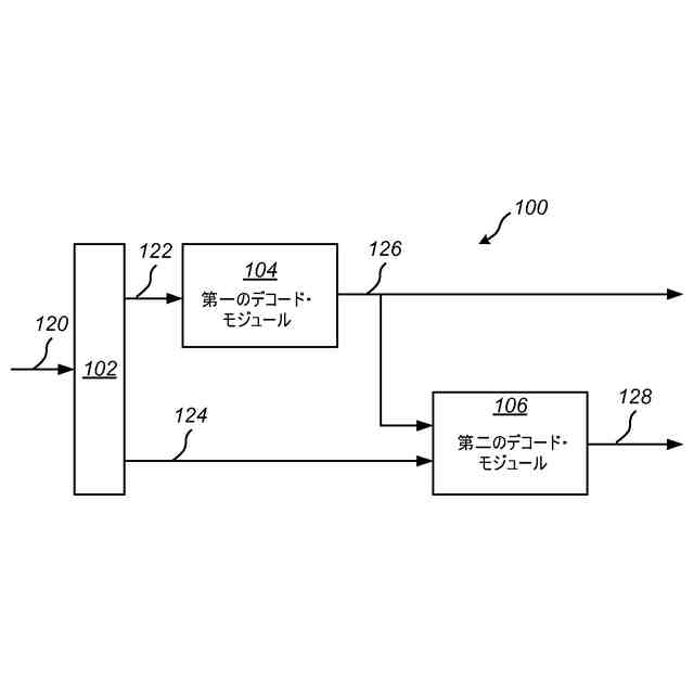
例示的実施形態に基づくデコード方式を示す図である。
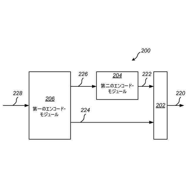
図1のデコード方式に対応するエンコード方式を示す図である。
例示的実施形態に基づくデコーダを示す図である。
例示的実施形態に基づくデコード・モジュールの第一の構成を示す図である。
例示的実施形態に基づくデコード・モジュールの第二の構成を示す図である。
例示的実施形態に基づくデコーダを示す図である。
例示的実施形態に基づくデコーダを示す図である。
図7のデコーダにおいて使用される高周波再構成コンポーネントを示す図である。
例示的実施形態に基づくエンコーダを示す図である。
例示的実施形態に基づくエンコード・モジュールの第一の構成を示す図である。
例示的実施形態に基づくエンコード・モジュールの第二の構成を示す図である。 すべての図面は概略的であり、一般に、本開示を明快にするために必要な部分を示すのみである。一方、他の部分は省略されたり示唆されるだけであったりすることがある。特に断わりのない限り、同様の参照符号は異なる図面における同様の部分を指す。
【発明を実施するための形態】
【0005】
上記に鑑み、レガシー再生システムに好適なダウンミックスの効率的なデコードを許容するマルチチャネル・オーディオ・コンテンツのエンコード/デコードのためのエンコード/デコード方法を提供することが目的である。
【0006】
〈I.概観――デコーダ〉
第一の側面によれば、マルチチャネル・オーディオ・コンテンツをデコードするためのデコード方法、デコーダおよびコンピュータ・プログラム・プロダクトが提供される。
【0007】
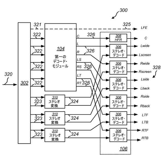
例示的実施形態によれば、N個のチャネルをもつスピーカー構成での再生のための複数の入力オーディオ信号をデコードするデコーダにおける方法であって、前記複数の入力オーディオ信号は少なくともN個のチャネルに対応するエンコードされたマルチチャネル・オーディオ・コンテンツを表わし、当該方法は:
M個の入力オーディオ信号を受領する段階であって、1<M≦N≦2Mである、段階と;
第一のデコード・モジュールにおいて、前記M個の入力オーディオ信号を、M個のチャネルをもつスピーカー構成での再生に好適なM個のミッド信号にデコードする段階と;
前記N個のチャネルのうちM個のチャネルを超過するそれぞれについて、
前記M個のミッド信号の一つに対応する追加的な入力オーディオ信号を受領し、前記追加的な入力オーディオ信号は、サイド信号または前記ミッド信号および重み付けパラメータaと一緒にサイド信号の再構成を許容する相補信号であり;
ステレオ・デコード・モジュールにおいて、前記追加的な入力オーディオ信号およびその対応するミッド信号をデコードして、前記スピーカー構成のN個のチャネルのうちの二つでの再生に好適な第一および第二のオーディオ信号を含むステレオ信号を生成する段階とを含み、
それにより、前記スピーカー構成のN個のチャネルでの再生のために好適なN個のオーディオ信号が生成される、
方法が提供される。
【0008】
上記の方法は、オーディオ・コンテンツがレガシー再生システムで再生されるべきである場合に、デコーダがマルチチャネル・オーディオ・コンテンツのすべてのチャネルをデコードして完全なマルチチャネル・オーディオ・コンテンツのダウンミックスを形成する必要がない点で有利である。
【0009】
より詳細には、Mチャネル・スピーカー構成に対応するオーディオ・コンテンツをデコードするよう設計されているレガシー・デコーダは、単にM個の入力オーディオ信号を使って、これらをMチャネル・スピーカー構成での再生に好適なM個のミッド信号にデコードしてもよい。デコーダ側で、オーディオ・コンテンツのさらなるダウンミックスは必要とされない。実際、レガシー再生スピーカー構成に好適なダウンミックスはエンコーダ側においてすでに用意され、エンコードされていて、M個の入力信号によって表現されている。
【0010】
M個より多いチャネルに対応するオーディオ・コンテンツをデコードするよう設計されているデコーダは、追加的な入力オーディオ信号を受領して、所望されるスピーカー構成に対応する出力チャネルに到達するために、これらを、ステレオ・デコード技法によって前記M個のミッド信号の対応するものと組み合わせてもよい。したがって、提案される方法は、再生のために使われるスピーカー構成に関して柔軟であるという点で有利である。
(【0011】以降は省略されています)
この特許をJ-PlatPat(特許庁公式サイト)で参照する
関連特許
個人
遮音材
12日前
個人
管楽器用リガチャ-
29日前
個人
歌唱補助器具
21日前
横浜ゴム株式会社
音響材
5日前
個人
音声出力装置
12日前
大和ハウス工業株式会社
音低減設備
22日前
DIC株式会社
吸音材及び吸音部品
23日前
NOK株式会社
吸音構造体
14日前
株式会社SinasSP
自動騒音低減装置
1か月前
横浜ゴム株式会社
多層空洞音響材
12日前
矢崎総業株式会社
車両用対話システム
13日前
日本軽金属株式会社
遮音壁
1か月前
カシオ計算機株式会社
発音装置、発音方法及びプログラム
1か月前
株式会社第一興商
カラオケ装置
1か月前
トヨタ自動車株式会社
判定装置
1か月前
株式会社第一興商
カラオケ装置
13日前
シャープ株式会社
電子機器および電子機器の制御方法
1か月前
ブラザー工業株式会社
カラオケ装置及びカラオケプログラム
1か月前
大建工業株式会社
吸音体及び音環境調整構造
1か月前
株式会社JVCケンウッド
収音装置、収音方法、およびプログラム
1か月前
ブラザー工業株式会社
音声録音装置、及び、音声録音用プログラム
1か月前
ブラザー工業株式会社
カラオケ用プログラム、及び、カラオケ装置
1か月前
有限会社ツバサ
エレキギターおよび保護フィルム付きの樹脂プレート
1か月前
有限会社 宮脇工房
モーター挙動音発生装置
21日前
株式会社NTTドコモ
情報処理装置及び情報処理方法
1か月前
株式会社リコー
対話装置、対話システム、対話方法及びプログラム
1か月前
株式会社デンソー
制御装置、制御方法、及び制御プログラム
5日前
株式会社SUBARU
乗物用遮音構造体、及び車両
1か月前
株式会社河合楽器製作所
鍵盤楽器の楽音制御装置
1か月前
株式会社河合楽器製作所
鍵盤楽器の楽音制御方法
1か月前
株式会社河合楽器製作所
鍵盤楽器の楽音制御方法
1か月前
株式会社第一興商
カラオケ装置、カラオケシステム
7日前
本田技研工業株式会社
能動型振動騒音制御装置
1か月前
本田技研工業株式会社
能動型振動騒音制御装置
1か月前
大阪瓦斯株式会社
音声情報出力システムおよび音声情報出力装置
1か月前
本田技研工業株式会社
能動型振動騒音低減装置
1か月前
続きを見る
他の特許を見る