TOP
|
特許
|
意匠
|
商標
特許ウォッチ
Twitter
他の特許を見る
公開番号
2025162478
公報種別
公開特許公報(A)
公開日
2025-10-27
出願番号
2024065818
出願日
2024-04-15
発明の名称
油入変圧器
出願人
株式会社日立産機システム
代理人
青稜弁理士法人
主分類
H01F
27/14 20060101AFI20251020BHJP(基本的電気素子)
要約
【課題】絶縁油の交換を容易とする油入変圧器を実現できる。
【解決手段】
油入変圧器において、変圧器外部から絶縁油より下面にまで延在する油導入管を設ける。
【選択図】 図1
特許請求の範囲
【請求項1】
油入変圧器において、変圧器外部から絶縁油より下面にまで延在する油導入管を有する油入変圧器。
続きを表示(約 380 文字)
【請求項2】
請求項1記載の油入変圧器において、前記油導入管を複数有する油入変圧器。
【請求項3】
請求項1記載の油入変圧器において、前記油導入管の下面は変圧器のコイルより下側に位置する油入変圧器。
【請求項4】
請求項2記載の油入変圧器において、前記油導入管の長さは複数ある油入変圧器。
【請求項5】
請求項2記載の油入変圧器において、前記油導入管の下端は降り曲がり部を有する油入変圧器。
【請求項6】
請求項5記載の油入変圧器において、前記降り曲がり部の方向は、複数の前記油導入管で異なる油入変圧器。
【請求項7】
請求項6記載の油入変圧器において、前記降り曲がり部の方向は、複数の前記油導入管で時計回り、あるいは反時計回りとなるよう配置されている油入変圧器。
発明の詳細な説明
【技術分野】
【0001】
本発明は油入変圧器に関する。
続きを表示(約 980 文字)
【背景技術】
【0002】
変圧器の一形態として、絶縁油を用いた油入変圧器が知られている。特許文献1は、油入変圧器を開示する。
【先行技術文献】
【特許文献】
【0003】
特開2011-138931号公報
【発明の概要】
【発明が解決しようとする課題】
【0004】
油入変圧器の油は、長時間使用により劣化することがある。特に、変圧器は、数十年単位で用いられることも多いため、その使用期間中に絶縁油を交換し、変圧器の性能を維持することが必要となる場合がある。
【0005】
また、将来的に、現在使用している絶縁油より、より性能の優れた絶縁油が開発された場合、絶縁油がまだ使用可能な状態であっても、別の種類の絶縁油に交換するニーズが生じることが想定される。しかし、そのような絶縁油交換に適した変圧器構造の検討は、明確になっていなかった。
【0006】
本発明の目的は、かかる事情に鑑み、絶縁油の交換を容易とする油入変圧器を提供することにある。
【課題を解決するための手段】
【0007】
上記課題を解決するための手段の一例をあげれば、以下のようになる。
油入変圧器において、変圧器外部から絶縁油より下面にまで延在する油導入管を有する油入変圧器。
【発明の効果】
【0008】
絶縁油の交換を容易とする油入変圧器を実現できる。
【0009】
本願発明の更なる手段および更なる効果は、以下明細書全文を通じ明らかとなる。
【図面の簡単な説明】
【0010】
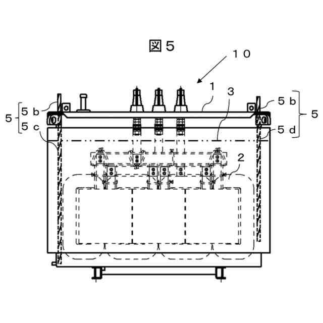
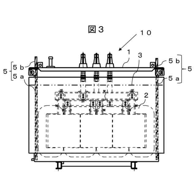
本発明の一実施例での油入変圧器の模式断面図である。
本発明の一実施例での油入変圧器の模式上面図である。
本発明の他の実施例での油入変圧器の模式断面図である。
本発明の他の実施例での油入変圧器の模式上面図である。
本発明の他の実施例での油入変圧器の模式断面図である。
本発明の一実施例での油入変圧器の模式断面図である。
本発明の一実施例での油入変圧器の模式上面図である。
【発明を実施するための形態】
(【0011】以降は省略されています)
この特許をJ-PlatPat(特許庁公式サイト)で参照する
関連特許
東ソー株式会社
絶縁電線
14日前
APB株式会社
蓄電セル
12日前
個人
フレキシブル電気化学素子
26日前
ローム株式会社
半導体装置
1か月前
株式会社東芝
端子台
6日前
ローム株式会社
半導体装置
13日前
ローム株式会社
半導体装置
1か月前
ローム株式会社
半導体装置
28日前
ローム株式会社
半導体装置
1か月前
マクセル株式会社
電源装置
6日前
日新イオン機器株式会社
イオン源
22日前
株式会社ユーシン
操作装置
26日前
ローム株式会社
半導体装置
1か月前
太陽誘電株式会社
コイル部品
26日前
株式会社GSユアサ
蓄電装置
1か月前
個人
半導体パッケージ用ガラス基板
1か月前
株式会社GSユアサ
蓄電設備
26日前
株式会社GSユアサ
蓄電装置
7日前
オムロン株式会社
電磁継電器
27日前
太陽誘電株式会社
全固体電池
1か月前
株式会社ホロン
冷陰極電子源
20日前
株式会社ホロン
冷陰極電子源
1か月前
株式会社GSユアサ
蓄電装置
7日前
株式会社GSユアサ
蓄電設備
26日前
北道電設株式会社
配電具カバー
12日前
トヨタ自動車株式会社
バッテリ
27日前
サクサ株式会社
電池の固定構造
26日前
TDK株式会社
電子部品
1か月前
日本特殊陶業株式会社
保持装置
1か月前
トヨタ自動車株式会社
バッテリ
12日前
トヨタ自動車株式会社
蓄電装置
26日前
日東電工株式会社
積層体
27日前
ノリタケ株式会社
熱伝導シート
26日前
トヨタ自動車株式会社
蓄電装置
7日前
日新イオン機器株式会社
基板処理装置
9日前
日本特殊陶業株式会社
保持装置
1か月前
続きを見る
他の特許を見る